Альтернативные источники энергии (Грани нетрадиционной энергетики.)
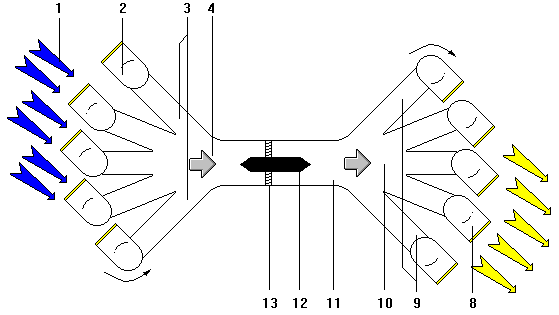
Цифрами обозначены: 1 - направление ветра; 2 - воздухозаборное устройство; 3 - входные воздуховоды; 4 - конфузор; 5 - серводвигатель поворота; 6 - поворотный круг; 7 - диаметр ВУ; в - устройство сброса; 9 - отводящие воздуховоды; 10 -диффузор; 11 - рабочий канал; 12 - электрогенератор, 13 - турбина.
Но из полученной формулы виден и другой порок такого "лобовного" подхода: ОТ связана с площадью 3 прямо пропорционально, линейно. Зато влияние скорости V гораздо сильнее - зависимость тут уже кубическая. Насколько важна эта разница, поясним на примере.
Допустим, нам удалось каким-то путем удвоить величину V. Понятно, что мощность воздушного потока на лопастях возрастет в 8 раз. И если теперь мы решим сохранить прежнюю мощность установки, то сможем соответственно уменьшить ОП ветрового колеса. Тогда его диаметр (то есть, в первом
приближении, и остальные линейные размеры ВЭУ) сократился бы в Ö 8 = 2,83 раза. Если же сумеем увеличить V втрое, выиграем в габаритах более чем в 5 раз ( Ö27), ит.д.
Что ж, ускорить ветер в принципе нетрудно: нужно загнать его в некое подобие аэродинамической трубы, попросту говоря - в сужающийся канал. В нем, как известно, скорость потока растет обратно пропорционально площади сечения. А общий коэффициент ускорения равен отношению площадей входного и выходного отверстий. Даже для обычных ВЭУ уже разработаны подобные устройства - так называемые конфузоры, или дефлекторы. Смысл их применения в том, что они собирают ветер с гораздо большей площади, чем ОП.
Но почему, ступив на верный путь, конструкторы не пошли по нему дальше? Сделаем входное сечение конфузара переменным - и сразу решим ту, "нерешаемую", проблему - поддержания постоянной скорости потока на лопастях независимо от капризов ветра! Проще всего тут применить поворотное воздухозаборное устройство (ВУ). Легко понять, что его эффективное сечение максимально в направлении "фордевинд" и уменьшается при отклонении в любую сторону. Причем такое ВУ способно ловить ветер со всех румбов, и потому остальные элементы можно сделать неподвижными, да и смонтировать прямо на земле, что гораздо удобнее.
Так родилась у автора конструкция установки, изображенная на схеме (патент РФ М9 1783-144). Главное ее отличие - мощный "ветроускоритель": ряд воздуховодов с полноповоротными ВУ на концах, сходящихся в общий конфузор и далее в рабочий канал. Каких же скоростей достигает там воздушный поток? Ясно, что это зависит от отношения двух величин: суммарного эффективного сечения всех ВУ на входе и сечения рабочего канала - на выходе. Пусть диаметр одного ВУ всего втрое превышает диаметр канала, а площадь соответственно - в девять раз. Тогда, скажем, при пяти ВУ общий коэффициент ускорения равен 45. Правда, мы не учли турбулизацию воздушных потоков в системе и ее общее аэродинамическое сопротивление, но для первичной оценки такой расчет правомерен. А это значит, что самый обычный, умеренный ветер (5 м/с) порождает в канале сверхураган в 225 м/с! Напомним, что по шкале Б офорта ураганным считается ветер с жалкой скоростью -12 м/с .
Выходит, обычное ветровое колесо тут уже не годится: его лопасти просто не выдержат такого напора. Нужна настоящая турбина, с лопатками иной формы, гораздо меньшего размаха и более прочными - короче, типа авиационной. Кстати, подобное устройство намного эффективнее использует аэродинамическую энергию воздушного потока. А здесь к тому же он ограничен стенками рабочего канала, сечение которого почти полностью перекрыто лопатками. В результате общий КПД установки должен заметно возрасти по сравнению с обычной, горизонтально-осевой.
Не забудем только, что аэродинамический поток, вырвавшийся из турбинного канала, надо снова затормозить. Эту обратную задачу выполняет система, зеркально отображающая входную: диффузор ("расширитель") и воздуховоды с устройствами сброса (УС) на концах. Конструкции ВУ и УС опять-таки одинаковы. Единственное отличие - диаметры элементов отводящей системы должны быть больше, чем у их входных аналогов, чтобы обеспечить эффективный перепад давлений.
Скорость потока в турбинном канале регулируется простым вращением ВУ. При слабом ветре воздухозаборники ориентируются "лицом" к нему, а по мере усиления все больше отворачиваются, если это нужно. Устройства сброса, естественно, всегда направлены "спиной" к ветру. Координируют работу всех ВУ и УС микропроцессорные блоки контроля и управления их электроприводами, датчик направления ветра и центральный процессор с зашитой в нем программой. Режим регулирования вполне может быть не плавным, а дискретным, прорывным, что упростит систему управления.
.Но, пожалуй, описанная ВЭУ в целом кажется отнюдь не дешевой. Есть ли смысл городить все эти громоздкие воздуховоды? Что ж, полученная нами формула мощности W позволяет сравнить абсолютные энергетические показатели старого и нового вариантов. Зададимся плотностью воздуха на уровне моря р = 1,2 кг/куб.м и скоростью ветра V = 5 м/с.
Для первого варианта возьмем предельный диаметр ветрового колеса -
-120 м, что дает площадь 3 (ОП) чуть больше 11 000 кв.м. Подставив эти данные в формулу, получим мощность ветрового потока всего 0,8 МВт.
Для новой ВЭУ используем нашу оценку скорости V в рабочем канале (около 200 м/с) и зададимся скромной величиной ОП турбины - 10 кв.м. Аналогичный показатель составит 48 МВт! Энергетическое преимущество настолько явное, что дополнительные затраты (если они вообще понадобятся) должны окупиться.
Разумеется, в обоих вариантах, с учетом различных потерь, электрогенераторы утилизуют далеко не всю аэродинамическую мощность. Но и здесь, как мы убедились, новая ВЭУ должна иметь преимущество - более высокий КПД.
Как показывают простейшие расчеты, стоит поставить несколько лишних ВУ да немного увеличить их диаметр - и мы быстро подойдем к пределу возможностей даже авиационных турбин. То есть данное условие само по себе определяет число и размеры ВУ проектируемой установки вряд ли больше 10. Правда, тут важен и еще один фактор
- среднегодовая скорость ветра в данном районе, его, так сказать, ветрообе-спеченность. Если этот показатель меньше тех же 5 м/с, то для стабильной работы генератора может понадобиться и более 10 воздуховодов. Чтобы оценить целесообразность такого решения, понадобятся, конечно, детальные исследования и расчеты, в том числе экономические. Но даже наши приближенные оценки говорят, что подумать есть над чем .
