Стандарты комитета IEEE 802.хРефераты >> Программирование и компьютеры >> Стандарты комитета IEEE 802.х
Кадр 802.3 является кадром MAС-подуровня, в соответствии со стандартом 802.2 в его поле данных вкладывается кадр подуровня LLC с удаленными флагами начала и конца кадра. Формат кадра LLC был описан выше.
Результирующий кадр 802.3/LLC изображен в левой части рисунка 4. Так как кадр LLC имеет заголовок длиной 3 байта, то максимальный размер поля данных уменьшается до 1497 байт.
Кадр Raw 802.3 (то есть "грубый" вариант 802.3) или же кадр Novell 802.3 это кадр MAC-подуровня стандарта 802.3, но без вложенного кадра подуровня LLC.
Компания Novell долгое время не использовала служебные поля кадра LLC в своей операционной системе NetWare из-за отсутствия необходимости идентифицировать тип информации, вложенной в поле данных - там всегда находился пакет протокола IPX, долгое время бывшего единственным протоколом сетевого уровня в ОС NetWare.
Теперь, когда необходимость идентификации протокола верхнего уровня появилась, компания Novell стала использовать возможность инкапсуляции в кадр MAC-подуровня кадра LLC, то есть использовать стандартные кадры 802.3/LLC. Такой кадр компания обозначает теперь в своих операционных системах как кадр 802.2, хотя он является комбинацией заголовков 802.3 и 802.2.
Кадр стандарта Ethernet DIX, называемый также кадром Ethernet II, похож на кадр Raw 802.3 тем, что он также не использует заголовки подуровня LLC, но отличается тем, что на месте поля длины в нем определено поле типа протокола (поле Type). Это поле предназначено для тех же целей, что и поля DSAP и SSAP кадра LLC - для указания типа протокола верхнего уровня, вложившего свой пакет в поле данных этого кадра. Для кодирования типа протокола используются значения, превышающие значение максимальной длины поля данных, равное 1500, поэтому кадры Ethernet II и 802.3 легко различимы.
Еще одним популярным форматом кадра является кадр Ethernet SNAP (SNAP - SubNetwork Access Protocol, протокол доступа к подсетям). Кадр Ethernet SNAP определен в стандарте 802.2H и представляет собой расширение кадра 802.3 путем введения дополнительного поля идентификатора организации, которое может использоваться для ограничения доступа к сети компьютеров других организаций.
В таблице 2 приведены данные о том, какие типы кадров Ethernet обычно поддерживают реализации популярных протоколов сетевого уровня.
Таблица 2
|
Тип кадра |
Сетевые протоколы |
|
Ethernet_II |
IPX, IP, AppleTalk Phase I |
|
Ethernet 802.3 |
IPX |
|
Ethernet 802.2 |
IPX, FTAM |
|
Ethernet_SNAP |
IPX, IP, AppleTalk Phase II |
4.4. Стандарт 10Base-5
Стандарт 10Base-5 соответствует экспериментальной сети Ethernet фирмы Xerox и может считаться классическим Ethernet'ом. Он использует в качестве среды передачи данных коаксиальный кабель с диаметром центрального медного провода 2,17 мм и внешним диаметром около 10 мм ("толстый" Ethernet).
Кабель используется как моноканал для всех станций. Сегмент кабеля имеет максимальную длину 500 м (без повторителей) и должен иметь на концах согласующие терминаторы сопротивлением 50 Ом, поглощающие распространяющиеся по кабелю сигналы и препятствующие возникновению отраженных сигналов.
Различные компоненты сети, выполненной на толстом коаксиале, показаны на рисунке 5.
Станция должна подключаться к кабелю при помощи приемопередатчика - трансивера. Трансивер устанавливается непосредственно на кабеле и питается от сетевого адаптера компьютера (рис. 6). Трансивер может подсоединяться к кабелю как методом прокалывания, обеспечивающим непосредственный физический контакт, так и бесконтактным методом.
Трансивер соединяется с сетевым адаптером интерфейсным кабелем AUI (Attachment Unit Interface) длиной до 50 м, состоящим из 4 витых пар (адаптер должен иметь разъем AUI). Допускается подключение к одному сегменту не более 100 трансиверов, причем расстояние между подключениями трансиверов не должно быть меньше 2.5 м.
Рис. 5. Компоненты физического уровня сети стандарта 10 Base-5, состоящей из двух сегментов
Рис. 6. Структурная схема сетевого адаптера стандарта 10Base-5 ("толстый" Ethernet )
Трансивер - это часть сетевого адаптера, которая выполняет следующие функции:
- прием и передача данных с кабеля на кабель,
- определение коллизий на кабеле,
- электрическая развязка между кабелем и остальной частью адаптера,
- защита кабеля от некорректной работы адаптера.
Последнюю функцию часто называют контролем болтливости (jabber control). При возникновении неисправностей в адаптере может возникнуть ситуация, когда на кабель будет непрерывно выдаваться последовательность случайных сигналов. Так как кабель - это общая среда для всех станций, то работа сети будет заблокирована одним неисправным адаптером. Чтобы этого не случилось, на выходе передатчика ставится схема, которая проверяет количество битов, переданных в пакете. Если максимальная длина пакета превышается, то эта схема просто отсоединяет выход передатчика от кабеля.
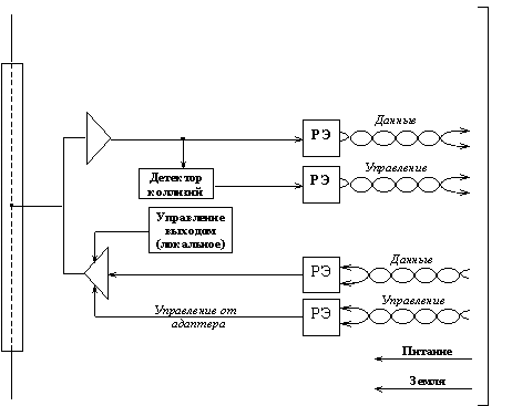
Упрощенная структурная схема трансивера показана на рисунке 7. Детектор коллизий определяет наличие коллизии в коаксиальном кабеле по повышенному уровню постоянной составляющей сигналов. Если постоянная составляющая превышает определенный порог, то значит на кабель работает более чем один передатчик.
К достоинствам стандарта 10Base-5 относятся:
- хорошая защищенность кабеля от внешних воздействий,
- сравнительно большое расстояние между узлами,
- возможность простого перемещения рабочей станции в пределах длины кабеля AUI.
Рис. 7. Структурная схема трансивера
К недостаткам следует отнести:
- высокую стоимость кабеля,
- сложность его прокладки из-за большой жесткости,
- наличие специального инструмента для заделки кабеля,
- при повреждении кабеля или плохом соединении происходит останов работы всей сети,
- необходимо заранее предусмотреть подводку кабеля ко всем возможным местам установки компьютеров.
4.5 Стандарт 10Base-2
Стандарт 10Base-2 использует в качестве передающей среды коаксиальный кабель с диаметром центрального медного провода 0,89 мм и внешним диаметром около 5 мм ("тонкий" Ethernet, волновое сопротивление кабеля 50 Ом). Максимальная длина сегмента без повторителей составляет 185 м, сегмент должен иметь на концах согласующие терминаторы 50 Ом.
