Электрокинетические явления при фильтрации жидкости в пористой среде
Электрокинетический потенциал может при этом не только быть равным нулю, но и приобретать противоположный знак. Это явление наблюдается при значительной адсорбции ионов на поверхности когда общий заряд ионов в плотном слое может оказаться больше заряда поверхности твердого тела.
2. Потенциал и ток течения фильтрации жидкости в пористой среде. Методы их экспериментального исследования
Проницаемость пористой среды определялась для радиальной фильтрации по формуле
(2.1)
где η – вязкость жидкости,
Q – расход жидкости,
D – наружный диаметр керна,
d – внутренний диаметр керна,
h – высота керна,
∆p – перепад давления между входом и выходом пористой среды.
Как следует из теории Гельмгольца-Смолуховского, потенциал протекания описывается формулой
, (2.2)
где ε – диэлектрическая проницаемость жидкости,
∆p – перепад давления,
ζ – электрический потенциал,
δ- удельная электропроводимость,
η – вязкость,
а ток течения
(2.3)
где Q – расход жидкости в единицу времени.
Сравнивая формулы (2.2) и (2.3) можно получить:
(2.4)
Как видно из этих формул, электрокинетические явления в насыщенных пористых средах можно изучать, измеряя потенциал или ток протекания. Для воды измеряется потенциал протекания, а для трансформаторного масла – ток течения.
Уменьшение потенциала ведет к уменьшению электрокинетических сил, противодействующих движению, а, следовательно, расход постепенно увеличивается. Одновременно с этим происходит увеличение вязкости жидкости по квадратичному закону, в соответствии с формулой (2.2) происходит еще большее уменьшение потенциала протекания. Увеличение вязкости ведет к уменьшению расхода.
Однако, по мере увеличения напряженности поля, происходит утолщение двойного электрического слоя и диффузионной части за счет энергии внешнего электрического поля, к увеличению ζ – потенциала, а, следовательно, к увеличению потенциала протекания. Для трансформаторного масла наоборот. Таким образом, можно сделать вывод, что изменение напряженности внешнего электрического поля, перпендикулярного потоку можно управлять расходом жидкости и потенциалом, или током течения, а, следовательно, и свойствами двойного электрического слоя.
3. электрокинетические явления при воздействии внешнего электрического поля
При воздействии электрических полей на двойной электрический слой, показывает, что при движении жидкости вблизи межфазной поверхности в электрическом поле, возникает ряд явлений, из которых можно отметить некоторые моменты. В электролите внешнее электрическое поле вызывает движение ионов. В двойном слое существует местное преобладание ионов одного знака. Вследствие этого под действием внешнего электрического поля движение ионов происходит в одном направлении, что вызывает механическое перемещение жидкости. Сила воздействия электрического поля на двойной электрический слой описывается соотношением:
(3.1)
где ρe – плотность заряда в диффузном слое;
E – напряженность электрического поля.
Профиль скорости при наличии электрического поля существенно отличается от профиля скорости при отсутствии движущихся сил в двойном электрическом слое.
При движении жидкости у границы раздела фаз в двойном слое возникает перенос зарядов - ток переноса. Этот ток компенсируется возвратным током проводимости. Взаимодействие тока с равномерным магнитным полем вызывает дополнительное движение жидкости вдоль направления движения.
При наложении скрещенных электрического и магнитного полей дополнительно возникает движение, обусловленное взаимодействием токов.
![]() |
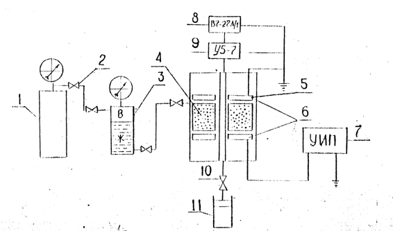
Рис. 2 Схема экспериментальной установки.
Комплекс экспериментов, связанных с исследованием электрокинетических явлений при фильтрации жидкости через пористую среду и воздействия электромагнитных полей на эти явления позволяет проводить разработанная экспериментальная установка (рис.1 – 2).
Установка включает в себя кернодержатель особой конструкции с пористой средой 4 и электродами 6, электрометрический усилитель 9 с цифровым вольтметром 8, баллон с воздухом 1, колонку 3 с исследуемой жидкостью, источник электрического поля 7, мерный цилиндр 11.
![]() |
Рис.3 Кернодержатель для изучения электрокинетических явлений.
герметизация втулок производиться нефтестойкими кольцами 8, установленными в канавках, прижатыми сальниками 9. Для подачи жидкости в пористую среду служит кольцо 7, в котором имеются посадочные места для вентилей.
Для создания внешнего электрического поля в кольцевых выточках втулок установлены электроды 11, от которых отходят выводы 10 для подключения к источнику электрического поля, на корпусе и центральной трубке по окружности просверлена система отверстий, образующих своеобразную сетку, которые служат для равномерной подачи и выхода жидкости в пористой среде и эффективного отбора заряда из потока жидкости.
Размеры электродов 11 выбраны из соображений малости искажения линий напряженности электрического поля, и чтобы уменьшить вероятность пробоя, при больших напряжениях. Все это ведет к уменьшению возникающих нелинейных факторов.


