Исследование рычажного механизма
Цели работы
Целью данной работы является исследование тангенсного механизма. Исследование включает структурный, геометрический, кинематический анализы, кинетостатический расчет и динамическое исследование механизма.
Результат работы должен включать значения динамических характеристик машинного агрегата при заданной нагрузке, то есть динамическую ошибку по скорости и крутящий момент на выходе передаточного механизма.
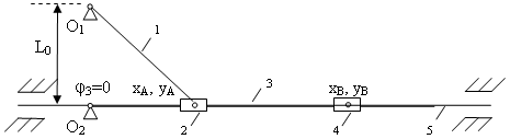
Тангенсный механизм
Структурный анализ механизма
Целью структурного анализа механизма является:
1. Построение графа механизма;
2. Определение степеней подвижности механизма;
3. Выделение входов с утолщением ребер;
4. Выделение однозвенных, одноподвижных групп, присоединенных к стойке;
5. Обозначение единичных контуров с 3-мя тонкими ребрами, либо спаренных с 6-ю тонкими ребрами (для плоского механизма).
Построим граф механизма. Вход
выделим утолщением ребра. К стойке присоединяется однозвенная одноподвижная группа I (звено 1), далее выделяем простейшие структурные группы II и III (по принципу 1 контур – 3 тонких ребра).
– количество ребер
– количество независимых контуров
– степень подвижности механизма (
равно числу входов, т.е. рассматриваемый механизм – нормальный)
Механизм образован следующим образом:
однозвенная одноподвижная группа I и две двухзвенные группы Ассура II и III.
Геометрический анализ механизма
Целью геометрического анализа механизма является:
1. Составление уравнений геометрического анализа (метод замкнутого векторного контура);
2. Решение этих уравнений.
Введем групповые координаты для групп II и III
Определим функции положения звеньев, используя метод замкнутого векторного контура.
Первый контур (0-1-2-3-0):
- уравнение в векторном виде
Построим графики
и
для
Второй контур (0-3-4-5-0)
- уравнение в векторном виде
Построим графики
и
для
Двойной знак перед
указывает на два решения. Этим решениям соответствуют два варианта сборки звеньев 2 и 3 структурной группы II.
Запишем групповые уравнения группы II в неявном виде
Составим якобиан групповых уравнений
Приравняв якобиан нулю, находим значения
, при которых группа II попадает в особые положения.
.
Запишем групповые уравнения группы III в неявном виде
Составим якобиан групповых уравнений
Группа III попадает в особое положение при
Кинематический анализ механизма
Задача кинематического анализа сводится к нахождению производных групповых координат по обобщенным. Для этого вышеприведенные системы дифференцируются по
.
Первый контур (0-1-2-3-0)
Дифференцируем групповые уравнения по
По правилу Крамера
Построим графики
и
для
Находим вторые производные по
, предполагая, что нам известны первые производные
Построим графики
и
для
Второй контур (0-3-4-5-0)
Дифференцируем групповые уравнения по
По правилу Крамера
Построим графики
и
для
