Технология аэродинамической трубы для болидов Формулы 1
Для создания воздуходувки (рис.3.4) - так он ее называл - Циолковский использовал веялку, лопасти которой крутились вручную. К сожалению, в опытах Циолковского скорости оказались недостаточно большими, чтобы результаты можно было применять для нужд авиации. Однако такая воздуходувка весьма пригодна для малых опытов по исследованию силы сопротивления.
В 1902 г. под руководством Н. Е. Жуковского в механической лаборатории Московского университета строится первая в России аэродинамическая труба закрытого типа. Затем организуется специальная лаборатория в Кучине, где ставятся опыты по изучению свойств подъемной силы и ее зависимости от формы испытуемых тел. В 1904 г. под руководством Жуковского был создан первый в мире Аэродинамический институт (ЦАГИ), оказавший огромное влияние на развитие авиации и космонавтики. Проектирование этой плоской аэродинамической трубы занимался студент А.Н.Туполев.
С тех пор построено великое множество АТ, от миниатюрных до гигантских. В первую очередь аэродинамические исследования в АТ проводились разработчиками авиационной техники. Серьезно изучалась обтекаемость водных судов. Как и следовало ожидать, первым наземным транспортным средством, которое продули в АТ, стал поезд. Случилось это в 1899 г. Автомобили начали подвергаться испытаниям в АТ только после Первой мировой войны. В настоящее время комплексами для проведения аэродинамических испытаний обладают все крупнейшие автопроизводители мира.
Самая большая в мире аэродинамическая труба вступила в строй 11 декабря 1987 г. в исследовательском центре Эймса, принадлежащем НАСА, в Маунтин-Вью, штат Калифорния, США. Ее размеры – 12х24 м, в ней установлено 6 моторов мощностью 22500 л.с. каждый, создающих поток воздуха скоростью 555 км/ч.
Рис. 3.4 Исследовательский центр имени Эймса (Моффетт-Филд, Калифорния)
Использование современных компьютерных систем дает новый толчок в развитии технологии АТ. К примеру, если при работе над новым автомобилем макет машины проводит в реальной трубе сотни и тысячи часов, то виртуально на компьютерной модели аналогичную работу можно провести в течении нескольких минут. Виртуальная АТ куда компактней, чем реальная, она целиком помещается внутри компьютера. А скорость получения результатов зависит не от проворства инженеров, а от мощности процессора.
Рис. 3.5 Компьютерная модель автомобиля в виртуальной аэродинамической трубе
Разумеется, на обычном персональном компьютере такие исследования не проведешь. Необходимы высокопроизводительные суперкомпьютеры стоимостью несколько миллионов долларов, и не один, а несколько. Один из таких самых современных комплексов установлен в компании Opel. Вот лишь некоторые параметры системы: 6 компьютеров IBM eServer 690 «Regatta» с процессором 32 «POWER 4» 1,3 GHz, операционная память каждого компьютера – 64 GB, внешняя память емкостью 96 тера байт, вес – 1,2 тонны.
Возможно, когда-нибудь компьютер и сможет заменить реальную АТ, но порой даже специалисты с огромным опытом работы удивляются тем результатам, которые дает испытание трубами. И хотя иногда, основываясь на интуиции, удается создать удачный, с точки зрения аэродинамики, дизайн автомобиля, то без такого сложного устройства, как аэродинамическая труба, вряд ли будет возможным производство автомобилей будущего.
3.2. Конструкции аэродинамических труб.
Аэродинамические трубы по скорости потока разделяются на дозвуковые, трансзвуковые, сверхзвуковые и гиперзвуковые;
по принципу действия - на компрессорные (непрерывного действия), в которых поток воздуха создается специальным компрессором, и баллонные с повышенным давлением;
по компоновке контура - на замкнутые и незамкнутые.
Компрессорные трубы имеют высокий кпд, они удобны в работе, но требуют создания уникальных компрессоров с большими расходами газа и большой мощности. Баллонные аэродинамические трубы по сравнению с компрессорными менее экономичны, поскольку при дросселировании газа часть энергии теряется. Кроме того, продолжительность работы баллонных аэродинамических труб ограничена запасом газа в баллонах и составляет для различных аэродинамических труб от десятков секунд до несколько минут.
Широкое распространение баллонных аэродинамических труб обусловлено тем, что они проще по конструкции, а мощности компрессоров, необходимые для наполнения баллонов, относительно малы. В аэродинамических трубах с замкнутым контуром используется значительная часть кинетической энергии, оставшейся в газовом потоке после его прохождения через рабочую область, что повышает КПД трубы. При этом, однако, приходится увеличивать общие размеры установки.
Простейшие схемы труб малых скоростей (работающие в условиях практической несжимаемости воздуха при скоростях до 50-60 м/сек) приведены на 3.6,
|
|
|
|
а |
б |
Рис. 3.6 Простейшие схемы аэродинамических труб малых скоростей
1 - рабочая часть, 2 - коллектор (а) либо сопло (б) в обоих случаях - каналы, сужающиеся по течению (конфузоры); 3 - диффузор, расширяющийся по течению; 4 - вентилятор с мотором 5; пунктиром показаны предохранительная сетка «С» и в замкнутой трубе - поворотные лопатки «Л».
Труба прямого действия Рис. 3.6,а (не замкнутая) показана с закрытой стенками рабочей частью, а замкнутая труба - с открытой рабочей частью; но первую можно сделать с открытой рабочей частью, если убрать ее стенки, заменив их герметичной камерой (показана пунктиром), а вторую - сделать с закрытой рабочей частью, если вместо свободной границы поставить стенки.
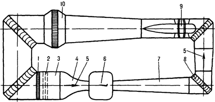
Дозвуковые аэродинамические трубы. Дозвуковая АТ постоянного действия (Рис 3.7) состоит из рабочей части 1, обычно имеющей вид цилиндра с поперечным сечением в форме круга или прямоугольника (иногда эллипса или многоугольника).
Рис. 3.7 Схема дозвуковой компрессорной аэродинамической трубы.
1- хонейкомб 2 - сетки 3 - форкамера 4 - конфузор 5 - направление потока 6 - рабочая часть с моделью 7 - диффузор, 8 - колено с поворотными лопатками, 9 – компрессор,
10 – воздухоохладитель
Рабочая часть А. т. может быть закрытой или открытой, а если необходимо создать А. т. с открытой рабочей частью, статическое давление в которой не равно атмосферному, струю в рабочей части отделяют от атмосферы т. н. камерой Эйфеля (высотной камерой).
