Трансфорамторы постоянного тока
Между токами электродинамической и термической стойкости должны быть следующие соотношения:
для ТТ на номинальные напряжения 330 кВ и выше
IД ≥ 1,8 √2 I1T или IД ≥ 1,8 √2 I2T
для ТТ на номинальные напряжения до 220 кВ
IД ≥ 1,8 √2 I1T или IД ≥ 1,8 √2 I3T
Температура токоведущих частей ТТ при токе термической стойкости не должна превышать: 200 °С для токоведущих частей из алюминия; 250 °С для токоведущих частей из меди и ее сплавов, соприкасающихся с органической изоляцией или маслом, и 300 °С для токоведущих частей из меди и ее сплавов, не соприкасающихся с органической изоляцией или маслом. При определении указанных значений температуры следует исходить из начальных ее значений, соответствующих длительной работе трансформатора тока при номинальном токе.
Значения токов электродинамической и термической стойкости ТТ государственным стандартом не нормируются. Однако они должны соответствовать электродинамической и термической стойкости других аппаратов высокого напряжения, устанавливаемых в одной цепи с трансформатором тока.
7. Механическая нагрузка определяется давлением ветра со скоростью 40 м/с на поверхность трансформатора тока и натяжением подводящих проводов (в горизонтальном направлении в плоскости выводов первичной обмотки), которое должно быть не менее:
500 Н - для ТТ до 35 кВ включительно;
1000 Н - для ТТ на 110—220 кВ;
1500 Н - для ТТ на 330 кВ и выше.
Таковы основные технические параметры и характеристики трансформаторов тока. При проектировании ТТ помимо этих параметров должны учитываться следующие требования к конструкции:
- контактные зажимы выводов первичной обмотки трансформаторов тока должны выполняться с учетом требований ГОСТ 10434—82, а трансформаторов тока наружной установки — с учетом, кроме того, требований ГОСТ 21242—75. Контактные зажимы выводов вторичных обмоток должны выполняться с учетом требований ГОСТ 10434—82. Контактные зажимы вторичных обмоток встроенных трансформаторов тока могут быть расположены на конструктивных элементах аппарата, в который встроен трансформатор тока. В трансформаторах тока наружной установки контактные зажимы выводов вторичной обмотки должны находиться в специальных коробках, надёжно защищающих их от атмосферных осадков.
Обозначение выводных концов первичных и вторичных обмоток согласно ГОСТ 7746—78 должно производиться в соответствии с табл. Л-3. Линейные выводы первичной обмотки обозначаются символами Л1 и Л2, которые должны наноситься так, чтобы при направлений тока в первичной обмотке от Л1 и Ht соответственно к Kt и Л2 вторичный ток проходил по внешней цепи (приборам) от И1 к И2.
- маслонаполненный трансформатор тока должен иметь маслорасширитель (компенсатор) и указатель уровня масла. Вместимость маслорасширителя должна обеспечивать постоянное наличие в нем масла при всех режимах работы трансформатора тока — от отключенного состояния до нормированной токовой нагрузки — и при колебаниях температуры окружающего воздуха, установленных для данного климатического района.
В трансформаторах тока на номинальные напряжения 330 кВ и более обязательно должна быть предусмотрена защита масла от увлажнения, например посредством сильфонов. Целесообразно такую же защиту предусматривать и в трансформаторах тока на меньшие напряжения.
- размеры указателя уровня масла должны быть такими, чтобы обслуживающий персонал мог с безопасного расстояния наблюдать за уровнем масла в трансформаторе тока.
- трансформаторы тока, имеющие массу более 50 кг, должны иметь приспособления для подъема. Если такие приспособления невозможно выполнить, то завод-изготовитель должен указывать в инструкции места захвата трансформаторов тока при подъеме.
- трансформаторы тока, у которых амплитуда напряжения на разомкнутой вторичной обмотке при номинальном токе в первичной обмотке превышает 350 В, должны иметь надпись: «Внимание! Опасно! На разомкнутой обмотке высокое напряжение».
- трансформаторы тока, кроме встроенных, должны иметь контактную площадку для присоединения заземляющего проводника и заземляющий зажим в соответствии с требованиями ГОСТ 21130—75 и ГОСТ 12.2.007.3—75. Возле заземляющего зажима должен быть установлен знак заземления по ГОСТ 21130—75. Указанные требования не распространяются на ТТ с корпусом из литой смолы или пластмассы, не имеющие подлежащих заземлению металлических частей, а также на ТТ, не подлежащие заземлению согласно ГОСТ 12.2.007.3—75.
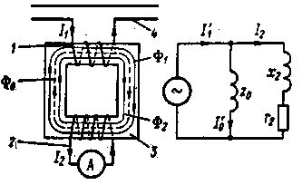
2. ПРИНЦИПИАЛЬНАЯ СХЕМА ТРАНСФОРМАТОРА ТОКА.
Принципиальная схема одноступенчатого электромагнитного трансформатора тока и его схема замещения приведены на рис. 2. Как видно из схемы, основными элементами трансформатора тока участвующими в преобразовании тока, являются первичная 1 и вторичная 2 обмотки, намотанные на один и тот же магнитопровод 3. Первичная обмотка включается последовательно (в рассечку токопровода высокого напряжения 4, т. е. обтекается током линии Ij. Ко вторичной обмотке подключаются измерительные приборы (амперметр, токовая обмотка счетчика) или реле. При работе трансформатора тока вторичная обмотка всегда замкнута на нагрузку.
Рис. 2. Принципиальная схема
трансформатора тока и его схема замещения.
Первичную обмотку совместно с цепью высокого напряжения называют первичной цепью, а внешнюю цепь, получающую измерительную информацию от вторичной обмотки трансформатора тока (т. е. нагрузку и соединительные провода), называют вторичной цепью. Цепь, образуемую вторичной обмоткой и присоединенной к ней вторичной цепью, называют ветвью вторичного тока.
Из принципиальной схемы трансформатора видно, что между первичной и вторичной обмотками не имеется электрической связи. Они изолированы друг от друга на полное рабочее напряжение. Это и позволяет осуществить непосредственное присоединение измерительных приборов или реле ко вторичной обмотке и тем самым исключить воздействие высокого напряжения, приложенного к первичной обмотке, на обслуживающий персонал. Так как обе обмотки наложены на один и тот же магнитопровод, то они являются магнитно-связанными.
На рис. 2 изображены только те элементы трансформатора тока, которые участвуют в преобразовании тока. Конечно, ТТ имеет много других элементов, обеспечивающих требуемый уровень изоляции, защиту от атмосферных воздействий надлежащие монтажные и эксплуатационные характеристики.
Перейдем к рассмотрению принципов действия трансформатора тока (рис. 2). По первичной обмотке 1 трансформатора тока проходит ток I1, называемый первичным током. Он зависит только от параметров первичной цепи. Поэтому при анализе явлений, происходящих в трансформаторе тока, первичный ток можно считать заданной величиной. При прохождении первичного тока по первичной обмотке в магнитопроводе создается переменный магнитный поток Ф1 изменяющийся с той же частотой, что и ток I1. Магнитный поток Ф1 охватывает витки как первичной, так и вторичной обмоток. Пересекая витки вторичной обмотки, магнитный поток Ф1 при своем изменении индуцирует в ней электродвижущую силу. Если вторичная обмотка замкнута на некоторую нагрузку, т. е. к ней присоединена вторичная цепь, то в такой системе «вторичная обмотка — вторичная цепь» под действием индуцируемой э. д. с. будет проходить ток. Этот ток согласно закону Ленца будет иметь направление, противоположное направлению первичного тока Ii. Ток, проходящий по вторичной обмотке, создает в магнитопроводе переменный магнитный поток Ф2, который направлен встречно магнитному потоку Ф1. Вследствие этого магнитный поток в магнитопроводе, вызванный первичным током, будет уменьшаться.
