Энергетическая освещенность
Насыщенность пространства энергией излучения может быть определена еще при помощи среднесферической облученности E4π, которая определяется выражением:
и представляет собой среднюю облученность по поверхности элементарно малой сферы с центром в данной точке пространства.
Необходимо подчеркнуть, что среднесферическая облученность представляет собой чисто расчетное понятие, тогда как облученность является физической реальностью, поддающейся непосредственному измерению. Наконец, очень важно то, что пространственная облученность – это функция точки, а облученность на плоскости – функция точки и направления.
2. Способы, датчики и приборы, используемые для измерения
энергетической освещенности и их принципы работы
Способы. Выделяют 3 основных способа измерения энергетической освещенности:
1. радиометрический способ;
Радиометрический способ основан на простом принципе: при поглощении тепловым приемником потока излучения происходит нагревание вещества. Ввиду этого измерение энергетической освещенности сводится к измерению температуры. Степень повышения температуры определяется в свою очередь путем измерения того или иного эффекта, зависящего от температуры. К ним относится тепловое расширение вещества, изменение его оптического сопротивления, испарение и т. д. Чаще всего эффекты линейно зависят от энергетической освещенности.
2. фотоэлектрический способ;
Фотоэлектрический способ основан на принципе фотоэффекта. Внешний фотоэффект наблюдается у металлов и некоторых полупроводников. При падении излучения на поверхность какая-то доля падающего потока поглощается. Энергия поглощенного фотона передается электрону внутри металла; его кинетическая энергия увеличивается. Если она превысит работу выхода, необходимую для преодоления потенциального барьера, то электрон вырывается из металла. Энергия выходящих электронов линейно зависит от частоты падающего излучения, а их число – от числа падающих квантов.
3. способ измерения энергетической освещенности через световые величины
При измерении энергетических величин приемник должен просуммировать излучения всех длин волн, испускаемые источником. Иначе говоря, он должен быть неселективным в пределах всего диапазона, излучаемого источником. Трудно обеспечить с достаточной точностью неселективность в очень широком диапазоне длин волн. Все измерения обычно производят в атмосфере, которая имеет значительное поглощение в различных участках ультрафиолетовой и инфракрасной областей. Дополнительное осложнение состоит в том, что это поглощение зависит от состояния атмосферы и, следовательно, меняется от случая к случаю. Если учесть все трудности, связанные с измерениями в широком спектральном диапазоне, в некоторых случаях может оказаться, что определение энергетических величин, в частности энергетической освещенности, через световые выгодно как с точки зрения точности, так и по соображениям трудоемкости.
Датчики. Датчиками при измерении энергетической освещенности являются приемники излучения (детекторы). До настоящего времени разработано множество типов приемников излучения. Они отличаются друг от друга механизмом действия, чувствительностью, точностью, селективностью к длине волны излучения, степенью сложности устройства. Для различных экспериментов удобны различные приемники. Широкое распространение получили тепловые приемники – приемники, в которых превращенное излучение превращается в тепло и измеряется вызванное этим изменение температуры. Они особенно удобны для измерений в инфракрасной области спектра. Тепловые приемники с некоторой оговоркой можно считать неселективным.
Виды тепловых приемников:
1. термоэлементы;
2. термостолбики;
3. болометры;
4. приемники, основанные на термическом расширении;
5. терморезисторы.

Термоэлемент представляет собой термопару, один из спаев которой нагревается падающим излучением (рис. 5). При наличии излучения спай нагревается, поэтому в цепи возникает разность потенциалов ΔV. Как правило, для термопары используются проволочки, сильно отличающиеся по своим электрическим свойствам. Для получения высокой чувствительности необходимо устранить все бесполезные потери тепла. С этой целью термопару
помещают в откаченные сосуды, окна которых прозрачны для исследуемой радиации.
Термостолбики представляют собой последовательно соединенные термопары.
Болометры в основном используются в инфракрасной области спектра. Действие их основано на изменении сопротивления тонкого проводящего или полупроводящего слоя при изменении его температуры.
В качестве приемника излучения, основанного на термическом расширении, часто применяют две тонкие полоски твердых веществ, обладающие разными коэффициентами теплового расширения и скрепленные вместе. При нагревании этот двухслойный приемник изгибается, а измерение изгиба не вызывает затруднений.
Терморизисторы – термочувствительные сопротивления из окислов металлов (Ni, Co, Mn).
Широко распространены и применяются фотоэлементы.
Устройство фотоэлемента несложно. Он состоит из вакуумной колбы, на одну из стенок которой нанесен светочувствительный слой K (фотокатод). Внутри колбы помещен анод A. До облучения фотокатода тока в цепи нет, он появляется при облучении. При неизменном значении потока Ф ток i зависит от разности потенциалов между анодом и катодом.
По мере ее увеличения наступает насыщение. Значение энергетической освещенности измеряют обычно в условиях насыщения. Это проще. Величина тока измеряется обычными методами и дает надежную информацию о величине энергетической освещенности. Наличие порога фотоэффекта затрудняет создание фотоэлементов для инфракрасной области спектра.
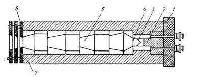
Приборы. Наиболее широкое применение получили радиометры. Радиометр, изображенный на рисунке 7, работает по принципу замещения лучистого нагрева электрическим. Приемная часть радиометра – камера 3 в ви
де конической полости из медной фольги; по ее внутренней поверхности плотно уложена манганиновая нагревательная
обмотка. Камера подвешена внутри массивного латунного корпуса 7 с помощью двенадцати ленточных термоэлементов, горячие спаи которых приклеены к наружной стенке камеры, а холодные прикреплены к внутренней стенке корпуса. Внутренняя поверхность камеры покрыта камфарной чернью. Корпус радиометра, никелированный снаружи и вычерненный внутри, имеет внутренние и наружные диафрагмы 5 и 6, определяющие «угол зрения» прибора и предохраняющие его от паразитного нагрева. Коэффициент поглощения прибора – 0,99. Измерение термо-ЭДС осуществляется потенциометром, снабженным гальваническим усилителем.
