Расчет рекуперативного теплообменника газотурбинного двигателя
ВВЕДЕНИЕ.
1. Цели и задачи курсовой работы.
Различают конструктивный и поверочный тепловой расчет теплообменного аппарата.
Цель конструктивного расчета состоитв определениивеличины рабочей поверхности теплообменника, которая является исходным параметром при его проектировании. При этомдолжно быть известно количество передаваемой теплоты или массовые расходы теплоносителей и изменение ихтемпературы.
Поверочный расчет выполняется для теплообменника с известной величиной поверхности.
Цель теплового расчета состоитв определении температур теплоносителя на выходе из теплообменника и количества передаваемой теплоты.Подробно с основными схемами теплообменных аппаратов,конструкцией и методикой их расчета можно ознакомиться в учебной испециальной литературе[1-4].
В задании на курсовую работу необходимо, руководствуясь данной методикой, произвести конструктивный, тепловой и гидравлический расчеты противоточного теплообменника газотурбинной наземной установки замкнутого цикла. В ходе расчета следует выбрать исходные конструктивные соотношения для компоновки теплообменника. определить рабочую поверхность теплообменника. подобрать тепловую изоляцию и основные размеры, сделать эскизную схему аппарата. Необходимо определить затраты мощности на прокачку холодного и горячего теплоносителей.
Учебные пособия, справочники и литература, использованные в курсовой работе, указаны в библиографическом списке.
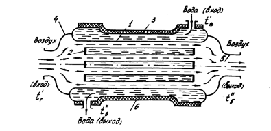
Конструктивная схема теплообменника представленарис.1
![]() |
ТЕПЛОВОЙ РАСЧЕТ ПРОТИВОТОЧНОГО РЕКУПЕРАТИВНОГО ТЕПЛООБМЕННИКА
1.Определение массовых секундных расходов теплоносителей.
![]() |
![]() |
Dtг=t’г-t’’г=250-35=215 0С, для воды Dtв=t’’в-t’в=65-15=50 0С.
2.Определение температурных условий работы теплообменника.
![]() |
где среднелогарифмический температурный напор между теплоносителями
![]() |

Если то
По полученным значениям tср.в и tср. г из табл.1 и 2 (все таблицы см. в прил.2) определяются необходимые теплофизические характеристики теплоносителей:
Pr, m, Cp, n, l, r:
rг=Pг/RTг=8500000/287*387=76.53 кг/м3
3. Определение коэффициентов теплоотдачи
Коэффициент теплоотдачи от охлаждаемого газа к стенке трубки определяют с учетом числа трубок, по которым он протекает, ориентировочно это число может быть найдено по формуле:
(1)
Принимаем количество трубок n=61.
Скорость газа в трубах принимается равной wг=20…60 м/с при р<0.5 МПа. В нашем случае при р>0.5 МПа скорость принимаем wг= 30 м/с. Для воды скорость принимаем wв= 2 м/с, а диаметр трубки dвн= 10 мм. Вычислив число трубок и округлив его согласно табл.3 так, чтобы они заполняли всю трубную решетку, по nпол=61 находим значение действительной скорости газа из формулы (1).
![]() |
![]() |
![]() |
Имеем
![]() |
![]() |










