Магнитные измерения
Флюксметр является прибором менее чувствительным, чем баллистический гальванометр, и поэтому не может применяться для измерения слабых магнитных полей.
При измерении достаточно сильных полей флюксметр имеет ряд преимуществ по сравнению с баллистическим гальванометром. Постоянная флюксметра практически не изменяется при изменении внешнего сопротивления цепи рамки в достаточно широких пределах от нуля до 8—20 Ом Наибольшее допустимое значение этого сопротивления указано на шкале прибора. Показания флюксметра остаются правильными при изменении в широких пределах скорости удаления (или внесения) измерительной рамки из магнитного поля. При работе с баллистическим гальванометром эта операция должна производиться очень быстро (за 0,1—0,2 секунды) Указатель флюксметра, отклонившись на определенный угол, остается в этом положении неподвижным достаточно долго для спокойного отсчета показаний. В противоположность этому, при работе с баллистическим гальванометром для обеспечения правильности отсчета максимального отклонения указателя требуется большое напряжение внимания.
3. Пермеаметры
![]()
Исследование свойств стали путем снятия кривой намагничивания кольцевой пробы (см рис. 12 2) дает наиболее точные результаты, но практически неудобно из за трудности изготовления образца и из-за сложности наложения на него обмоток. Эти затруднения отпадают при применении пермеаметров — устройств, позволяющих быстро и удобно осуществлять относительно равномерное намагничивание образцов стали, имеющих форму стержней круглого или прямоугольною сечения
На рис. 4а, а дан внешний вид одной из конструкций пермеаметра, а на рис 4б приведена схема включения его.
Основными частями этого пермеаметра являются массивная рама 1 из мягкой стали с высокой магнитной проницаемостью и две обмотки w1 и w2. Через боковые отверстия в раму вводится испытуемый образец Р, плотно зажимаемый при помощи специальных конических втулок. Обмотка w1 является намагничивающей, обмотка w2 служит для включения баллистического гальванометра. Переключатель 2 позволяет включать и изменять направление тока в намагничивающей обмотке. Порядок определения магнитного потока в испытуемом образце остается таким же, как и при испытании кольцевой пробы. Некоторое затруднение возникает с вычислением напряженности магнитного поля Н. Вычисление ее по формуле
где l — длина образца, было бы справедливо только при бесконечно малом магнитном сопротивлении ярма и стыков пробы с ярмом Сопротивлением этим можно пренебречь при испытании материалов с низкой магнитной проницаемостью (чугун, поделочные стали),
а— внешний вид б — схема включения
при испытании же проб с высокой магнитной проницаемостью необходимо при вычислении напряженности поля вводить поправки. Эти поправки даются в виде кривых срезывания, прилагаемых к прибору.
Амперметры, предназначенные для пермеаметров, иногда градуируют не в амперах, а в значениях напряженности магнитного поля исходя из приведенной выше зависимости между Н и I.
4. Исследование стали в переменном магнитном поле
Магнитные свойства стали, определенные описанными выше способами на постоянном токе, позволяют определить характеристики стали и при переменном магнитном потоке В частности, по площади петли гистерезиса можно подсчитать потери на гистерезис при переменном потоке. По эмпирическим формулам могут быть вычислены и потери на вихревые токи Подобные вычисления дают только приближенные результаты, поэтому желательно определять характеристики электротехнических сталей на переменном токе путем непосредственных измерений.
![]()
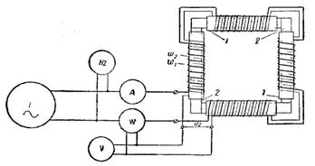
Ваттметровый метод. На рис 5 дан общий вид, а на рис. 6 приведена схема аппарата для определения ваттметровым методом потерь в пробах листовой стали, применяемой для изготовления магнитопроводов электрических машин и трансформаторов. Четыре гетинаксовые втулки 1 прямоугольного сечения укреплены на общем основании, образуя квадрат. На втулках помещены две обмотки с равным числом витков: w1 намагничивающая и w2 — измерительная. Во втулки закладывают пакеты 2 из листов испытуемой стали. Стыки пакетов тщательно стягиваются при помощи особых зажимов, не показанных на схеме. Для устранения потерь в стыках в них закладывают тонкие прокладки из электротехнического картона, толщина которых предварительно тщательно измеряется микрометром и в дальнейшем учитывается при подсчете намагничивающих ампер-витков.
Намагничивающая обмотка питается от источника переменного " тока с регулируемой частотой, измеряемой частотомером Hz. К вольтметру V и к параллельной обмотке ваттметра подается напряжение от измерительной обмотки. Переменный ток, проходя по намагничивающей обмотке, создает в сердечнике переменный магнитный поток с амплитудным значением Фм.
Этот поток создает в измерительной обмотке э.д.с
Ваттметр, включенный по схеме (см. рис.6), измеряет сумму мощности, затрачиваемой на покрытие потерь в стали, и мощности, потребляемой вольтметром и параллельной обмоткой ваттметра. Учитывая это, потери в образце определяют по формуле
где Рвт— показание ваттметра,
RB—сопротивление вольтметра;
Rm —сопротивление параллельной обмотки ваттметра.
Индукционный метод. Для исследования свойств образцов стали при намагничивании переменным током, а также для определения характеристик готовых магнитопроводов переменного тока широко применяют индукционный метод измерения магнитного потока.
Индукционный метод по существу заключается в измерении э.д.с., индуктированной исследуемым переменным магнитным потоком в измерительной обмотке с известным числом витков.
Измерение индуктированной э.д.с. может производиться различными средствами, одним из которых является потенциометр переменного тока. На рис. 7 дан пример использования потенциометра для измерения переменного магнитного потока в какой-либо части сложной магнитной цепи.
Измерительную рамку 1 с известным числом витков помещают в данный аппарат или машину так, чтобы она охватывала весь магнитный поток, подлежащий измерению.
