Охрана поверхностных и подземных вод
![]()
![]()
2 ссссСс очищенная
вода
![]() | |||||||
![]()

Очишенная вода
![]()
4 5
1 шлам
![]()
активный ил
шлам 3 воздух избыток ила
Рнс.1. Технологическая схема очистки ПСВ
1. Нефтеловушка. 2. Смеситель,
3. Коагулятор-осветлитель. 4. Аэротенк
5. Отстойник.
В процессе коагуляционной очистки происходит удаление из воды коллоидно-дисперсных частиц диаметром менее 100 мкм и соосаждение растворенных в воде примесей, поэтому уменьшаются значения ХПК и БПК сточных вод.
В качестве коагулянта предлагается использовать смеси солей трехвалентного железа FеС13+Fе2(SO4)3 в количестве 100 мг/л, приготовленные путем обработки отходов производства диоксида титана хлорной водой. С целью повышения эффективности очистки сточных вод совместно с коагулянтом целесообразно использовать различные высокомолекулярные анионные флокулянты: активную кремневую кислоту, полиакриламид, технический ПАА и др. Оптимальная доза ПАА для очистки промышленных сточных вод колеблется в пределах 0,4-1 г/м3.
Процесс очистки сточных вод коагуляцией и флокуляцией состоит из следующих стадий: дозирование и смешение реагентов со сточной водой;
хлопьеобразование и осаждение хлопьев. В предлагаемой схеме стадии смешения, коагулирования и осаждения проводятся в одном аппарате -коагуляторе-осветлителе (рис.2).
флокулянт
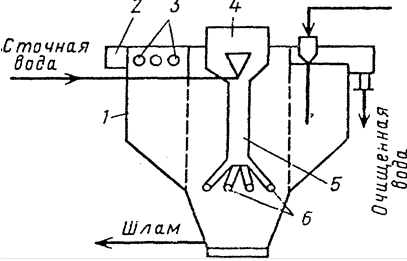
Рис.2. Коагулятор-осветлитель.
1-корпус, 2-желоб, 3-отверстия для удаления осветленной воды, 4-воздухоотделитель, 5-центральная труба, 6-распределительные трубы.
Сточная вода, смешанная с коагулянтом, поступает в воздухоотделитель коагулятора-осветлителя. Затем вода движется по центральной трубе к распределительным трубам, которые заканчиваются соплами для распределения и вращения в кольцевой зоне, куда вводят флокулянт. Хлопья коагулянта образуются в кольцевой зоне. Взвешенные частицы с хлопьями
оседают на дно и их удаляют из аппарата. Осветленная вода через отверстие попадает в желоб, откуда ее направляют на дальнейшую очистку.
Остаточное содержание нефтепродуктов в воде не превышает 25 мг/л.
Третьей стадией очистки производственных сточных вод является биологическая очистка от растворенных примесей в аэротенках. Аэротенк представляет собой открытый бассейн, оборудованный устройствами для принудительной аэрации. Они бывают двух-, трех- и четырехкоридорные. Глубина аэротенков 2-5 м.
Для сточных вод с БПКп=250 мг/л предлагается использовать одноступенчатую схему очистки в аэротенке-вытеснителе.
В аэротенк-вытеснитель воду и ил подают в начало сооружения, а смесь отводят в конце его. Теоретически режим потока поршневой без продольного перемешивания. На практике существует значительное продольное перемешивание. Повышенная концентрация загрязнений в начале сооружения обеспечивает увеличение скорости их окисления. Изменение состава воды по длине аэротенка затрудняет адаптацию ила и снижает его активность.
Концентрация активного ила в аэротенке составляет 2-3 г/л, расход воздуха 20-25 м3 на 1 м3 очищаемой воды.
После аэротенка иловая смесь подается в отстойник, где происходит отделение ила от воды. Большую часть ила возвращают в аэротенк, а избыток его отводится.
Из отстойника сточная вода подается в биологический пруд на доочистку.
5. Расчет основного аппарата.
В предлагаемой нами схеме очистки промышленных сточных вод основным аппаратом является нефтеловушка (рис.3).
Схема горизонтальной прямоугольной нефтеловушки показана на рис.4. Нефтеловушки предназначены для отстаивания грубодиспергированных нефтепродуктов. Типовые открытые нефтеловушки изготавливаются из сборных железобетонных конструкций. Применяются нефтеловушки пяти типов, различающихся пропускной способностью одной секции: 0.005; 0.015;
0.030; 0.045; 0.055 мЭ/с. В каждую секцию сточная вода подводится независимо. В процессе отстаивания нефть всплывает, а тяжелые смолообразные продукты выпадают в осадок. При помощи скребкового транспортера нефть подают к нефтесборным трубам, через которые она удаляется. Осадок с дна ловушки удаляется скребковым механизмом в приямок, а оттуда забирается гидроэлеватором. Отвод нефти и удаление осадка производится автоматически.[7].
![]()
![]()
![]()
![]()
![]()

