Новые конструкции станций метрополитена на линиях мелкого заложенияРефераты >> Архитектура >> Новые конструкции станций метрополитена на линиях мелкого заложения
Расстояние между осями путевых тоннелей, равное 12,9 м, соответствует принятой в стране ширине междупутья для станций мелкого заложения с 10-метровой платформой. Для сокращения длины консольной части плиты перекрытия колонны расположены в поперечном сечении станции на минимально допустимом расстоянии от края платформы — 1,7 м.
Консольное перекрытие станции может быть выполнено как в сборном, так и в монолитном исполнении. С учетом значительных размеров и массы сборной консольной плиты перекрытия, ее можно выполнить из двух симметричных элементов, состыкованных по оси станции. В сборном исполнении плиту перекрытия укладывают на ригели, а монолитное безбалочное перекрытие устраивают непосредственно по колоннам.
Последовательность выполнения работ по сооружению станции показана на рис. 2.2. Путевые тоннели станции сооружают проходческими щитовыми комплексами перегонных тоннелей. Затем в этих тоннелях устанавливают временное подкрепление в виде рам или специального распорного устройства, после чего приступают к сооружению платформенной части станции. Для этого между тоннелями разрабатывают котлован со стержневым креплением откоса, демонтируют тюбинги временного заполнения обделки путевых тоннелей и устраивают плиту основания.
На подготовленное основание устанавливают два ряда колонн с ригелями, на которые укладывают элементы перекрытия. Их омоноличипают между собой, сваривая выпуски арматуры и укладывая бетонную смесь в стыки. После набора бетоном омоноличивания проектной прочности бетонируют зазор между обделкой путевых тоннелей и консольными выступами плиты перекрытия. Образованные таким способом продольные распределительные балки обеспечивают плотное опирание разомкнутой обделки на плиты перекрытия и равномерную передачу нагрузки. Для обеспечения устойчивости конструкции станции распорную систему снимают после устройства гидроизоляции и обратной засыпки станции грунтом.
Полузакрытый способ работ при сооружении колонной станции обусловливает различные приемы для обеспечения ее водонепроницаемости. Гидроизоляция путевых тоннелей осуществляется в соответствии с методами, предусмотренными для сборных железобетонных обделок перегонных тоннелей Метрополитена, а по перекрытию станции и лотковой плите устраивается оклеечная гидроизоляция в соответствии с приемами, разработанными для конструкций открытого способа работ.
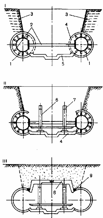
рис.2.2. Последовательность сооружения колонной станции полузакрытым способом
1- путевые тоннели;
2- распорные устройства;
3- стержневая крепь котлована;
4- тюбинги временного заполнения;
5- плита основания;
6- колонны;
7- ригели;
8- элементы перекрытия;
9- продольные распределительные балки;
Рассматриваемый способ сооружении станции включает специальные мероприятия, которые признаны обеспечить устойчивость откоса в верхней части котлована и исключить деформаций и его основании. Учитывая небольшую высоту откоса котлована над обделкой путевого тоннеля, для закреплении откоса рекомендуется использовать армогрунтовую конструкцию в виде стержневой крепи. Чтобы исключить деформацию обделки путевого тоннеля в слабых грунтах, необходимо предусмотрев распорную систему как внутри тоннели, так и между тоннелями.
Избежать сложной распорной системы подкрепления путевых тоннелей позволяет конструкция станции, показанная на рис.2.3. Ее конструктивная форма мало отличается от рассмотренные выше, но особенность производства работ при сооружении этой станции позволяет обойтись без сложной системы временах подкрепления путевых тоннелей. Колоннами такой станции служат буронабивные сваи, основание которых заглубляют ниже лотковой плиты. Величину заглубления определяют из расчета несущей способности буронабивной сваи в данных инженерно геологических условиях. На сваи-колонны опирается перекрытие, консольные выступы которой омоноличены с обделкой путевого тоннеля через специальные элементы, входящие кольца обделки путевых тоннелей. Таким элементом может служить замковый тюбинг железобетонной обделки, выполненный без спинки, или специально изготовленный стальной элемент, наружные размеры которого соответствуют стандартному замковому тюбингу обделки путевого тоннеля. Жесткую связь обделки с консолью плиты перекрытия обеспечивает арматура плиты, пропускаемая внутрь замкового тюбинга, который затем заполняют бетонной смесью.
Рис. 2. 3. Конструкции станции с буронабивными сваями-колоннами:
1 — монолитный железобетон;
2 — стержневая крепь;
3 — буронабивные сваи;
Сооружение станции ведут в следующем порядке (рис. 2.4). Сначала проходят путевые тоннели станции, в кольца обделки которых по одной линии вмонтированы замковые элементы. Затем приступают к разработке котлована между ними до отметки, соответствующей низу перекрытия станции. С этой отметки бурят скважины и бетонируют сваи-колонны. После устройства буронабивных свай по краям котлована вдоль станции разрабатывают дне траншеи до обделки путевых тоннелей и приступают к бетонированию монолитного железобетонного перекрытия.
Рис. 2. 4. Последовательность сооружения станции с буронабивными сваями-колоннами (I-III этапы):
1 — путевые тоннели; 2 — замковые элементы обделки; 3 — отметка, соответствующая низу перекрытия станции; 4 — сваи-колонны;
5 — монолитное железобетонное перекрытие; 6 — элементы временного заполнения;
После того, как бетон перекрытия достигнет проектной прочности, устраивают гидроизоляцию, производят обратную засыпку конструкции грунтом, восстанавливают дорожное покрытие над строящейся станцией и открывают движение юродскою транспорта. Дальнейшую разработку грунта в объеме платформенного чала станции, демонтаж элементов временного заполнения обделки путевых тоннелей, устройство лотковой плиты и платформы производят под защитой перекрытия заходками из открытой поперечной камеры, расположенной в торце станционного комплекса, где установлено необходимое оборудование для обеспечения проходческих и монтажных работ. Достоинство предложенных вариантов конструктивных решений заключается в том, что обделка перегонных тоннелей, возведенная на протяжении станции, является конструктивным элементом всех сооружений станционного комплекса, что позволяет не прекращать технологический процесс по сооружению перегонных тоннелей на линии. Кроме того, это существенно сокращает трудоемкость работ и сроки сооружения станции за счет уменьшения объема работ прежде всего по разработке грунта и креплению незначительных по высоте стен котлована, а также по устройству в этом котловане лишь «недостающих» частей станционных сооружений. Предварительные расчеты показывают, что сооружение станции с путевыми тоннелями кругового очертания по сравнению с типовым проектом колонной станций (ТС-109) позволит получить экономический эффект 20-25%.
