Техпроцесс изготовления фрезыРефераты >> Технология >> Техпроцесс изготовления фрезы
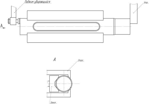
Рис. Схема закрепления заготовки на столе станка.
После установки заготовки трубы в зажимное приспособление происходит быстрый подвод фрезы. Далее при помощи поперечного движения шпинделя станка происходит врезание фрезы в трубу на всю глубину, до получения фаски в отверстии в трубе необходимого размера. Контроль размера фаски производиться перед каждой новой установкой режущего инструмента специальным калибром. В случае получения заданного размера станок выходит на автоматический цикл. После движения врезания, происходит продольное движение стола, с закрепленным на ней зажимным приспособлением. Величина продольного хода 205мм. Затем производится отвод фрезы, за счет поперечного движения шпинделя станка. Производится разжим заготовки трубы картера и перемещения ее на следующую технологическую операцию.
6.2.2. Время обработки
Для определения времени обработки необходимо определить режимы резания. Режимы резания назначим такие же как при базовом варианте обработки трубы картера двумя видами инструментов, а именно:
Подача при врезании фрезы:
Sв= 100 мм/мин
Подача при продольном фрезеровании паза трубы:
Sп= 200 мм/мин
Ускоренная подача подводе/отводе фрезы:
Sу= 5000 мм/мин
Тогда машинное время обработки найдем по формуле:
ТМ= Lв / Sв + Lп / Sв + Lу / Sу , где:
Lв – длина хода при врезании фрезы, 10мм
Lп – длина хода фрезы при поперечном движении, 205мм (по чертежу)
Lу – длины хода при ускоренных движениях фрезы во время подвода к заготовке и отвода, 400мм.
Машинное время равно:
ТМ= 10/100 + 205/200 + 400/5000 = 1,185 мин
Штучное время для данной операции найдём по формуле:
Тшт=Тв+Тм
ТВ – вспомогательное время, примем такое как в базовом варианте (по результатам практики),
Тв=0,57 мин
Отсюда штучное время на операцию составит:
Тшт=0,57+1,185=1,755 мин
Так как за одну операцию обрабатывается сразу 2 заготовки, то штучное время в пересчете на 1 заготовку составит:
Тшт1 = Тшт/2
Тшт1 = 1,755/2 = 0,878 мин
