Изучение конструкции червячного редуктора и всей установки. Лабораторная работаРефераты >> Технология >> Изучение конструкции червячного редуктора и всей установки. Лабораторная работа
Цель работы: Изучение конструкции червячного редуктора; аналитическое и экспериментальное определение его КПД. Сравнение и анализ полученных результатов.
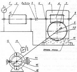
Оборудование и инструменты: Установка ДМ 41, сборочные единицы червячного редуктора. Изучение конструкции червячного редуктора проводят на стенде, а определение КПД – на установке ДМ 41. Она состоит из двухскоростного электродвигателя 1, муфты 2, соединяющий вал ротора электродвигателя с валом червяка червячного редуктора 3, тормозного шкива 4, смонтированного на валу червячного колеса, и охватывающих его тормозных колодок 5.
Технические характеристики установки ДМ 41
| Наименование параметров | Буквенное обозначение величины | Значение |
|
Число заходов червяка | Z1 | 2 |
|
Число зубьев червячного колеса | Z2 | 41 |
|
Коэффициент диаметра червяка | q | 12 |
|
Осевой модуль, мм | m | 3 |
|
Максимальный тормозной момент, Н·м | T2 max | 59 |
|
Электродвигатель типа А02-22 4/2 | ||
|
Мощность электродвигателя, кВт | Pэ | 1 и 1,4 |
|
Частота вращения ротора электродвигателя и червяка редуктора, мин-1 | nэ | 1450 и 2850 |
Теоретические предпосылки.
- Изучение конструкции червячного редуктора.
Одноступенчатый червячный редуктор состоит (см.рис. и стендовые образцы) из червяка 6, червячного колеса 7, вала червяка 8, вала червячного колеса 9, опирающихся на подшипники 10 и 11, корпуса редуктора 12 и крышек подшипников.
Червяки изготавливают из углеродистых или легированных сталей. Их витки шлифуют и полируют.
При вращении витки червяка скользят по зубьям червячного колеса, поэтому червяк и червячное колесо должны обладать антифрикционными свойствами. Самые лучшие антифрикционные свойства у пары стальной червяк и оловянно-фосфористая бронза типа Бр ОФ 10-1 (OCT 190054-72), ОНФ и др. Однако оловянные бронзы дороги и дефицитны и их применяют для изготовления червячных колес со скоростью скольжения 5 .25 м/с.
Безоловянные бронзы, например алюминиево-железистые типа БрАЖ 9-4 (ГОСТ 493-79) и др., дешевле оловянных бронз, менее дефицитны и их применяют для изготовления червячных колес, где скорость скольжения 2 .5 м/с.
При скоростях скольжения меньше 2 м/с применяют серый (ГОСТ 1412-85) или модифицированный чугун.
Для уменьшения расхода бронзы при изготовлении червячного колеса его делают составным: зубчатый венец изготовляют из бронзы, а ступицу – из чугуна или стали.
Корпус червячного редуктора изготовляют из серого чугуна или дюралюминия.
В одной ступени червячного редуктора можно реализовать большие передаточные отношения (до 80). Это достоинство червячных передач.
При скольжении витков червяка по зубьям червячного колеса выделяется много тепла и происходит износ трущихся пар, что является недостатком червячных передач. Поэтому в червячных редукторах надо отводить тепло. Для этого корпуса редукторов делают с ребрами, применяют искусственное охлаждение, например ставят вентилятор.
Внизу у корпуса редуктора имеются лапы, которыми редуктор крепится к основанию.
Валы червяка и червячного колеса вращаются в подшипниках, которые крепятся в гнездах корпуса редуктора.
В червячной передаче возникают радиальные и осевые силы, поэтому устанавливают подшипники, воспринимающие радиальные и осевые нагрузки.
Червячные передачи дороже и сложнее зубчатых, поэтому их применяют там, где невозможно или нерационально применять зубчатые передачи.
- Определение КПД аналитическим путём.
КПД всей установки определяется из выражения
(1)
где
– КПД опор электродвигателя,
;
– КПД муфты,
;
– КПД опор тормоза,
;
– КПД демпфера,
;
– КПД червячного редуктора.
КПД червячного редуктора определяется по формуле:
(2)
где
– КПД червячной передачи;
– КПД на перемешивание масла;
– КПД пары опор валов.
Определяют КПД червячной передачи по формуле:
(3)
где
– угол подъёма винтовой линии червяка;

– приведённый угол трения, определяемый по экспериментальному графику, в зависимости от скорости скольжения витков червяка по зубьям червячного колеса
(4)
где
– окружная скорость червяка, м/с
(5)
где
– частоты вращения червяка;
– диаметр делительной окружности червяка, мм
(6)
