Современные зарубежные свайные дизель молотыРефераты >> Технология >> Современные зарубежные свайные дизель молоты
Молот и его топливная система работают следующим образом.
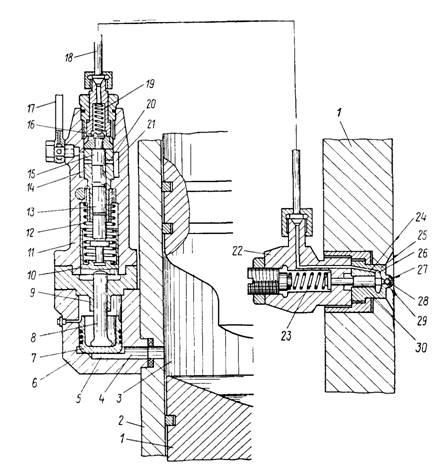
При ходе поршня вниз воздух в рабочем цилиндре 2 сжимается: сжатый воздух по каналу 5 поступает во внутреннюю полость насоса и давит на поршень 7, толкатель 8 и плунжер 13. В момент, когда усилие от давления газа становится больше усилия пружины 2, плунжер начинает двигаться, открывает клапан 16 и по трубопроводу 18 подает топливо к двум форсункам 22, расположенным в зоне камеры сгорания, друг против друга. При этом топливо по каналам 21 и 24 попадает в полость 26 и, воздействуя на торец иглы 30, сжимает пружину 23, открывая доступ топлива в полость 27, откуда оно через сопловое отверстие 28 попадает в камеру сгорания, где самовоспламеняется и сгорает. Поршень 3 подбрасывается продуктами сгорания вверх на расчетную высоту. При ходе поршня 3 вниз продувается рабочий цилиндр и сжимается воздух в рабочем цилиндре. Далее цикл повторяется.
Рис 3. Принципиальная схема дизель-молота фирмы Ishikawjima Harima (Япония):
/ — шабот 2 — рабочий цилиндр; 3 — ударная часть; 4 — топливный насос; 5, 24—канал;
6—нижняя часть корпуса насоса; 7 — поршень; 8 — толкатель, 9 — средняя часть корима корпуса топливного насоса; 10—подвижная втулка; 11 — верхняя часть корпуса топливного насоса, 12, 23 — пружина; 13— плунжер; 14 — втулка; 15 — подплунжерная полость 1Ь — клапан- 17 — топливопровод; 18— напорный топливопровод; 19—пружина, 20 - отверстия, 21, 26, 27 — полость; 22 — корпус форсунки; 25 — наконечник;26—сопловое отверстие; 29 — коническая часть иглы; 30—игла.
Следует отметить, что топливо подается только в процессе сжатия, так как к моменту начала самовоспламенения рабочий ход плунжера уже исчерпан и поршень 7 садится своей юбкой на среднюю часть 9 корпуса насоса. Пневмопривод и подбор жесткости пружины 12 позволяет обеспечить подачу топлива незадолго до удара или даже в момент удара, как и у дизельных молотов с ударным распыливанием топлива. Поэтому усилие взрыва воздействует на погружаемую сваю в момент или после ударного импульса, увеличивая эффект погружения.
Данная топливная система обеспечивает высокие пусковые качества дизельных молотов при их запуске и большой осадке сваи. Это объясняется тем, что подача и самовоспламенение топлива происходит и в том случае, если соударения поршня и шабота не происходит.
К недостаткам этой топливной системы относится повышенная сложность изготовления, а также ненадежность работы из-за расположения насоса в зоне высоких температур.
Другой недостаток по сравнению с ударным распыливанием топлива заключается в том, что давление конца сгорания в этом случае будет ниже, соответственно снизится и эффективность погружения сваи. Это объясняется тем, что в камеру сгорания при ударном распыливании топлива подается вся доза топлива за время, близкое к времени действия удара, а в данном случае топливо подается в течение значительно большего времени. При этом ранее поданная часть топлива начинает гореть раньше, что приводит к затяжке процесса горения и, следовательно, к понижению давления в конце сгорания. Тем не менее, применение данной топливной системы улучшает пусковые качества дизель-молота на слабых грунтах, что представляет определенный интерес и для других фирм. Так, фирма British Steel Piling (Англия) использует эту систему в своих быстроходных дизель-молотах В-15 и В-45.
Заключение
Основное направление развития сваебойных молотов ударного действия — создание высокопроизводительных машин для повышения эффективности сваебойных работ.
Для повышения производительности модернизируются существующие молоты и создаются новые конструкции, существенно отличающиеся от традиционных.
Модернизация молотов ударного действия в основном заключается в увеличении энергии удара за счет усовершенствования процесса сгорания и увеличения высоты подскока ударной части, повышения долговечности и надежности основных деталей молота за счет более эффективной смазки и принятия более рациональных соотношений сфер соударяющихся деталей — поршня и шабота, а также за счет улучшения условий эксплуатации и техники безопасности.
Создание новых моделей молотов в первую очередь выдвигает задачу повышения единичной мощности молота. 5. Повышение единичной мощности молота достигается двумя путями: увеличением частоты ударов и повышением энергии удара.
Повышение частоты ударов у дизельных молотов достигается путем уменьшения высоты подскока ударной части и введения в конструкцию молота пневматического буфера, компенсирующего потери энергии вследствие снижения высоты подскока ударной части.
Увеличение энергии удара обеспечивается преимущественно повышением массы ударной части — созданием тяжелых моделей молотов с ударной частью массой 7500, 10000 и 15000 кг при сохранении в момент удара скорости, близкой к 6 м/с, что позволяет забивать сверхтяжелые сваи и сваи-оболочки.
Развитие производства гидравлических экскаваторов и гидрофицированных копров привело к созданию работающих в комплекте с ними гидравлических молотов двойного и простого действия, имеющих в этом случае на стройплощадке энергетическую автономность, присущую дизель-молотам.
Наиболее перспективными гидравлическими молотами двойного действия являются такие, в конструкции которых не применяются механические обратные связи ударной части с распределительным устройством, а также другие виды энергоносителей.
Для повышения частоты ударов и эффективности гидромолотов простого действия целесообразно применять импульсный подброс ударной части, для более полной передачи кинетической энергии ударной части погружаемой свае между сваей и ударной частью в процессе удара целесообразно применять амортизаторы с регулируемой в зависимости от грунтовых условий жесткостью.
Список литературы:
1. Ю. В. Дмитревич. Современные отечественные и зарубежные свайные дизель-молоты. М 1990
2. Молоты сваебойные. Гост 7888-73. 1/1 1995
