Поляризационные приборыРефераты >> Технология >> Поляризационные приборы
Введение
Приборы для определения внутренних натяжений
Большая поляризационная установка
Фотоэлектрический модуляционный поляриметр
Полярископ-поляриметр ПКС-56
Переносный малогабаритный поляриметр ИГ-86
Список использованной литературы
Введение
Поляризационные приборы основаны на явлении поляризации света и предназначены для получения поляризованного света и изучения тех или иных процессов, происходящих в поляризованных лучах.
Поляризационные приборы широко применяют в кристаллографии и петрографии для исследования свойств кристаллов; в оптической промышленности для определения напряжений в стекле; в машиностроении и приборостроении для изучения методом фотоупругости напряжений в деталях машин и сооружений; в медицине; в химической, пищевой, фармацевтической промышленности для определения концентрации растворов. Поляризационные приборы получили распространение также для изучения ряда явлений в электрическом и магнитном поле.
Приборы для определения внутренних натяжений
Большая поляризационная установка
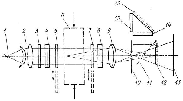
Большая поляризационная установка (рис. 1) предназначена для исследования напряжений в прозрачных моделях деталей машин и сооружений.
Источник света 1 (кинопроекционная лампа К12 или ртутная лампа СВДШ-250) размещен в фокальной плоскости конденсора 2 (фокусное расстояние 180 мм). Параллельный пучок лучей после конденсора проходит через светофильтр 3, поляризатор 4 (поляроид, вклеенный между защитными стеклами), слюдяную пластинку 5 в 1/4 волны и падает на исследуемый образец 6.
|
|
После образца образовавшиеся в нем лучи o и e проходят вторую пластинку 7 в 1/4 волны, анализатор 8 (аналогичный поляризатору 7) и падают на объектив 9 (фокусное расстояние 400 мм), который изображает источник света в плоскости апертурной диафрагмы 10 (ирисовая диафрагма фотозатвора; раскрытие диафрагмы от 2 до 4 мм при ртутной лампе, раскрытие диафрагмы полное до 20 мм для кинопроекционной лампы). Одновременно объектив 9 проецирует изображение образца на матовое стекло 15 при помощи откидного зеркала 11 или на фотопластинку 12.
Интерференционную картину наблюдают через защитное стекло 14 и зеркало 16. Ее можно также проецировать с большим увеличением на экране 13.
Поляризатор, анализатор и пластинки в 1/4 волны вращаются в пределах 0¸90°; угол поворота отсчитывается по шкале с ценой деления 1°. Пластинки в 1/4 волны можно выводить из оптической схемы.
Конструктивно прибор выполнен в виде отдельных узлов: осветитель, в котором смонтированы детали 1—5; нагрузочное устройство, включающее образец 6; фотокамера, содержащая затвор с диафрагмой 10 и оптические детали 7—9 и 11—16, рассчитанная на фотопластинки размером 13´18 м.
Значительное усовершенствование процесса поляризационных измерений и повышение точности достигается при использовании объективных методов измерения. В качестве примеров приборов такого типа рассмотрим схему фотоэлектрического поляриметра.
Фотоэлектрический модуляционный поляриметр
Фотоэлектрический модуляционный поляриметр (рис. 2) позволяет измерять в исследуемом объекте разность фаз лучей о и е, меняющуюся во времени.
Лучистый поток от ртутной лампы 1 сверхвысокого давления проходит через иитерференционный светофильтр 2 (с максимумом пропускания при l=0,436 мкм и l=0,546 мкм), поляризатор 3 и исследуемый объект 4, ориентированный так, что направления колебаний в лучах о и е составляют углы p/4 с направлением колебаний в луче, вышедшем из поляризатора. Выходящий из объекта 4 эллиптически поляризованный свет попадает на пластину 5, изготовленную из кристалла ADP[1], вырезанную так, что ее плоскости перпендикулярны оптической оси.
|
|
Введение пластины 5 позволяет модулировать проходящий через нее лучистый поток, так как на кристалле ADP очень удобно реализовать эффект Поккельса. При приложении к пластине 5 переменного электрического напряжения в направлении, параллельном оси лучистого потока и оптической оси кристалла, последний становится двухосным. Новые оптические оси образуют симметричные углы p/4 с прежним направлением оси. Следовательно, после приложения напряжения к пластине 5 проходящий через нее свет претерпевает двойное лучепреломление. Возникающая при этом разность фаз пропорциональна напряжению электрического поля и не зависит от толщины пластины 5. В связи с возникающей переменной разностью фаз эллиптически поляризованный свет периодически меняет форму эллипса. Следовательно, на выходе компенсатора 6 (в схеме используется компенсатор Сенармона) плоскость линейно поляризованного света колеблется относительно среднего положения. После анализатора 11 модулированный поток света попадает на фотоумножитель l0. Из фотоумножителя ток с основной частотой, соответствующей первой гармонике сигнала, поступает в усилитель 8 и приводит в действие сервомотор 9, поворачивающий анализатор 1l до тех пор, пока в сигнале имеется первая гармоника. Остановка соответствует положению анализатора, при котором на фотоумножитель падает минимальный поток излучения.
Самописец 7 фиксирует углы поворота анализатора, причем измеряемая разность фаз равна удвоенному углу поворота анализатора.
Погрешность измерения составляет в среднем приблизительно 20'.0
Полярископ-поляриметр ПКС-56
Полярископ-поляриметр ПКС-56 (рис. 3) служит для измерения двойного лучепреломления в стекле. Он состоит из источника света 1 (лампа накаливания), матового стекла 2, поляризатора 3 (поляроид, вклеенный между стеклами), пластинки 5 в 1/4 волны, анализатора 6 (аналогичного поляризатору 3) и светофильтра 7 (на длину волны 0,54 мкм).
|
Рис. 3. Схема полярископа-поляриметра ПКС-56 |
Порядок измерения на приборе следующий: скрещивают поляризатор и анализатор (отсчет по лимбу анализатора 0°, поле зрения темное); устанавливают образец 4 (если он обладает двойным лучепреломлением, то в поле зрения наблюдается просветление); поворачивают анализатор до максимального потемнения в середине образца; по лимбу отсчитывают угол поворота Db анализатора.
Зная Db, можно определить
из соотношения
где l — толщина образца в направлении просмотра.
При l=10 мм погрешность измерения
составляет ±3×10-7. С увеличением l погрешность уменьшается.

Рис. 1. Схема большой поляризационной установки
Рис. 2. Схема фотоэлектрического модуляционного поляриметра