Судовые устройстваРефераты >> Технология >> Судовые устройства
Легкая грузовая стрела.
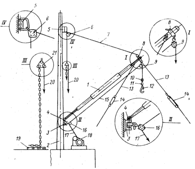
Грузовая стрела.
1 - стрела; 2 - мачта; 3 - башмак шпора; 4 - вертлюг шпора; 5 - обух топенанта; 6 - блок топенанта; 7 - топенант; 8- обух нока; 9 - грузовой блок; 10 - противовес; 11 - вертлюг; 12 - гак; 13 - оттяжка; 14 - тали-оттяжки; 15 - грузовой шкентель; 16 - направляющий блок; 17 - конец к лебедке; 18 - грузовая лебедка; 19 - палубный обух топенанта; 20 - конец к канифас-блоку; 21 - треугольное звено.
Легкая грузовая стрела состоит из длинного металлического (реже, деревянного) стержня трубчатой или ажурной конструкции, один конец которого - шпор - шарнирно связан с мачтой, грузовой колонной или самостоятельным фундаментом вблизи мачты, а второй конец - нок - поддерживается топенантом. Благодаря шарниру стрела может поворачиваться в горизонтальной и вертикальной плоскостях. Последнее достигается изменением длины топенанта, который выбирают или стравливают либо с помощью турачки грузовой лебедки, либо специальной топенантной лебедки. При отсутствии специальных лебедок топенант в нужном положении стопорят с помощью цепного стопора с треугольным звеном, который накидывают на рым или обух палубы.
Перемещение груза осуществляют с помощью стального троса шкентеля, который наматывают на барабан грузовой лебедки. Грузовые лебедки бывают электрические, электрогидравлические и, реже, паровые. Тяговое усилие грузовых легких лебедок от 15 до 50 кН (от 1,5 до 5,0 тс), тяжеловесных—до 100 кН (10 тс).
Длина грузовой стрелы, а также длина шкентеля должна обеспечивать подъем и опускание груза из любой точки грузового трюма (в просвете люка), а также с расстояния не менее 2 м от борта судна на пирсе (это расстояние называют минимальным вылетом стрелы). Вылет тяжеловесных стрел должен составлять не менее 4 м.
В отличие от легких тяжеловесные стрелы, опираются своим шпором не на мачту, а на специальный фундамент, установленный около нее. У тяжеловесных стрел грузоподъемностью более 20 т применяют врезной шкив в районе нока, через который проводят ходовой конец грузового шкентеля, направленного через канифас-блок у салинга мачты к барабану грузовой лебедки. Работают тяжеловесные стрелы либо поодиночке (но с переменным вылетом), либо вместе с патентованными конструкциями с двойным топенантом. Тяжеловесную стрелу при одиночной работе обслуживают четыре лебедки (грузовой шкентель, топенант и две оттяжки), причем для этого зачастую используют те же грузовые лебедки, что и для легких стрел. Поэтому грузовой шкентель и топенант тяжеловесов работают через многошкивные тали (пяти-, шестикратные), называемые гинями.
Тяжеловесная грузовая стрела обычно работает на оба борта, обслуживая при этом только один грузовой трюм, над которым она установлена. Если нужно обслужить соседний трюм, то стрелу переставляют. Чтобы исключить эту операцию, применяют систему с перекидным тяжеловесом (грузовое устройство системы Штюлькен), состоящую из двух вертикальных или слегка наклоненных к ДП массивных грузовых колонн, каждая из которых оканчивается вверху вращающейся головкой с блоками для топенанта. Тяжеловесную стрелу устанавливают между этими колоннами и с помощью топенантов перекидывают на любой из смежных трюмов, между которыми находится грузовое устройство.
Грузовые краны являются более сложным и дорогостоящим грузоподъемным средством, чем стрелы; к тому же они менее надежны при работе в условиях волнения и крена, но зато позволяют быстрее проводить погрузочно-разгрузочные работы, так как могут поднимать и укладывать груз в любое место в просветах люка без дополнительного горизонтального перемещения. Опыт показывает, что производительность кранов в среднем на 20% превышает производительность стрел.
Судовой грузовой кран состоит из колонны со стрелой, обычно ажурной конструкции, поворотной площадки с подъемно-поворотным механизмом и постом управления баллера, являющегося основой крана для закрепления его на корпусе судна (баллер иногда проходит сквозь верхнюю палубу до нижележащей палубы). Для изменения вылета стрелы, используют специальную лебедку. Другая лебедка предназначена для обслуживания грузового шкентеля (подъем - опускание груза). Поворот площадки крана с мачтой и стрелой вокруг вертикальной оси - перемещение груза в горизонтальной плоскости - осуществляется механизмом поворота, который состоит из неподвижного зубчатого венца и находящейся с ним в зацеплении зубчатой шестерни, вращаемой от двигателя (он установлен на площадке крана). В зависимости от типа приводных механизмов различают электрические, гидравлические и электрогидравлические краны. Последние, благодаря исключительной маневренности, получили наибольшее распространение. К недостаткам судовых грузовых кранов следует отнести большую массу, высокую стоимость, невозможность производить работы при углах крена свыше 5-8°, ограниченную грузоподъемность (3-5, реже 7,5-8 т). Для увеличения грузоподъемности применяют сдвоенные грузовые краны - два отдельных крана грузоподъемностью по 5 т, стоящие на общей поворотной платформе. Каждый кран может работать как отдельно, так и совместно, поднимая в этом случае груз массой 10 т (при этом платформа поворачивается вместе с обоими кранами, поднявшими груз), Возможна работа двух кранов спарено, при этом сокращается цикл грузовых операций, но масса поднимаемого груза ограничена до 3 т.
На судах, предназначенных для перевозки сыпучих грузов, иногда имеются разгрузочные ленточные транспортеры.
Существенно сокращает время погрузочно-разгрузочных работ механизированное устройство для закрытия грузовых люков, представляющее собой металлические щиты (по 2-8 шт. на один люк), которые открываются механизированным способом: или откатываются с помощью грузовых стрел, кранов, или раскрываются с помощью гидравлического привода Это позволяет сократить время на открытие (или закрытие) грузового люка до 1-2 мин.
Наиболее распространено откатываемое механизированное люковое закрытие из нескольких отдельных металлических секций, соединенных между собой короткими цепями.
Широкое распространение получили механизированные створчатые люковые закрытия. Они состоят из двух створок (каждая из одной-двух реже, трех секций), открываемых в нос и корму, иногда к бортам с помощью гидравлических приводов. Гидропривод в виде гидравлического цилиндра со штоком или силового шарнира приводит в движение крайнюю секцию у поперечного комингса. Открываясь, эта секция открывает и соседнюю, соединенную с ней на петлях; для открытия трехсекционной створки предусматривают дополнительный силовой шарнир или гидропривод между 2-й и 3-й секциями. Закрытия этого типа позволяют открывать или закрывать грузовой люк всего за 20-25 с.
На контейнеровозах, имеющих большое раскрытие трюмов и люки больших размеров, применяют люковые закрытия понтонного типа. Эти люковые крышки выполнены в виде одной секции с размерами грузового люка. Понтонную крышку люка поднимают грузовым краном и укладывают на свободное место на палубе или пирсе. Для точной установки крышки на место по углам грузового люка делают специальные направляющие, фиксирующие ее в заданном положении.
