Металлорежущие станкиРефераты >> Технология >> Металлорежущие станки
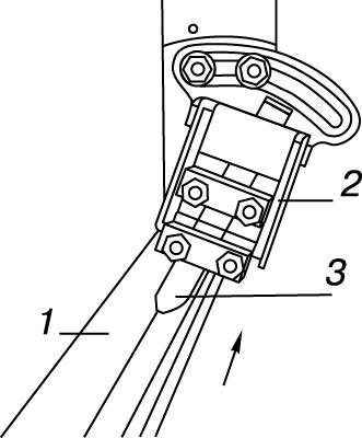
ГОРИЗОНТАЛЬНО-ФРЕЗЕРНЫЙ СТАНОК, резание шпоночной канавки на небольшом валу. Левой рукой рабочий подает стол (вместе с деталью) в продольном направлении, а правой – по вертикали. То и другое, а также поперечная подача могут осуществляться автоматически. 1 – оправка; 2 – фреза; 3 – тиски; 4 – деталь; 5 – стол.
На станках с ЧПУ предусматривается автоматическое управление перемещением стола и скоростью шпинделя. В некоторых случаях сам шпиндель устанавливается на салазках, допускающих его независимое перемещение в осевом или вертикальном направлении. Станок с ЧПУ такого типа позволяет серийно и с высокой точностью обрабатывать трехмерные поверхности, например, лопастей воздушных винтов и лопаток турбин.
ОБРАБОТКА ЗАГОТОВОК монет на фрезерном станке.
Копировально-фрезерные станки обрабатывают сложные криволинейные поверхности, например, пуансонов и матриц для штампования листового металла, форм для литья под давлением и экструдирования. Индикаторный щуп проходит по фигурному профилю копира, а рабочая фреза передает этот профиль обрабатываемой детали.
Шлифовальные станки. Такие станки, главным движением которых является вращение шпинделя шлифовального круга, позволяют обрабатывать детали с высокой степенью точности и чистоты. Обрабатываемая деталь закрепляется на станочном столе, который можно перемещать в разных направлениях при помощи микрометрических винтов. Материалом абразивного круга обычно служит карбид кремния или оксид алюминия, но для обработки закаленной стали применяется карбид бора, а для шлифования стекла и керамики – природный или синтетический алмаз.
УНИВЕРСАЛЬНЫЙ ШЛИФОВАЛЬНЫЙ СТАНОК с наружным и внутренним шлифовальными кругами. На схеме показано шлифование внутренней фаски стальной заготовки штамповой матрицы. Делительная бабка позволяет выполнять шлифование под любым углом. Обрабатываемая деталь и шлифовальный круг вращаются в противоположных направлениях. 1 – делительная бабка; 2 – деталь; 3 – внутренний шлифовальный круг; 4 – отсос пыли; 5 – наружный шлифовальный круг.
Абразивный круг плоскошлифовального станка для обработки плоских поверхностей вращается на горизонтальной оправке над столом, на котором закреплена обрабатываемая деталь. Быстрое возвратно-поступательное перемещение стола в сочетании с более медленной поперечной подачей обеспечивает обработку всей поверхности детали. Цилиндрошлифовальные станки подобны токарным (существует шлифовальная оснастка и для токарных станков). Обрабатываемая деталь вращается, и быстро вращающийся абразивный круг приводится в контакт с ее наружной или внутренней цилиндрической поверхностью; иногда используются два круга, обрабатывающие обе поверхности одновременно. Бесцентровошлифовальный станок предназначен для высокоточной наружной обработки поверхностей стальных валов и труб. Деталь, вращающаяся между двумя подающими кругами и удерживаемая под шлифовальными, медленно подается, пока не будет пройдена вся длина детали. Фасонным шлифованием называется обработка поверхности шлифовальным кругом, имеющим сложный профиль (частично сферический, ступенчатый), который передается детали. Фасонный профиль поддерживается путем «алмазки» шлифовального круга.
Другие станки. К ним относятся, в частности, строгальные, протяжные и зуборезные станки. Последние предназначаются для нарезания зубчатых колес различных типов – цилиндрических с прямыми и косыми зубьями, конических, шевронных, червячных, – применяемых в современном машиностроении. Протяжные станки используются для точной обработки наружных и внутренних поверхностей любого профиля специальным многолезвийным инструментом, зубья которого за один проход снимают весь припуск.
ПРОДОЛЬНО-СТРОГАЛЬНЫЙ , быстрое удаление больших количеств материала. Две головки станка срезают две стружки за один проход стола. Заготовка удерживается на столе магнитными держателями. Подача осуществляется перемещением стола относительно неподвижных резцов. В моделях, предназначенных для более легких работ, резец перемещается, а заготовка неподвижна. 1 – деталь; 2 – резцедержатель; 3 – резец.
Многоцелевой станок (обрабатывающий центр) сходен с фрезерным, но имеет больше осей перемещения и всегда снабжается системой ЧПУ. Фрезеровальные центры допускают быстрый переход с одного процесса резания на другой, например с одного сверла на другое или со сверла на метчик (инструмент для нарезания внутренней резьбы). Многоцелевые станки, как правило, рассчитаны на выполнение совокупности таких операций, как сверление, развертывание, нарезание резьбы метчиком, подрезка, торцовое фрезерование, нарезание канавок, расточка и пр. Имеются модели с вертикальными и горизонтальными шпинделями. Многие выпускаемые станки могут выполнять точную обработку одновременно четырех или пяти сторон призматической детали. При обработке сложных деталей, таких, как головка цилиндра или корпус редуктора, требующих выполнения некоторой последовательности разных операций, многоцелевые станки заменяют несколько станков разного типа.
ГИБКИЕ ПРОИЗВОДСТВЕННЫЕ СИСТЕМЫ
Производственная система представляет собой группу станков, последовательно обрабатывающих одну заготовку. Для массового изготовления, например, автомобильных деталей применяются специализированные производственные системы, называемые автоматическими линиями. Такая линия состоит из отдельных станков (фрезерных, сверлильных, расточных), связанных между собой системой перемещения деталей от одного станка к другому. Автоматические линии позволяют удешевить массовое производство однотипных деталей.
Однако в машиностроении преобладают серийное и единичное производства, требующие частой переналадки оборудования. Применение обычных автоматических линий в таких производствах малоэффективно. Основу комплексной механизации здесь составляют групповая технология, станки с ЧПУ, промышленные роботы, автоматические транспортно-складирующие системы. На их базе с применением координирующих компьютеров создаются быстропереналаживаемые автоматизированные комплексы, называемые гибкими производственными системами (ГПС). При изготовлении, например, головок цилиндра дизельного двигателя ГПС способна обрабатывать головки цилиндра от 5 до 100 разных размеров и типов, причем их заготовки могут поступать в случайном порядке.
ЛИТЕРАТУРА
Кочергин А.И. и др. Металлообрабатывающие станки, линии и инструменты. Минск, 1979
Власов С.Н. и др. Устройство, наладка и обслуживание металлорежущих станков и автоматических линий. М., 1983
