Управление проектамиРефераты >> Управление >> Управление проектами
Все базовые элементы управления проектом находятся во взаимодействии друг с другом, которое можно условно представить в виде пирамиды. Ресурсы используются в ходе выполнения работ; работы создают результаты; в результатах содержатся материальные и экономические субстраты ресурсов. Риски воздействуют на ресурсы, работы и результаты. Проект воздействует на окружающую среду и, таким образом, на риски.
Деятельность по управлению проектом подразумевает управление всеми базовыми элементами и состоит из нескольких направлений. Поскольку весь проект как деятельность, подвергаемая управлению, является системой, а управление проектом является приложением системного подхода, то различные виды (или направления) деятельности можно назвать подсистемами управления проектом.
Выделяют восемь таких подсистем управления:
1) содержанием;
2) продолжительностью (временем);
3) стоимостью;
4) качеством;
5) персоналом (человеческими ресурсами);
6) материально-техническим обеспечением (ресурсами);
7) коммуникациями;
8) рисками.
Каждая из этих подсистем по-разному взаимодействует с базовыми элементами. Управление содержанием определяет структуру и состав работ, ресурсов, результатов и рисков. Управление продолжительностью, прежде всего, воздействует на работы, но и на ресурсы (так как начало работ означает поступление или начало использования ресурсов), результаты (так как окончание работ означает создание результата) и риски (так как воздействие факторов окружающей среды сказывается и на продолжительности). Управление стоимостью и качеством направлено на все базовые элементы. Управление персоналом, материально-техническим обеспечением и коммуникациями направлено на соответствующие виды ресурсов (человеческие, материальные и информационные). Управление рисками направлено на взаимодействие всего проекта с окружающей средой.
Реализация подсистемы управления проектом состоит из полготовки одной или нескольких управляющих моделей на фазе разработки и воплощения решений, заложенных в эту модель, в ходе реализации. При этом модели служат средствами выполнения процессов реализации и контроля. На основе первоначальной модели строится последующая, отражающая фактически достигнутые результаты.
Таким образом, управляющая модель – это не абстрактное отображение действительности, а реальный инструмент управления. Описание подсистем управления проектом с точки зрения управляющих моделей и базовых элементов представлено в табл. 2.1.
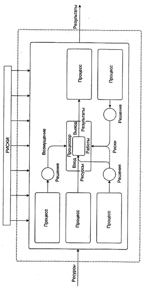
Деятельность всех подсистем управления проектом с системной точки зрения представляется как совокупность взаимосвязанных процессов и точек принятия решения. В процессе (как и в проекте в целом) выделяют вход, выход и процессор (рис. 2.1).
Вход – это совокупность ресурсов (в том числе информационных, куда могут входить управляющие сигналы о принятых решениях), необходимых для получения результата.
Выход – это совокупность всех результатов проекта.
Процессор – это совокупность работ, объединяющих входящие ресурсы и действия, направленные на получение выходных результатов.
Таким образом, процесс как единица деятельности по управлению проектом состоит из тех же базовых элементов, что и весь проект в целом: работ, ресурсов, результатов. При этом для каждого процесса существуют и риски, которые возникают во внешней среде в рамках выполнения других процессов, действующих на основной прямо или косвенно.
В ходе выполнения работ по управлению проектом возникают ситуации выбора различных альтернативных путей, направлений деятельности. Выбор путей осуществляется в рамках принятия решения, которое следует рассматривать как работу управляющего характера. Принятие решения – это совокупность процедур, реализация которых приводит к выбору оптимального пути из набора выявленных альтернатив. Принятие решения находится на стыках различных процессов.
Таблица 2.1. Связи подсистем и базовых элементов управления проектом
|
Подсистема управления проектом |
Базовые элементы |
Управляющие модели |
|
Управление содержанием |
Результаты, работы, ресурсы, риски |
Дерево целей |
|
Управление продолжительностью |
Работы |
Дерево работ, сетевая модель, календарный график |
|
Управление стоимостью |
Результаты, работы, ресурсы |
Структура расходов (дерево стоимости), структура доходов, бюджет, график денежных потоков |
|
Управление качеством |
Результаты, работы, ресурсы |
Структура продукции, структура потребностей (требований к продукции) |
|
Управление персоналом |
Ресурсы (человеческие) |
Организационная структура, штатное расписание, матрица ответственности, сетевая матрица |
|
Управление материально-техническим обеспечением |
Ресурсы (материальные) |
Структура ресурсов, график поставок |
|
Управление коммуникациями |
Ресурсы (информационные) |
Дерево документации, схема информационной системы |
|
Управление рисками |
Риски |
Дерево рисков, дерево решений |
Рис. 2.1. Системное представление проекта
В рамках управления проектом можно выделить четыре вида процессов:
1) проектирования (планирования);
2)реализации;
3)контроля;
4) завершения,
Процессы проектирования (планирования) состоят в создании оптимальной модели деятельности по управлению проектом в целом, а также отдельных подсистем (процессов, работ). Процессы реализации состоят в воплощении ранее созданной модели в рамках конкретной предметной области. Процессы контроля отображают полученные результаты на ранее созданной модели, обеспечивают выявление фактических и прогнозных отклонений, выработку корректирующих и предупреждающих мероприятий. Процессы завершения заключаются в создании модели, отображающей фактически достигнутые результаты, сопоставлении этих результатов с поставленными целями, анализе эффективности и результативности работ.
Все процессы соединяются точками принятия решения, которые группируются следующим образом:
- инициация – принятие решения о начале проекта, фазы, процесса (реализация выбора «делать – не делать»);
- множественная альтернатива – принятие решения о способе реализации проекта, фазы, процесса из нескольких альтернатив (реализация выбора «как делать»);
