Расчёт главной насосной станции системы водоотведенияРефераты >> Технология >> Расчёт главной насосной станции системы водоотведения
Секундный максимальный расход на один водовод:
Характеристики одного водовода: ø=700 мм
i = 0,0032375
U = 1,386 м/с
Характеристики водовода в случае пропуска аварийного расхода: ремонт ноутбуков Братиславская
ø=700 мм
i = 0,013
U = 2,78 м/с
5. Определение требуемого напора насосов
Требуемый напор определяется по формуле [м]:
Нтр = Нг + ∑hм (5.1)
Нг – геодезическая высота подъёма сточных вод равная разности отметок уровня воды в приёмной камере очистных сооружений и дна приёмного резервуара или отметки среднего уровня сточных вод в приёмном резервуаре.
∑hм – сумма местных потерь напора [м]:
∑hм = hл + hм + hн.с. + hвод (5.2)
hл – линейные потери напора [м]:
hл = i∙l (5.3)
i – единичные потери напора, по таблице /5/ (рассчитаны в 4 пункте данной работы),
l – длина напорных водоводов [м],
hм – потери напора на местные сопротивления [м], принимаем 10÷20% от линейных потерь напора:
hм = (10÷20%)∙hл (5.4)
hн.с – потери внутри насосной станции, принимаем в размере 2м,
hвод – потери в водомерном устройстве: hвод = 3м – если вставка Вентури,
hвод = 0,5м – если труба Вентури,
Расчёт требуемого напора:
Нг = 82,00 – 70,21 = 11,79м
hл = 0,0032375 ∙ 600 = 1,943м
hм = 0,2 ∙ 1,943 = 0,39м
hвод = 3м – вставка Вентури,
∑hм = 1,943 + 0,39 + 2 + 3 = 7,333м
Нтр = 11,79 + 7,333 = 19,123м
Требуемый напор насоса при пропуске аварийного расхода:
hл = 0,013 ∙ 600 = 7,8м
hм = 0,2 ∙ 7,8 = 1,56м
∑hм = 7,8 + 1,56 + 2 + 3 = 14,36м
Нтр = 11,79 + 14,36 = 26,15м
6. Подбор насосов
При подборе насосов руководствуются следующими условиями:
– общая подача рабочих насосов должна равняться максимальному расчетному притоку сточных вод или несколько превышать его;
– число и подача насосов должны обеспечить устойчивый режим работы станции при периодических колебаниях притока воды;
– насосы целесообразно принимать однотипные.
по расходу сточной воды и напору насосов по каталогам производим выбор насосов: Нтр= 19,123м
= 3910,41 м3/ч
В первом приближении стараемся подобрать два или три одинаковых рабочих насоса так, чтобы развиваемый ими напор соответствовал напору Нтр, а суммарная подача — расчетной подаче
Подбираем два насоса марки СДВ 2700/26,5б
Технические характеристики насоса марки СДВ 2700/26,5б:
Подача – 2160 м3/час=600 л/с
Напор – 21 м
Частота вращения – 740 об/мин
Коэффициент полезного действия – 71%
Допускаемый кавитационный запас – 8 м
Мощность насоса – 174 кВт
Размер проходного сечения, не менее – 200 мм
Диаметр рабочего колеса – 600 мм
Число резервных насосов принимаем по /1/ таблица 21. Относим проектируемую насосную станцию к насосным станциям I категории надёжности. I категория допускает перерыв в подаче воды только на время (не более 10 мин), необходимое для выключения поврежденных и включения резервных элементов. Число резервных насосов равно двум, той же марки, что и основные рабочие насосы.
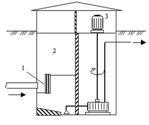
Принципиальный вид насосной станции с вертикальными насосами показан на рис 6.1.
Рис 6.1. «Принципиальный вид насосной станции с вертикальными насосами».
1 – решётки; 2 – приёмный резервуар; 3 – машинное отделение.
7. График параллельной работы насосов и водоводов
Насосы, установленные на насосных станциях, работают параллельно, т.е. одновременно подают жидкость в два параллельно соединенных трубопроводов. Необходимость в параллельной работе нескольких одинаковых насосов возникает в тех случаях, когда невозможно обеспечить требуемый расход воды подачей одного насоса. Параллельная работа насосов используется для увеличения общей подачи при постоянных напорах и для регулирования подач путём изменения числа работающих агрегатов.
1. Откладываем на графике геометрическую высоту всасывания – Нг ;
2. Определяем сумму потерь напора ∑hм (5 пункт данной работы);
3. Определяем приведённое сопротивление трубопровода:
(7.1)
где q – секундный расход насосной станции [м3/с]
Приведенное сопротивление одного водовода:
Приведенное сопротивление двух водоводов:
Приведенное сопротивление в случае пропуска аварийного расхода:
4. На шкале расхода Q принимаем ряд произвольных значений и определяем потери напора. Расчёт потерь напора сведён в таблицу 7.1.
Таблица №7.1: «Построение характеристик трубопровода»:
| q, м3/с | Для одного водовода ø=700 мм | Для двух водоводов ø=700 мм | Аварийный режим работы системы | |||
| S1, с2/м5 |
| S2, с2/м5 |
| Sав, с2/м5 |
| |
| 0,1 | 24,86 | 0,2486 | 6,215 | 0,062 | 12,171 | 0,12 |
| 0,2 | 0,99 | 0,25 | 0,49 | |||
| 0,3 | 2,23 | 0,56 | 1,1 | |||
| 0,4 | 4 | 1 | 1,95 | |||
| 0,5 | 6,2 | 1,55 | 3,04 | |||
| 0,6 | 8,93 | 2,24 | 4,38 | |||
| 0,7 | 12,17 | 3,05 | 5,96 | |||
| 0,8 | 15,88 | 4 | 7,79 | |||
| 0,9 | 20,1 | 5,03 | 9,86 | |||
| 1,0 | 24,81 | 6,22 | 12,17 | |||
| 1,1 | 7,52 | 14,73 | ||||
| 1,2 | 8,95 | 17,53 | ||||
| 1,3 | 10,5 | 20,57 | ||||
| 1,4 | 12,18 | 23,85 | ||||
| 1,5 | 14 | 27,38 | ||||
| 1,6 | 15,91 | 31,16 | ||||
| 1,7 | 17,96 | 35,17 | ||||
