Разработка технологии производства сгущенного молока с сахаромРефераты >> Технология >> Разработка технологии производства сгущенного молока с сахаром
Для Западно-Сибирского региона оптово-отпускные цены 36,0 (min) и 56,0 (max), а также розничные цены 55,0 (min) и (max).
1.1.2 Комбинированное и модифицированное сгущённое молоко с сахаром
Резкое ухудшение экологической обстановки во всём мире, связанное с техническим прогрессом, а также недостаток или избыток отдельных компонентов пищи привели к появлению новых и резкому увеличению числа известных болезней, связанных с неправильным питанием.
Для сохранения здоровья человека продукты питания должны обеспечивать улучшение обмена веществ, повышение сопротивляемости организма к неблагоприятным воздействиям внешней среды. В связи с этим актуальной является разработка специализированных продуктов сбалансированного состава, обладающих лечебно-профилактическим действием с учётом физиологических потребностей различных возрастных групп населения.
Создание продуктов «здорового» питания, имеющих сбалансированный состав, может быть реализовано за счёт их многокомпонентности, в частности путём комбинирования сырья животного растительного происхождения [20].
Использование сухого молочного сырья и растительных жиров при производстве сгущённого молока с сахаром также решает такие проблемы, как дефицит молочного сырья и снижение себестоимости продукта.
Сухое молоко, жиры и специальные смеси, используемые в качестве ингредиентов при производстве рекомбинированных молочных консервов, должны быть хорошего качества и обладать необходимыми функциональными характеристиками, обеспечивающими готовый продукт определёнными свойствами.
Сухое молоко выбирают с учётом его состава, физических и химических и микробиологических характеристик. Наиболее важной характеристикой СОМ является его способность придавать продукту нужную вязкость. Важно знать условия производства, поскольку и тепловая обработка и гомогенизация могут повлиять на вязкость вырабатываемого сгущённого молока с сахаром.
Сгущенные молочные консервы вырабатывают по традиционной технологии в соответствии с ГОСТом 2903-78 и по различным ТУ.
Традиционная технология сгущенного молока с сахаром.
Сгущенные молочные консервы вырабатывают двух видов: с сахаром и без него (стерилизованные).
Сгущенные молочные консервы с сахаром. Имеют однородную по всей массе консистенцию без ощутимых органолептически кристаллов лактозы, белый с кремовым оттенком цвет (для нежирных консервов допускается голубоватый оттенок, а для консервов с наполнителем —темно-коричневый). Эти консервы обладают сладким вкусом с выраженным оттенком пастеризованного молока или сливок, а консервы с наполнителями — хорошо выраженными вкусом и запахом натурального кофе или какао. В настоящее время изготовляют большой ассортимент сгущенных консервов с сахаром, нежирных и с массовой долей влаги от 26 до 30 %, сухих веществ от 26 до 36, жира от 5 до 19 и сахарозы от 37 до 44 %, кислотностью от 37 до 60 Т. В готовых консервах общее количество бактерий в 1 г допускается не более 50 000 (для молока сгущенного с сахаром, нежирного и пахты) и 35 000 (для сгущенных консервов с сахаром, кофе и какао), бактерии группы кишечной палочки в 0,1 г продукта и патогенные микроорганизмы не допускаются.
Предприятия отрасли выпускают следующие виды консервов: цельное сгущенное молоко с сахаром, сгущенные сливки с сахаром; нежирное сгущенное молоко с сахаром; сгущенную пахту с сахаром; натуральный кофе со сгущенным молоком и сахаром, какао со сгущенным молоком и сахаром, какао со сгущенными сливками и сахаром и другие с различными оригинальными названиями.
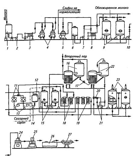
Сгущенные молочные консервы с сахаром вырабатывают по одной технологической схеме (рис. 1.4). Режимные параметры зависят от конкретного вида консервов.
Технологический процесс производства сгущенных консервов с сахаром состоит из следующих основных операций: приемка и подготовка сырья и компонентов, нормализация, пастеризация, гомогенизация, приготовление и добавление сахарного сиропа, сгущение, охлаждение сгущенного продукта, фасование, упаковывание (закатывание) и хранение.
Приемку молочного сырья и его подготовку (очистку, охлаждение и резервирование) проводят так же, как и при выработке других молочных продуктов. Компоненты готового продукта по рецептуре подготавливают согласно действующей документации. После подготовки молоко нормализуют с учетом содержания в готовом продукте жира, сухого молочного остатка, сухого обезжиренного молочного остатка (СОМО) и соотношения жира и СОМО (Жпр/СОМОлр). Это соотношение сравнивают с соотношением в перерабатываемой партии молока (ЖМ/СОМОМ). Если ЖМ/СОМОМ >Жпр/СОМОпр, то для нормализации исходного молока используют обезжиренное молоко; если ЖМ/СОМОЫ < Жпр/ СОМОпр, то молоко нормализуют сливками; если Жи/СОМОм = ЖПр/СОМОпр, то молоко не нормализуют.
Нормализованную молочную смесь пастеризуют при температуре 85—95 или 105—112°С без выдержки. Для нежирных консервов обезжиренное молоко и пахту пастеризуют при 75—77°С с выдержкой 10 мин и при 85—90°С без выдержки. В нормализованное молоко перед пастеризацией можно вносить 25%-ный водный раствор соли-стабилизатора в количестве 0,008—0,01 % массы
молока. После пастеризации молоко рекомендуется охладить до 70—75°С и направить на сгущение. Выдержка молока при температуре пастеризации обеспечивает получение готового продукта повышенной вязкости.
Перед сгущением допускается гомогенизация молока. Ее применяют в зимнее время, а также для консервов вязкостью менее 2,5 Па • с. Гомогенизацию проводят при температуре 60—65 °С и рабочем давлении 8—10МПа, а для сгущенных консервов с кофе — при 75—80 °С и 10—12 МПа.
Сахарный сироп готовят путем растворения необходимого количества сахара в питьевой воде температурой 60—70 "С. После смешивания сахара с водой смесь доводят до кипения и очищают. Сахарные сиропы рекомендуется готовить с концентрацией сахара 65—70 %. С целью предотвращения расщепления (инверсии) сахарозы, а также засахаривания и загустения сироп нельзя выдерживать более 20 мин от начала кипения до начала его смешивания с молоком. Температура сиропа при смешивании должна быть 90—95 °С.
Сахарный сироп может поступать в вакуум-аппарат установки в смеси с молоком или поэтапно: сироп — молоко — сироп. Перед поступлением в выпарной аппарат молочную смесь с сахарным сиропом, молоко или сироп фильтруют.
|
|
Рис. 1.4. Технологическая схема выработки сгущенных молочных консервов с сахаром:
/ — приемная емкость; 2, 7, 10, 13, 14, 21 — насосы; 3 — пластинчатый нагреватель; 4—сепара-торы-молокоочистители; 5— сепаратор-сливкоотделитель; 6— емкость для обезжиренного молока; 8— пластинчатый охладитель; 9, 12, 15— емкости; 11 — трубчатые пастеризаторы; 16, 22—'вакуум-аппараты; 17, 20— регуляторы уровня; 18— трубчатые охладители; 19 — трубчатые подогреватели; 23 — вакуум-охладитель; 24— наполнитель; 25— закаточная машина; 26— моечно-сушильны'й агрегат; 27— этикетировочная машина
