Обзор конструкции зубофрезерного станки 5Д32 и расчет червяной фрезыРефераты >> Технология >> Обзор конструкции зубофрезерного станки 5Д32 и расчет червяной фрезы
Фрезы, предназначенные для тангенциальной подачи имеют заборный конус под углом 11-13 градусов на длине 2,5-3 шага. Зубья фрезы на заборной части должны быть затылованы по конусу.
Существуют червячные однозубые фрезы-летучки (рис.4). Фреза-летучка имеет один режущий зуб, выполненный по профилю рейки и вставленный в оправку. Фреза очень проста в изготовлении, но малопроизводительна, и поэтому ее применяют только в случаях крайней необходимости, когда требуется нарезать одно или несколько червячных колес, а обычную червячную фрезу изготовить сложно.
Рисунок 3 – Способы фрезерования червячных колес.
Рисунок 4 – Червячная однозубая фреза-летучка.
Червячная эвольвентная фреза с насеченными мелкими зубьями представляет собой инструмент для снятия очень мелкой стружки (рис.5).
Рисунок 5 – Фреза червячная хвостовая с мелкими эвольвентными зубьями.
Зубья фрезы срезают тонкие стружки (скоблят профиль червячного колеса). Такие фрезы применяют для окончательной обработки червячных колес для червячной передачи с эвольвентным червяком. Зубья червячных шеверов не затыловываются, задние углы их лезвиях равны нулю.
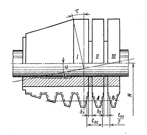
Некоторые особенности имеют фрезы для многозаходных передач (рис.6).
Черновая часть I представляет собой обычную червячную фрезу. После переточки черновая фреза уменьшается в диаметре и профиль ее переместиться в положение, показанное штриховой линией.
На одну оправку с червячной фрезой насажена вторая промежуточная часть II. Между первой и второй частью проставлено кольцо определенной ширины b1. На второй части имеются зубья, затылованные по бокам, а по вершине – незатылованные.
Рисунок 6 – Составная червячная фреза для червячных (многозаходных) передач.
Рядом с этой частью за промежуточным кольцом шириной b2 помещают третью часть фрезы, в точности совпадающую со второй. На первой части фрезы число зубьев может быть любое, на второй и третьей ее частях число зубьев должно быть равно числу заходов червяка.
После переточки зубьев второй и третьей частей из-за наличия затылования с боков они уменьшаются по толщине. Для того, чтобы сохранить первоначальную толщину зуба колеса, можно кромки А и В поставить в первоначальное положение путем изменения толщины прокладок b1 и b2. После изменения толщины прокладок кромка А второй части фрезы и кромка В третьей части фрезы и кромка В третьей части фрезы будет давать точный зуб колеса как по высоте, так и по толщине.
Вывод
В данном курсовом проекте произведен краткий обзор зубофрезерных станков, детально проанализирован вертикальный зубофрезерный станок модели 5Д32, изучена его структура, кинематика, составлена структурная сетка частот вращения шпинделя. В графической части вычерчена кинематическая схема механизмов и узлов станка. Спроектирована червячная фреза для нарезания червячных колес с углом в осевом сечении витка ax=20º, модулем 8 мм из быстрорежущей стали для вертикального зубофрезерного станка модели 5Д32. Был также произведен информационно-патентный поиск конструкции червячных фрез из быстрорежущей стали для нарезания червячных колес, рассмотрены возможные варианты получения требуемого профиля зуба колеса.
Литература
1. Шагун В.П. «Справочник конструктора-инструментальщика», 1975 г.
2. Кучер А.М. и др. «Металлорежущие станки», атлас конструкций, 1972 г.
3. Кочергин А.И. и др. Металлообрабатывающие станки, линии и инструменты. Минск, 1979 .
4. Власов С.Н. и др. Устройство, наладка и обслуживание металлорежущих станков и автоматических линий. М., 1983.
5. Врагов Ю.Д. Анализ компоновок металлорежущих станков. - Станки и инструмент, 1972, 208 с.
