Керамика, сваркаРефераты >> Технология >> Керамика, сварка
Оборудование. Для термической обработки используют электронагревательные печи; периодического и непрерывного действия. Низкотемпературные и высокотемпературные; камерные для создания рабочей атмосферы или вакуума и др.
В процессе работы печи строгое соблюдение режимов позволяет обеспечить повторение свойств вновь спекаемых таких же изделий, поэтому строго соблюдают в процессе обработки температуру, состав газовой атмосферы и объемное ее содержание во время спекания в рабочей зоне.
6.7. Дополнительные операции.
Механическая обработка керамики. Различают механообработку до и после обжига керамики. Механообработка необожженной керамики производится с целью получения более сложной формы детали и выполняется с помощью твердосплавного инструмента. С этой целью заготовки пропитывают парафином или церизином при температуре 80-100 ОС в течение 20-60 мин. После предварительной сушки до 2-3% - ой влажности.
Механическая обработка необожженной керамической массы включает также очистку изделий (снятие выступов и неровностей), резку на требуемые размеры. Для очистки изделия используют инструменты типа заостренных ножей; стержней, скребков и т. д. Крепление изделия осуществляется с помощью клеящих веществ (церезина, воска, канифоли и др.).
Вырубка заготовок из ферритовых и керамических необожженных лент и пленок используется для получения изделий малой толщины (до 10-5 мкм). Изделия большей толщины выгоднее получать путем резки, шлифования, полирования и доводки спеченных заготовок.
Механообработку после обжига осуществляют с целью увеличения точности размеров до 5 квалитета и формы, а также для получения высококачественной поверхности (до RZ = 0.05-0.025 мкм). Обработку выполняют в этом случае на шлифовально-доводочных станках. Для обработки применяют также ультразвуковую обработку, алмазную обработку. Разрезку осуществляют на специальных станках вольфрамовой проволокой в сочетании с абразивной суспензией или алмазными пилами.
Глазурование. Производят для защиты поверхности детали от загрязнений, повышения поверхностного сопротивления, красивого внешнего вида и соединения отдельных керамических деталей. Для этих целей используют глазури, которые бывают тугоплавкие и легкоплавкие, первые имеют температуру плавления 1200-1400 ОС, вторые 600-1000 ОС. Глазури состоят из высокодисперсных материалов, близких по составу к составу керамической массы с добавлением стеклообразующих веществ.
Легкоплавкие глазури наносят на детали после их обжига, тугоплавкие - после формования или сушки, если в массе нет органической связки, либо после предварительного или окончательного обжига.
Металлизацию керамики осуществляют с целью выполнения электрических цепей, обеспечения электрических контактов, а иногда и для соединения деталей друг с другом. Нанесение металлических слоев на керамику осуществляют вжиганием, химическим осаждением металлов из водных растворов, вакуумным испарением, ультразвуковым лужением и др.
ЛИТЕРАТУРА .
1. Технология материалов в приборостроении. Под ред. А.Н. Малова,
М, Машиностроение, 1969, 440 с.
2. Технология электрокерамики. Под ред. Г.Н. Масленниковой. Энер-
гия, М., 1974, 224 с.
3. Белинская Г.В., Выдрик Г.А. Технология электровакуумной и радио-
технической керамики. Энергия, М., 1977, 335 с.
4. Окадзаки К. Технология керамических диэлектриков. М., Энергия,
1976, 336 с.
5. Бабич Э.А., Улановский Б.М. Технология производства ферритов и
радиокерамики . Уч. пособие для техн. училищ. Высшая школа . М.,
1984, 223 c.
СВАРКА
1. Физическая сущность и классификация способов сварки
Сварка это процесс получения неразъемного соединения путем расплавления и совместной кристаллизации материала двух соединяемых деталей или без расплавления в результате электронного взаимодействия в месте контакта свариваемых деталей.
Сваркой изготовляют в приборостроении каркасы и стойки элементов вычислительной и электронной техники, соединение выводов микросборок и микросхем с печатными проводниками печатных плат и др.
Сварку осуществляют двумя способами: плавлением без внешнего механического воздействия и с приложением давления к соединяемым элементам. В первом случае материал соединяемых элементов в месте соединения расплавляют, во втором случае процесс выполняют без нагрева или с местным нагревом.
При сварке плавлением расплавленный металл соединяемых элементов образует общую сварочную ванну, затвердевающую при кристаллизации в результате охлаждения металла нагретого до 2000 оС и выше. Различают электрическую, химическую и литейную сварку плавлением.
Сварку с приложением давления в зависимости от источника теплоты делят на контактную, индукционную, трением (разновидность - ультразвуковая).
2. Выбор способа сварки
При выборе способа сварки необходимо учитывать чувствительность соединяемых материалов к тепловому воздействию, точность взаимного расположения соединяемых элементов и, кроме того, герметичность, коррозионную стойкость, прочность, воздействие вибрационных нагрузок и низких температур.
Основные требования, учитывающие при выборе способа сварки:
1. с целью обеспечения точного взаимного расположения соединяемых деталей зона нагрева их должна быть минимальной;
2. способ сварки должен обеспечивать точную дозировку и концентрацию тепловой энергии;
3. защита свариваемых деталей от воздействия с воздухом химически активных металлов (титана, молибдена и др.), легких сплавов на основе алюминия и магния, сплавов на основе меди и никеля для исключения охрупчивания сварного соединения.
3.1 Сварка плавлением
Здесь рассмотрим дуговую сварку без защитных и с защитными газовыми средами наиболее часто применяемыми в производстве несущих конструкций приборных изделий (каркасы блоков, стоек, шкафов и др.).
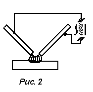
Дуговая сварка. Источником тепла в этом случае служит электрическая дуга - стационарный разряд в газах, характеризуемая высокой температурой электродов (2400-2600 оС) и большим током в зоне разряда. При дуговой сварке возникает разряд между свариваемым металлом и специальным стержнем (электродом) (рис.1) или между двумя электродами (рис.2). В первом случае сварку осуществляют дугой прямого, а во втором косвенного действия.
При сварке дугой прямого действия формирование шва осуществляется за счет присадочного металла (плавящегося электрода) и без него; при сварке дугой косвенного действия шов формирует за счет плавления металла соединяемых деталей. При сварке электродом прямого действия применяют сварочные проволоки, ленты и др., содержащие на поверхности минеральное покрытие, служащие для защиты и легирования металла шва; при сварке электродов косвенного действия для защиты металла шва используют инертные газы (аргон, гелий).
В зависимости от рода тока, воздействия дуги на металлы, электрода, степени механизации эту сварку разделяют на: ручную, полуавтоматическую, автоматическую, аргонно-дуговую плавящимся и не плавящимся электродом, сварку в среде СО2, водородно-дуговую неплавящимся вольфрамовым электродом.
