Измерение магнитострикции ферромагнетика с помощью тензодатчикаРефераты >> Технология >> Измерение магнитострикции ферромагнетика с помощью тензодатчика
3.3. Зная разбаланс моста в мкВ и ток через тензодатчик рассчитать разбаланс моста в Омах и определить соответствующую этому разбалансу магнитострикцию, используя соотношение:
l=∆l/l=g(∆R/R),
где ∆R – разбаланс моста в Омах.
R = 200 Oм – сопротивление тензодатчика,
g = 2 - коэффициент тензочувствительности.
3.4. Построить зависимость g =f(H) для всех образцов (постоянная соленоида К = 100 Э/А = H/J, где Н – амплитуда магнитного поля, J – ток соленоида).
3.5. Объяснить различия в зависимостях g =f(H) для образцов из электротехнической стали, вырезанных вдоль и поперек проката.
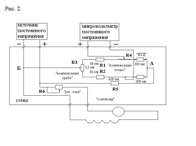
Рис. 2. Электрическая схема установки для измерения магнитострикции.
Литература.
1. Вонсовский С.В. Магнетизм: «Наука», 1971,
2. Ивановский В.И. Физика магнитных явлений, Издательство Московского университета, 1981
3. Г.Рейнбот. Магнитные материалы и их применение. Перевод с немецкого Л. Энергия, 1974, с. 375-380.
