Производство коксаРефераты >> Технология >> Производство кокса
· оборудование для изготовления и обработки зубчатых колёс;
· сверлильное оборудование
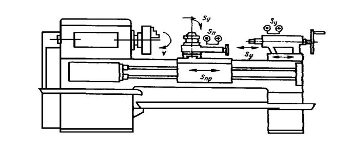
Рисунок 8.1 – Общий вид токарно-винторезного станка
Рисунок 8.2 – Общий вид токарно-карусельного станка
Рисунок 8.3 – Общий вид поперечно-строгального станка
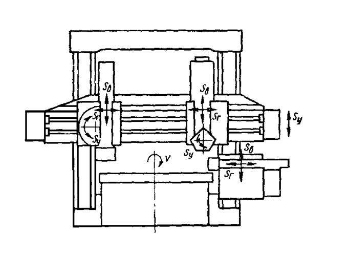
Рисунок 8.4 – Общий вид горизонтально-расточного станка
Рисунок 8.5 – Общий вид вертикально-фрезерного станка
9 ЦЕХ РЕМОНТА КОКСОВОГО ОБОРУДОВАНИЯ
СЦРКО состоит из следующих участков:
· Участок механической обработки;
· Участок вентиляции;
· Участок по ремонту компрессоров;
· Слесарно-сборочный участок;
· Участок вулканизации;
· Участок гидравлики;
· Склад готовой продукции;
· Выездная бригада планово предупредительного ремонта
10 ТЕХНИКА БЕЗОПАСНОСТИ
После прибытия на предприятие и оформления документов студенты должны пройти вводный инструктаж по технике безопасности, при оформлении на работу - инструктаж на рабочем месте.
Основные правила техники безопасности и производственной санитарии заключаются в следующем.
На предприятие следует приходить здоровому и хорошо отдохнувшему. При появлении недомогания необходимо обратиться в больницу и обязательно поставить в известность руководителя практики. При длительной болезни необходимо сообщить на кафедру или в деканат.
Входить на территорию предприятия и выходить разрешается только через проходную с соблюдением пропускного режима в соответствующей одежде;
Одежда практиканта должна обладать защитными свойствами, обувь быть закрытой. Необходимо иметь головной убор.
По территории предприятия следует передвигаться только по установленным маршрутам, прислушиваясь к сигналам двигающегося транспорта. Особое внимание следует проявлять при переходе шоссейных и железных дорог, при переходе под навесами и крышами зданий, не следует наступать на крышки коммуникационных люков.
Запрещается проход через незнакомые цехи и участки. Нельзя заходить в незнакомые помещения.
В пределах цеха следует ходить по установленным проходам, остерегаясь движения работающих механизмов. Запрещается перелезать через конвейеры, ограждения, проемы, трогать провода, электрооборудование и прочие предметы.
Не следует проходить вблизи мест огневых работ, под технологическими трубопроводами.
Запрещается проходить мимо производственного оборудования в не застегнутой одежде, с висящими концами шарфов и прочих элементов одежды.
Следует тщательно готовить рабочее место, не допускать его захламления, пользоваться только исправным инструментом. При работе нельзя отвлекаться посторонними делами или разговорами.
Запрещается включать и выключать оборудование, снимать защитные приспособления, таблички, плакаты, указатели, если это не входит в круг служебных обязанностей.
При обнаружении неисправностей оборудования необходимо немедленно сообщить об этом непосредственно руководителю.
При любом несчастном случае или микротравмах (например, при попадании пыли в глаза) следует обращаться в здравпункт и сообщить руководителю практики.
Запрещается пить воду из не предназначенных для этого источников и принимать пищу в необорудованных местах.
Курение допускается только в специально оборудованных местах. Необходимо помнить телефоны здравпункта пожарной охраны и службы охраны труда предприятия.
ВЫВОДЫ
Во время учебной практики, проходящей на АКХЗ, я ознакомился со схемой управления предприятием и основными цехами завода.
На заводе я посетил: склад угля, цех углеподготовки, углеобогатительнуюфабрику, коксовый цех, цех улавливания, РМЦ, СЦРКО.
Ознакомился с новинками на производстве.
Прослушал курс по технике безопасности.
Узнал, какую продукцию выпускает завод. Я сделал вывод, что авдеевский коксохимический завод крупнейший в Украине.
