Земляные работы в строительствеРефераты >> Строительство >> Земляные работы в строительстве
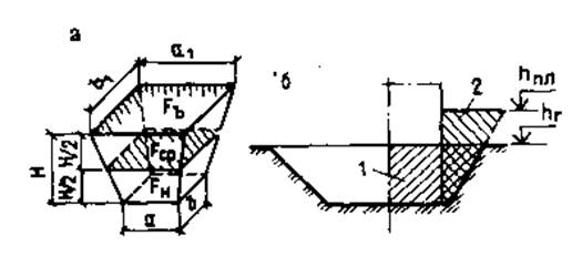
Рис. 4. Схема для определения объемов котлована (а) и обратной засыпки (б): 1—объем выемки; 2—объем обратной засыпки
Определение объема траншеи и других линейно-протяженных земляных сооружений. Его определяют с учетом продольного и поперечного профилей сооружения. С этой целью выделяют участки между точками перелома профиля по дну траншеи и ее поверхности.
Для каждого из таких участков объем вычисляют отдельно, после чего их суммируют. Участок рассматривают как трапецеидальный призматоид (рис. 5), приближенный объем которого равен:
V = (F1 +F2) L / 2 (завышенный) или
V = Fср.L (заниженный),
где F1, F2-площади поперечного сечения в начале и в конце рассматриваемого участка, м²;
Fср. — площадь поперечного сечения на середине рассматриваемого участка, м2 ;
L - длина участка, м.
Точное значение объема определяют по формуле Мурзо:
V = Fcp+[m(Н1 + H2)2/12]L,
где H1, H2 - глубина в начале и в конце участка, м.
Рис. 5 Схема для определения объема траншеи
Определение объемов грунтовых масс при вертикальной планировке. На застраиваемой территории, как правило, выполняют планировочные работы, связанные со срезкой выступающих и засыпкой западающих мест. В зависимости от объемов и вида срезаемого грунта, дальности его перемещения, рельефа местности определяют способ планировки. Существует несколько методов определения объемов работ по вертикальной планировке территории. Выбор метода зависит от сложности рельефа и требуемой точности подсчета. Наиболее распространенными являются методы четырехгранных и трехгранных призм.
Сущность этих методов состоит в том, что весь участок на плане с горизонталями делят на элементарные фигуры, по каждой из которых определяют объемы работ, а затем суммируют их.
Метод четырехгранных призм. Предусматривает членение площади участка на прямоугольники или квадраты со сторонами 10 .100 м. Чем спокойнее рельеф местности, тем больших размеров принимают стороны прямоугольника. Дальнейший расчет будет проще, если прямоугольники принять одинаковых размеров. Для всех вершин прямоугольников вычисляют черные (местные) отметки hч — путем интерполяции значений соседних горизонталей, красные (проектные); hпр — по заданной планировочной отметке и имеющемуся уклону, рабочие отметки H — как разность между красной и черной отметками. Рабочая отметка со знаком «плюс» показывает высоту насыпи, а со знаком «минус» — глубину выемки. Вычисленные отметки записывают рядом с вершиной по схеме, приведенной на рис. 6.
Рис. 6. Схема разбивки местности при определении объемов планировочных работ методом четырехгранных призм. Цифры в кружках — номера фигур
Между двумя вершинами с рабочими отметками разного знака находят такую точку, в которой рабочая отметка равна нулю. В этой точке не требуется никаких земляных работ. Расстояние от нее до вершин, имеющих соответствующие рабочие отметки Н1 и Н2, находят по правилу пропорциональности сторон подобных треугольников, причем Н1 и H2 входят в формулу как абсолютные величины:
X1=аH1/(H1 + H2),
где X1 — расстояние нулевой точки от вершины, имеющей рабочую отметку H1, м;
a — длина стороны прямоугольника между вершинами с рабочими отметками Н1 и H2, м.
Соединив между собой нулевые точки, получают линию нулевых работ, являющуюся границей между зоной планировочной выемки и планировочной насыпи.
Линия эта рассекает отдельные прямоугольники на другие геометрические фигуры различных размеров. По каждой фигуре, расположенной в той или иной зоне, определяют объем насыпи и выемки, умножая площадь фигур на среднюю рабочую отметку. Средняя рабочая отметка есть сумма рабочих отметок в вершинах рассматриваемой фигуры, деленная на число вершин этой фигуры. Результаты подсчета заносят в ведомость, имеющую следующую форму:
|
№ фигур |
Выемка (—) |
Насыпь(+) | ||||
|
F |
Hcp |
V |
F |
Hcp |
V | |
|
∑Fв |
∑Vв |
∑Fн |
∑Vн | |||
Разность между суммой объемов выемки и насыпи называется балансом земляных масс. Она может иметь положительное значение, если объем выемки превышает объем насыпи, и отрицательное, если объем насыпи превышает объем выемки. В первом случае имеет место избыток грунта, который необходимо вывезти, во втором — недостаток, требующий завоза грунта на площадку.
Метод трехгранных призм. Используют при сложном рельефе площадки, непрямоугольном ее очертании и при необходимости более точного подсчета объемов планировочных работ. Этот метод предусматривает дополнительное членение прямоугольников или квадратов диагоналями на треугольники, по которым определяют объемы планировочных работ.
Способ расчета остается таким же, как и при методе четырехгранных призм, но число операций увеличивается вдвое.
В процессе проектирования вертикальной планировки можно добиться равновесия объемов насыпи и выемки грунта на площадке, т. е. обеспечить так называемый «нулевой баланс» земляных масс, что является наиболее рациональным вариантом.
Иногда для получения «нулевого баланса» прибегают к формированию искусственного ландшафта на местности, окружающей застройку, создавая холмы и водоемы.
В другом случае для этого определяют среднюю планировочную отметку поверхности естественного рельефа участка и проектируют необходимые уклоны с сохранением нулевого баланса. При подсчете объемов земляных работ методом четырехгранных призм средняя планировочная отметка равна:
hcp=(∑hч1+∑hч2+∑hч4) / (4n)
где hч1, hч2, hч4 — черные отметки в точках, где находятся соответственно вершины одного, двух и четырех прямоугольников; n — число прямоугольников или квадратов.
При методе трехгранных призм среднюю планировочную отметку определяют как hcp=(∑hч1+2∑hч2+3∑hч3+4∑hч4+5∑hч5+6∑hч6) / (6n)
где hч1, hч2, hч3 и т. д. — черные отметки в точках, где находятся соответственно вершины одного, двух, трех, и т. д. треугольников; n — число треугольников.
Как правило, строительным площадкам придают определенный уклон для отвода атмосферных вод. В зависимости от местных условий уклон может быть односкатным, направленным перпендикулярно одной из осей площадки, двухскатным или направлен под углом к оси площадки. При наличии уклона средняя планировочная отметка будет располагаться на оси, неположенной перпендикулярно направлению заданного уклона.
