Машины для производства бетонных работРефераты >> Строительство >> Машины для производства бетонных работ
Гравитационные смесители предназначены для приготовления подвижных смесей и выпускаются передвижными и стационарными, цикличного и непрерывного действия.
Передвижные гравитационные цикличные смесители имеют объем готового замеса 65.165 и 330 л и применяются в качестве самостоятельных машин для приготовления подвижных 6сгонных смесей с крупностью заполнителя до 70 мм и строительных растворов на объектах с небольшими и средними объемами работ.
Смесители с объемом готового замеса 65 л выпускают на колесном ходовом устройстве, с объемом 165 и 330 на полозьях.
Рис.3. Передвижной гравитационный смеситель с объемом готового замеса 65л.
Смеситель (рис.3а) с объемом готового замеса 65 Л состоит из грушевидного смесительного барабана 1, на внутренней поверхности которого закреплены три сменные перемешивающие лопасти привода 3, приводящего смесительный барабан во вращение, рамы 4 с колесным ходом и механизм поворота (наклона) барабана с фиксирующим устройством. Вращение барабану сообщается от электродвигателя 7 (рис.3б") через клиноременную передачу б и двухступенчатый цилиндроконический редуктор 5. Барабан 4 жестко закреплен на тихоходном вату редуктора и вращается с частотой 27 мин-I. При загрузке компонентов и их смешивании барабан наклонен к горизонту под углом 12°, а при выгрузке готовой смеси - под углом 40°, исходные материалы загружают в смеситель вручную, а выгружают готовую смесь, опрокидывая вращающийся барабан отверстием вниз. Смеситель может выдавать до 2 мз/ч при 30 циклах в 1 ч. Перевод барабана из положения загрузки и смешивания в положение выгрузки осуществляют вручную с помощью рукоятки управления, установленной на корпусе редуктора.
Рис.4 Передвижной гравитационный смеситель с объёмом готового замеса 165л.
Передвижные гравитационные бетоносмесители с объемом готового замеса 165 и 330 л оборудованы ковшовым подъемником с индивидуальным приводом для загрузки предварительно отдозированных сухих компонентов смеси в барабан и вододозировочным устройством для отмеривания дозы воды на замес.
Смесительный барабан 5 (рис.4) с размещенными внутри лопастями жестко закреплен на выходном валу трехступенчатого цилиндроконческого редуктора 7 с фланцевым электродвигателем 12. Привод барабана встроен в траверсу 11, которую поворачивают вместе с барабаном вокруг горизонтальной оси вручную с помощью штурвала 6 через одноступенчатый редуктор 13. Удержание барабана в различных положениях обеспечивается фиксирующим устройством 14. Перемешивание компонентов производится при наклонном положении оси барабана, а выгрузка готовой смеси - путем опрокидывания вращающегося барабана отверстием вниз. Загрузка сухих компонентов в смесительный барабан производится загрузочным ковшом I. Механизм подъема и опускания ковша включает два подъемных барабана 2 для навивки концов каната 8, охватывающего ковш, самотормозящийся червячный редуктор З и фланцевый электродвигатель 4. При навивании каната на барабаны ковш с компонентами поднимается по направляющим рамы в крайнее верхнее положение и разгружается в смеситель путём опрокидывания. Два концевых выключателя 9 и 10 автоматически отключают электродвигатель в крайних положениях ковша. В вододозировочную систему бетоносмесителя входит дозатор с краном, которым по достижении заданной дозы отключают воду. Продолжительность одного цикла составляет 110-130 с.
Стационарные гравитационные цикличные бетоносмесители выполняются с наклоняющимися цилиндроконическими и двухконус - ными смесительными барабанами и гидравлическим или пневматическим приводом механизма опрокидывания барабана.
Цикличные бетоносмесители принудительного действия представляют собой роторные и роторно-планетарные машины с вертикально расположенными валами. Они предназначены для приготовления бетонной смеси и раствора любой подвижности и жесткости.
В роторном бетоносмесителе (рис.5) компоненты смеси перемешиваются в кольцевом рабочем пространстве неподвижной части 1 лопастями 2 ротора З, вращающегося с частотой 0,5.0,6 с 1. Смешивающие лопасти крёпятся к ротору с помощью пружинных (рессорных) амортизаторов 4 на разном удалении от оси его вращения, а их рабочие поверхности расположены под различными углами к траектории своего движения.
Рис.5. Схема циклического роторного бетоносмесителя
Такая схема установки лопастей, создающих при своем движении продольные и поперечные потоки смешиваемых компонентов, обеспечивает интенсивное и качественное перемешивание смеси любой консистенции.
Амортизаторы позволяют лопастям поворачиваться при попадании между ними и днищем крупного предмета. В смесительном устройстве помимо смешивающих лопастей имеются наружная и внутренняя очистные лопасти, прикрепляемые к ротору жестко.
Внутренняя поверхность чаши футерована износостойкой сталью. В донной части чаши имеется разгрузочный люк, перекрываемый затвором с рычажным или пневматическим приводом. Роторные бетоносмесители с объемом готового замеса 165 л выпускают передвижными, 330 и 1000 л - стационарными. Их конструкции имеют мало различий.
Растворосмесители предназначены для приготовления строительных растворов (цементных, известковых, глиняных, гипсовых, шлаковых и сложных) при выполнении каменных, изоляционных, штукатурных, монтажных и кровельных работ. Представляют собой машины с принудительным смешиванием компонентов раствора в неподвижной емкости горизонтальным или вертикальным лопастным валом (лопастные растворосмесители) или быстровращающимся лопастным ротором (турбулентные смесители). Передвижные растворосмесители имеют объем готового замеса 30, 65, 125 и 250л, стационарные-400,800и1200л. Стационарными растворосмесителями комплектуются автоматизированные растворные узлы и заводы. Передвижные малогабаритные растворосмесители цикличного действия с объемом готового замеса 30 и 65 л применяют на объектах с небольшой потребностью в растворе (до 2,6.3,0 мз/ч), устанавливают в непосредственной близости от места укладки смеси и перемещают в пределах строительной площадки и рабочего места на колесах. Такие растворосмесители не имеют устройств для дозирования и механической загрузки компонентов. Применение растворосмесителей наиболее рационально для приготовления растворов из сухих смесей при производстве отделочных работ. Малые габариты машин позволяют эксплуатировать их в помещениях.

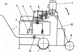
Рис.7 смеситель со сменными чашами общий вид и схема.
Растворосмеситель с вертикальным лопастным валом рис.7 с объемом готового замеса 65 л имеет три основных узла: чащу-тачку I, представляющую собой цилиндрическую чашу 2, смонтированную на тачке 1, откидывающийся смеситель II. состоящий и3 вертикального лопастного вала 4, фланцевого электродвигателя 7 на напряжение 220/380 В, с частотой 50 гц, трехступенчатого цилиндрического редуктора б, неподвижной лопасти 3 и ограждения 5, тележку, имеющую обрезиненные колеса 8, фиксаторы-ловушки 9 для установки чаши-тачки 1 и шкаф электрооборудования. При вращении по часовой стрелке лопастного вала, смещенного относительно центра чаши, движущаяся смесь увлекает за собой чашу, вращающуюся вокруг своей оси против часовой стрелки в опоре 10. Частота вращения чаши регулируется отклонением не подвижной лопасти 3, шарнирно соединенной с корпусом редуктора привода. Эта лопасть создает нужное направление потоков смеси и способствует лучшему перемешиванию компонентов.
