Механизированная мойка для легковых автомобилей и автобусовРефераты >> Строительство >> Механизированная мойка для легковых автомобилей и автобусов
Для защиты фундаментов от поверхностных вод по периметру здания выполняют отмостку шириной 1 м по щебёночному основанию толщиной 150 мм с уклоном от здания 20‰.
Фундаментные балки. Всего запроектирован 1 типоразмер фундаментных балок. Балки укладывают на сборные опоры, размерами 600–1240. Серия I.42 5- I вып. I. Горизонтальная изоляция выполняется из цементно-песчаного раствора марки М 100.
Рисунок 1 – Схема столбчатого фундамента
Колонны. В здании запроектирован 1 типоразмер колонн постоянного сечения 400Ч300 Серии I. 423–3 вып. I. Высота колонн 5,6 м.
Балки покрытия. В здании запроектирован 1 типоразмер двускатных балок покрытия длинной 12,0 м. по Серии I.42 5- I вып. I. Соединение производится сваркой закладных деталей балок и колонн
Стены в здании запроектированы самонесущие, с опиранием на фундаментные балки из газосиликатных блоков СТБ 1117 марка по средней плотности 400 кг/м3. Кладку ведут на легких растворах плотностью в сухом состоянии менее 1500 кг/м3. Наружная отделка – стена оштукатуривается, шпатлюется и производится окраска акриловыми красками.
Толщина внутренних стен 250 мм. Выполнены из стеновых панелей КПУ – 75/25 ГОСТ 530–95. Кладку ведут на растворах марки М100. Над проёмами в стенах укладывать сборные железобетонные перемычки по Серии I.038. I–I вып. I. Швы заполнять раствором марки М 50.
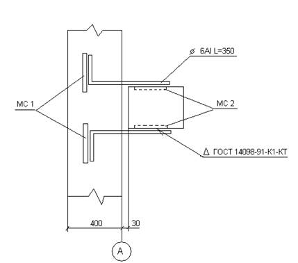
Схема соединения колонны со стеной
Покрытие. Покрытие в здании запроектированы из сборных железобетонных плит толщиной 300 мм. Применяется 3 типоразмера плит I. 465. I. – 17 вып. I, I. 465. I. – 7/84 вып. I. Плиты покрытия опираются на железобетонные балки и закрепляются при помощи сварки закладных деталей, не менее чем в трёх точках. Швы между плитами должны быть заполнены раствором марки М200, при этом зазоры между торцами продольных рёбер должны быть заделаны на всю высоту ребра.
Крыша запроектирована скатная. Кровля выполнена рулонной из трёх слоёв «Кровляэласта» на антисептированной битумной мастике. Плиты тщательно очищаются от пыли и огрунтовываются раствором из мастики МБП ТУ РБ 00294846.148–98 с керосином в соотношении 1:2. Закрепление слоёв водоизоляционного ковра осуществляется наваркой наплавляемых материалов газовыми горелками.
Конструкция кровли
Железобетонная ребристая плита 300 мм., 2. Газоселикат г 250 кг/м3 200 мм., 3. Стяжка из цементно-песчаного раствора марки М 100 30 мм., 4. 2 нижних слоя К-СТ-БП-ПП/ПП – 3,5 СТБ 1107–98. 5. 1 верхний слой К-СТ-БП-К/ПП – 4,5 СТБ 1107–98.
Полы по виду основания запроектированы по грунту. Запроектировано 4 типа полов. Конструкцию полов смотри «Спецификация и ведомости» таблица 3.5 – Экспликация полов.
Окна и двери. В здании окна запроектированы одностворчатые и двустворчатые, глухие и открывающиеся в металлической обвязке с тройным остеклением. Смотри «Спецификация и ведомости» таблица 3.4 – Спецификация элементов заполнения проёмов.
3. Сведения о наружной и внутренне отделке
Проект разработан для условий производства работ в летнее время. При производстве в зимнее время руководствоваться СНиП 111–16–80 «Бетонные и железобетонные сборные конструкции» и СНиП 15–76 «Бетонные и железобетонные монолитные конструкции».
Наружная отделка – стена оштукатуривается, шпатлюется и производится окраска акриловыми красками.
Внутренняя отделка – смотри «Спецификация и ведомости», таблица 3.6 – Ведомость отделки помещений
Оконные переплёты, наружные двери и ворота окрасить масляной краской за 2 раза.
Все металлоконструкции окрасить двумя слоями эмали. ПХВ по одному слою грунта ГФ-020. Столярные изделия окрасить масляной краской за 2 раза. На закладные изделия в монолитном и сборном железобетоне нанести металлическое покрытие согласно СНиП II-28–73*.
4. Спецификация и ведомости
Таблица 3.1 – Спецификация основных сборных бетонных и железобетонных элементов
|
Поз. |
Обозначение |
Наименование |
Кол |
Масса ед., т. |
Примечание |
|
1 |
2 |
3 |
4 |
5 |
6 |
|
Фундамент | |||||
|
1 |
ГОСТ 13579–78 |
ФБС8.4.6.-т |
12 |
0,47 |
- |
|
2 |
ФБС12.4.6.-т |
9 |
0,64 |
- | |
|
3 |
ФБС24.4.6.-т |
63 |
1,30 |
- | |
|
4 |
ФБС8.4.3-т |
12 |
0,23 |
- | |
|
5 |
ФБС12.4.3-т |
51 |
0,32 |
- | |
|
6 |
3Ф18.15–2 |
14 |
2,40 |
- | |
|
Фундаментные балки | |||||
|
7 |
Серия I.415- I вып. I |
ФБ6–4 |
4 |
1,20 |
- |
|
8 |
ФБ6–2 |
7 |
1,30 |
- | |
|
9 |
ФБ6–4 |
2 |
1,20 |
- | |
|
10 |
ФБ6–12 |
2 |
1,50 |
- | |
|
11 |
ФБ6–2 |
2 |
1,30 |
- | |
|
Колонны | |||||
|
12 |
Серия I. 423–3 вып. I |
К 36–1 |
42 |
1,00 |
- |
|
Балки покрытия | |||||
|
13 |
Серия 2021–136 вып. I |
1БСТ6–3AIVT-1 |
22 |
1,150 |
- |
|
14 |
1БСТ6–3AIVT-2 |
4 |
1,150 |
- | |
|
Плиты покрытия | |||||
|
7 |
I. 465. I. – 17 вып. I |
3 ПБ6–1АтУ |
20 |
2,68 |
- |
|
8 |
2 ПВ6–1АтУт- 2 |
5 |
3,28 |
- |
