Насосная станцияРефераты >> Строительство >> Насосная станция
(2.3)
i=3м/км - удельное сопротивление по длине трубопровода, l=0,29км - длина напорного трубопровода.,
- запас напора.
2.2 Определение расчетной подачи и числа устанавливаемых агрегатов
Расчетная подача насоса
определяется максимальной подачей насосной станции
и принятым числом насосных агрегатов.
(2.4)
Число рабочих насосных агрегатов определяется как отношение максимального и минимального расходов из графика водопотребления.
(2.5)
Резервные насосы предназначены для замены основных в случае выхода их из строя. На насосных станциях II категории надежности водоподачи устанавливается 1 резервный насосный агрегат при числе основных 1 - 8.
Число установленных агрегатов:
(2.6)
- число рабочих агрегатов;
- число резервных агрегатов;
3. Выбор насосов и приводных электродвигателей
3.1 Выбор основного насоса
Рисунок 3.1. Сводный график рабочих полей насосов типа В
Выбор основного насоса ведется по расчетному напору и расчетному расходу по сводным графикам полей насосов соответствующих типов. На сводный график наносится точка А с расчетными координатами Нр=40,33 м. и Qр=4,9 м3/с. Точка А попала в зону насоса марки 1200В - 6,3/40 n=375 об/мин.
Рисунок 3.2. Рабочая характеристика насоса 1200В-6,3/40
Имея тип и марку насоса, по каталогу находят рабочую характеристику насоса. На характеристику насоса наносят точку В с координатами Нр=40,33 м. и Qр=4,9 м3/с, которая при правильно подобранном насосе должна находиться на кривой H - Q или несколько ниже нее в пределах рабочей области. Если величины расчетного напора Нр=40,33 м и напора Н=43 м, снятого с кривой H - Q при расчетном расходе Qр=4,9 м3/с, отличаются не более чем на 5 - 10%, насос считается подобранным.
3.2 Выбор электродвигателя
Требуемая мощность электродвигателя определяется по максимально возможной подаче насоса Qн=4,9 м3/с, и соответствующему ей напору Нн=40,33 м.
(3.1)
К - коэффициент запаса, учитывающий возможность перегрузки двигателя (в первом приближении К=1).
ηн - КПД насоса в долях единицы, снимаемый с характеристики насоса для Qн.
![]()
Таблица 3.1
Зависимость коэффициента запаса от мощности двигателя.
|
Мощность двигателя, кВТ |
до 20 |
21 - 50 |
51 - 300 |
более 300 |
|
Коэффициент запаса К |
1,25 |
1,2 |
1,15 |
1,1 |
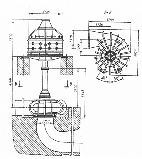
Рисунок 3.3. Схема насосного агрегата
По расчетной мощности двигателя и частоте вращения по каталогу подбирается марка электродвигателя: ВСДН-17-49-16.
4. Проектирование всасывающих и напорных трубопроводов
4.1 Проектирование всасывающих трубопроводов
При использовании на насосной станции мощных (Q > 2 м3/с) вертикальных центробежных насосов подвод воды к ним осуществляется с помощью изогнутых всасывающих труб с давлением в них всегда выше атмосферного. Они выполняются в монолитном железобетоне в зданиях блочного типа. Число всасывающих труб равно числу установленных насосных агрегатов.
Рисунок 4.1. Всасывающая труба насоса с коленчатым подводом
Форма и размеры таких труб устанавливаются заводом изготовителем и зависят от диаметра входного патрубка.
4.2 Проектирование напорных трубопроводов
4.2.1 Внутристанционные напорные трубопроводы
Напорные трубопроводы в пределах здания станции служат для подачи воды от насосов к внешним напорным водоводам и включают в себя напорные линии насосов и соединительные трубопроводы. Для обеспечения отключения насосов от внешнего напорного трубопровода они оборудуются дисковыми затворами.
Диаметры напорных линий Dн внутри здания станции назначают по скоростям движения воды в них: при Dн > 800мм Vн = 1,8…3,0 м/с.
(4.1)
Так как значение Dн больше диаметра напорного патрубка насоса dн =1,32м, переходы выполняют в виде диффузоров длиной
(4.2)
4.2.2 Внешние напорные трубопроводы
Напорные трубопроводы служат для транспортировки воды к водовыпускным сооружениям. Трубопровод состоит из двух ниток, расстояние в свету между ними 2м для исключения подмыва при аварии.
Так как на насосной станции установлены насосы с идентичными характеристиками, график водоподачи ступенчатый и количество насосов подключенных к каждой нитке одинаковое расчетный расход этой нитки:
(4.3)
- условный постоянный расход, который проходя по напорным трубопроводам, вызывает такие потери энергии, какие вызвал бы фактический переменный расход, проходя по тем же трубопроводам за тот же период времени; n - число ниток напорного трубопровода; t - продолжительность периода, сут.
Для графика водоподачи и схемы соединения напорных трубопроводов с насосами, приведенных на рисунке эта формула будет иметь вид:
Рисунок 4.2. Схема соединения напорных трубопроводов с насосами
Для определенного
определяется диаметр напорного водовода:
(4.4)
