Отделка выставочного залаРефераты >> Строительство >> Отделка выставочного зала
Содержание олифы в шпатлевке для помещений с нормальным температурно-влажностным режимом эксплуатации (температура 20 °С и относительная влажность воздуха не более 70%) должно быть 2.5 .3 % (по массе). Меньшее содержание олифы делает шпатлевку непрочной и неводостойкой. При более жестких температурно-влажностных режимах количество олифы в шпатлевке может составлять 5; 10; 18% (по массе), при окраске деревянных поверхностей — не менее 5 %.
Под синтетические окрасочные составы пригодны те же шпатлевки, что и под масляные окрасочные составы, но чаще применяют синтетические шпатлевки, в состав которых входит не менее 6 % (по массе) поливинилацетатной дисперсии или латекса (например, шпатлевки КЛМ, помелакс, СВШ, эмульсин). Применять под эти составы шпатлевки на сернокислых солях меди или алюминия (например, медно-купоросную, квасцовую) нельзя, так как на окрасочных пленках появятся пятна.
Под атмосферостойкие долговечные синтетические окрасочные составы (кремнийорганические, перхлорвиниловые, акриловые) для фасадов применяют специальные синтетические шпатлевки, приготовляемые на тех же связующих, что и сами краски. Например, широко применяют атмосферостойкую шпатлевку «Каум» на основе перхлорвинилового лака и нитрильного каучука. Состав шпатлевки «Каум» (%): краска ЦПХВ — 33,8, каучук СКН-26-1А— 1,2, молотый мел — 26, песок— 13, цемент — 26.
Поверхности изделий из металла, керамики, полистирола выравнивают специальными шпатлевками.
Шпатлевки, как правило, приготовляют централизованно на производственных базах специализированных отделочных организаций и поставляют на строительные объекты в готовом к применению виде. Когда на строительных объектах требуется небольшое количество шпатлевки, ее делают из готовых сухих шпат-левочных смесей (типа сухой шпатлевки «Сугик»). Сухую смесь перемешивают с водой до требуемой консистенции вручную или в растворосмесителях.
Подлежащие выравниванию поверхности сначала огрунтовывают, чтобы вяжущее из шпатлевки не проникло в толщу штукатурки или бетона и слой шпатлевки не терял прочности и в дальнейшем не разрушался вместе со слоем краски. Кроме того, при отсутствии грунтовки слой шпатлевки нельзя наложить ровным слоем, так как обрабатываемая поверхность, поглощая из шпатлевки жидкую фазу, обезвоживает ее и делает менее подвижной и пластичной.
Вручную поверхности огрунтовывают маховой кистью или макловицей, небольшие участки или поверхности на границе двух плоскостей, окрашиваемые в разные цвета (отводку), — кистью-ручником. Маховой кистью набирают из бачка небольшое количество грунтовки и наносят на поверхность плавными движениями так, чтобы кисть касалась поверхности только концами волос. Кисть время от времени поворачивают, чтобы волос ее срабатывался равномерно со всех сторон. Грунтовку на стены наносят двумя взаимно перпендикулярными движениями: сначала горизонтальными, затем вертикальными, а на потолки — сначала движениями, перпендикулярными по отношению к свету, затем параллельными.
Можно наносить грунтовку валиком. Валик опускают в ванночку с грунтовочным составом и один-два раза прокатывают по металлической решетке, отжимая излишки грунтовки. Затем валик прикладывают к поверхности и прокатывают один-два раза по одному и тому же месту, нажимая на рукоятку и добиваясь, чтобы грунтовка равномерно распределялась по поверхности. Для огрунтовки поверхности на высоте без применения стремянок или тумб укороченную ручку валика заменяют длинной.
Механизированным способом грунтовки наносят с помощью ручных или электрических краскопультов, а затем различных нагнетательных бачков с малярными удочками и краскораспылителями. Грунтовки, в состав которых входят сернокислые соли металлов (медный, железный и цинковый купоросы, глинозем и алюминиево-калиевые квасцы), наносить механизированным способом запрещается, так как это приводит к быстрому износу металлической аппаратуры, кроме того, распыленные грунтовки вредно действуют на дыхательные органы человека.
Мелкие трещины до нанесения шпатлевки расчищают и прорезают металлическим шпателем или острым ножом с утолщенным обушком, наклоняя плотно шпатель сначала вправо, а затем, при повторном движении, влево под углом 60 .70° к обрабатываемой поверхности. Образовавшуюся при этом пыль удаляют волосяной кистью или пылесосом и только после этого выполняют огрунтовку.
После огрунтовки трещины заделывают шпатлевкой на глубину не менее 2 мм и выравнивают поверхность деревянным шпателем с лезвием шириной 80 .200 м. Шпатлевку наносят на поверхность ровным слоем толщиной до 1 мм.
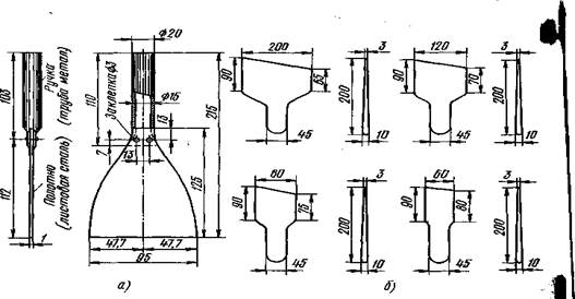
Для нанесения шпатлевки и выравнивания поверхности пользуются шпателями (рис.1) различных типов (ГОСТ 10778—83).
Рис.1. Металлические (а) и деревянные (б) шпатели.
Примечание. Источник [3,142]
При нанесении шпатлевки слева направо шпатель держат так, чтобы левая сторона полотна была несколько ниже правой
Тогда левая часть полосы укладывается ровным и гладким слоем, а на правой образуются наплывы, которые затем подбирают шпателем и используют при укладке следующей полосы.
При нанесении шпатлевки сверху вниз шпатель держат так, чтобы укороченная сторона полотна была слева, а при нанесении снизу вверх — справа.
Закончив полосу движением сверху вниз, в нижней части описывают шпателем полукруг, чтобы укороченная часть шпателя переместилась на правую сторону полосы, сгладив поверхность слева и гребень справа. В местах поворота шпателя образуются небольшие неровности — наплывы шпатлевки, которые сглаживают горизонтальным движением шпателя так, чтобы укороченная часть полотна была обращена в сторону зашпатлеванной поверхности.
При шпатлевании шпатель держат под различными углами к выравниваемой поверхности (чем меньше угол, тем больше толщина накладываемого слоя), при сглаживании — под углом 10 . 5 15°, причем левым краем шпателя перекрывают сглаженную полосу на 2 .3 см.
При больших объема малярных работ шпатлевку наносят с помощью малярной установки типа СО-21. Шпатлевка должна I быть более жидкой с осадкой по стандартному конусу 9 10 см. Бачок установки заполняют шпатлевкой и под давлением сжатого воздуха 0,3 .0,5 МПа по шлангам ее подают к форсунке краскораспылителя или удочки. Одновременно к форсунке по шлангам от компрессора подают сжатый воздух, который распыляет шпатлевку равномерным факелом по поверхности. Нанесенный слой разравнивают шпателем с резиновым лезвием.
Без применения столиков и стремянок потолки выравнивают шпателями на удлиненной ручке, длина которой зависит от высоты помещений. При выравнивании потолков часть шпатлевки не удерживается на шпателе и падает на пол, что значительно увеличивает ее расход. Поэтому целесообразно применять шпатели с карманами, в которые стекает с лезвия снятая с потолка шпатлевка. Из карманов шпатлевку сливают в бачок и после процеживания используют вновь.
Высохший первый слой шпатлевки огрунтовывают, а затем наносят второй слой таким же образом, а при необходимости и третий. Высохшую прошпатлеванную поверхность (обычно через сутки после нанесения последнего слоя) шлифуют вручную (пемзой или шкуркой) специальными приспособлениями или пневматическими, или электрическими машинами.
