Отопление гражданского зданияРефераты >> Строительство >> Отопление гражданского здания
Содержание
Введение
1 Климатическая характеристика района строительства
2 Теплотехнический расчет ограждающих конструкций
2.1 Наружная стена
2.2 Перекрытие над неотапливаемым подвалом
2.3 Бесчердачное покрытие
2.4 Оконный блок
2.5 Наружная дверь
2.6 Внутренняя стена
2.7 Неутепленный пол лестничной клетки
2.8 Теплотехнические характеристики ограждающих конструкций
3 Теплоэнергетический баланс здания
4 Выбор и обоснование системы отопления
5 Отопительные приборы
5.1 Расчет отопительных приборов
Заключение
Библиографический список
Введение
В последнее время в России, как и во всем мире, существенно возросло и продолжает возрастать потребление энергии. И вместе с тем наблюдается постоянный рост стоимости всех видов топлива. Это связано с усложнением добычи топлива при освоении глубоких месторождений; к тому же запасы некоторых видов топлива подходят к концу. Известно, что на теплоснабжение гражданских и производственных зданий расходуется более одной трети всего добываемого в России органического топлива. И поэтому все более актуальной и значимой задачей является экономное расходование теплоты на всех этапах от ее выработки до потребителя.
В России основными среди теплозатрат на коммунально-бытовые нужды в зданиях являются затраты на отопление. Это объясняется тем, что на большей части территории страны в зимний период устанавливается низкая температура воздуха, и потери теплоты в зданиях через ограждающие конструкции превышают внутренние тепловыделения. Для поддержания необходимой температурной обстановки приходится оборудовать здания отопительными установками или системами.
Отоплением называется искусственное, с помощью специальной установки или системы, обогревание помещений здания для компенсации теплопотерь и поддержания в них температурных параметров на уровне, определяемом условиями теплового комфорта для находящихся в помещении людей или требованиями технологических процессов, протекающих в производственных помещениях.
Отопление является отраслью строительной техники. Монтаж стационарной отопительной системы проводится в процессе возведения здания, ее элементы при проектировании увязываются со строительными конструкциями и сочетаются с планировкой и интерьером помещений.
Вместе с тем, отопление – один из видов технологического оборудования. Параметры работы отопительной системы должны учитывать теплофизические особенности конструктивных элементов здания и быть увязаны с работой других инженерных систем, прежде всего, с рабочими параметрами системы вентиляции и кондиционирования воздуха.
Отопление зданий начинают при устойчивом (в течение 5 суток) понижении среднесуточной температуры наружного воздуха до 8°С и ниже, а заканчивают при устойчивом повышении температуры наружного воздуха до 8°С. Период отопления здания в течение года называют отопительным сезоном. Длительность отопительного сезона устанавливают на основании многолетних наблюдений как среднее число дней в году с устойчивой среднесуточной температурой воздуха £ 8°С.
Гигиенические исследования микроклимата помещений и комфортное пребывание человека в этих помещениях позволили выработать ряд требований, предъявляемых к системам отопления:
Санитарно-гигиенические. Обеспечение требуемых СНиП температур во всех помещениях и поддержание температур внутренних поверхностей наружных ограждающих конструкций и отопительных приборов на определенном уровне.
Строительные. Обеспечение соответствия архитектурно-планировочным и конструктивным решениям здания; увязка размещения отопительных приборов и их элементов со строительными конструкциями.
Архитектурные (эстетические). Хорошая сочетаемость с внутренней архитектурной отделкой помещения и минимальная площадь, занимаемая системой отопления.
Монтажные. Обеспечение монтажа индустриальными методами с максимальным использованием унифицированных узлов и минимальном количестве типоразмеров.
Эксплуатационные. Простота и удобство обслуживания, управления, ремонта, надежность, безопасность и бесшумность действия.
Экономические. Обеспечение минимальных приведенных затрат по сооружению и эксплуатации на основании технико-экономического сравнения вариантов.
1. Климатическая характеристика района строительства
Район строительства: город Тула
Расчетные параметры наружного воздуха
Таблица 1.1 - Расчетные параметры наружного воздуха [1, табл.1]
|
Температура воздуха наиболее холодной пятидневки, °С, обеспеченностью 0,92; text |
Период со среднесуточной температурой ≤ 8 °С |
Максимальная из средних скоростей ветра по румбам за январь м/с | |
|
Продолжительность, сут. Zht |
Средняя температура воздуха, °С tht | ||
|
-27 |
207 |
-3 |
- |
Зона влажности территории России: 2 – «нормальная» [2, прил. В]
Влажностный режим помещений зданий: «нормальный» [2, табл. 1], т.к. tint = 20 .220С и φ= 50 .55% [3, табл. 1]
Условия эксплуатации ограждающей конструкции: «Б» [2, табл.2]
2. Теплотехнический расчет ограждающих конструкций
Теплотехнический расчет заключается в определении толщины искомого слоя ограждения, при котором температура на внутренней поверхности ограждения будет выше температуры точки росы внутреннего воздуха и будет удовлетворять теплотехническим требованиям: R0 ≥ Rreg.
Расчет выполняется в соответствии со СНиП 23-02-2003 «Тепловая защита зданий», СП 23-101-2004 «Проектирование тепловой защиты зданий».
Теплотехническому расчету подлежат наружные стены, бесчердачные покрытия, перекрытия над неотапливаемым подвалом, окна и наружные двери, внутренние стены (перегородки), неутепленный пол лестничной клетки.
2.1 Наружная стена
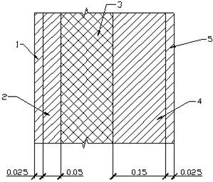
Эскиз элемента ограждающей конструкции (по варианту)
Рисунок 2.1
Теплотехническая характеристика ограждающей конструкции (наружной стены)
Таблица 2.1 - Нормируемые теплотехнические показатели строительных материалов и изделий [4, табл. Е.1]
|
Наименование материальных слоев ограждающей конструкции |
Обозначение |
Толщина слоя, м |
Расчетный коэффициент λ, Вт/(м·°С) |
|
1. Цементно-песчаный раствор, ρ0 = 1800 кг/м3 |
δ1 |
0,025 |
0,93 |
|
2. Железобетон, ρ0 = 2500 кг/м3 |
δ 2 |
0,05 |
2,04 |
|
3. Пенополистирол (ГОСТ 15588), ρ0 = 40 кг/м3 |
δ 3 |
— |
0,05 |
|
4. Железобетон, ρ0 = 2500 кг/м3 |
δ 4 |
0,15 |
2,04 |
|
5. Цементно-песчаный раствор, ρ0 = 1800 кг/м3 |
δ 5 |
0,025 |
0,93 |
