Подтверждение соответствия тяжелого товарного бетона класса В15Рефераты >> Строительство >> Подтверждение соответствия тяжелого товарного бетона класса В15
Если после снятия конуса бетонная смесь приобретает форму, затрудняющую определение ее осадки, измерение не производят и повторяют испытание на новой порции бетонной смеси. Время испытания с начала наполнения конуса и до измерения осадки бетонной смеси не должно превышать 2,5 мин.
Осадку конуса бетонной смеси вычисляют с точностью до 1 см, как среднее арифметическое результатов двух определений из одной пробы, различающихся между собой не более чем на 1 см при ОК ≤ 4 см, на 2 см при ОК, равном 5-9 см, и на 3 см при ОК ≥ 10 см. При большем расхождении результатов испытание повторяют. Затем заносят в журнал дату и время испытаний, место отбора пробы, марку и вид бетона, изготовленного из испытываемой смеси, результаты частных испытаний и среднее арифметической значение ОК.
Рисунок 2.2 – Определение подвижности бетонной смеси
1 - ручка; 2 - корпус прибора; 3 - упоры; 4 - сварной шов
Жесткость характеризует смесь, если осадка конуса равна нулю. Определяют жесткость временем вибрации, необходимым для выравнивания и уплотнения предварительно отформованного конуса бетонной смеси. При наибольшей крупности зерен заполнителей до 40 мм включительно жесткость бетонной смеси определяют на лабораторной виброплащадке СМЖ-539 (рисунок 2.3).
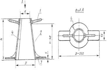
Рисунок 2.3 – Прибор для определения жесткости бетонной смеси:
1 - цилиндрическое кольцо с фланцем в основании; 2 - конус; 3 - кольцо-держатель с ручками; 4 - загрузочная воронка; 5 - штатив; 6 - направляющая втулка; 7 - фиксирующая втулка с зажимным винтом; 8 - диск с шестью отверстиями; 9 - стальная шайба; 10 - штанга.
Прибор для определения жесткости бетонной смеси (рисунок 2.2) закрепляют на столе виброплащадки. Цилиндрическое кольцо, кольцо-держатель и воронку прибора изготавливают из листовой стали. Кольцо и конус должны быть с гладкой внутренней поверхностью.
Собирают прибор в такой последовательности: жестко крепят кольцо, вставляют в него конус и закрепляют его ручками, сверху устанавливают воронку. Диск 8 с отверстиями поворотом штатива устанавливают над отформованной бетонной смесью и отпускают на поверхность конуса. Штатив закрепляют в фиксирующей втулке зажимным винтом. Одновременно включают виброплащадку и секундомер, и наблюдают за выравниванием и уплотнением бетонной смеси. В момент, когда начнет выделяться цементное тесто из двух отверстий диска, вибрирование прекращают и выключают секундомер. Полученное время вибрирования характеризует жесткость. Его вычисляют с точностью до 1 с как среднеарифметическое значение результатов двух определений жесткости из одной пробы, различающихся между собой не более чем на 20%. При большем расхождении результатов испытание повторяют. Пробы для определения жесткости или подвижности бетонной смеси отбирают в три приема с интервалом 1 мин.
Для определения средней плотности бетонной смеси применяют:
- формы для изготовления контрольных образцов бетона по ГОСТ 22685;
- весы лабораторные по ГОСТ 24104;
- виброплащадку лабораторную;
- кельму типа КБ по ГОСТ9533;
- линейку стальную по ГОСТ 427;
- сосуды металлические цилиндрические, размеры которых принимают в зависимости от наибольшей крупности зерен фракции заполнителя (таблица 2.8).
Таблица 2.8 – Размеры металлических сосудов
|
Наибольшая крупность зерен фракции заполнителя, мм |
Вместимость сосуда, см3 |
Внутренний размер сосуда, мм | |
|
диаметр |
высота | ||
|
≤ 20 |
1000 |
108 |
108 |
|
40 |
5000 |
185 |
158 |
|
≥ 70 |
10000 |
234 |
234 |
Для определения расслаиваемости бетонной смеси применяют:
- формы стальные для изготовления контрольных образцов бетона типа ФК-200 по ГОСТ 22685;
- сосуд вместимостью 5000см3;
- виброплащадку лабораторную;
- противень;
- линейки стальные по ГОСТ 427;
- сито с отверстиями диаметром 5мм;
- электрошкаф сушильный;
- посуду мерную стеклянную по ГОСТ 1770.
2.6 Технологические режимы
2.6.1 Технологические процессы подготовки сырья
Приготовление бетонной смеси включает подготовку материалов, их дозирование и перемешивание бетонной смеси. На заводах сборного железобетона или на стройках проводят, если есть необходимость, приготовление растворов химических добавок, оттаивание и подогрев заполнителя в зимнее время.
Подготовка растворов химических добавок включает растворение в воде твердых, пастообразных или жидких продуктов добавок и последующее доведение раствора до заданной концентрации. Приготовление добавок осуществляют в специальных емкостях, снабженных системой трубопроводов для перемешивания раствора сжатым воздухом, а при необходимости – паровыми регистрами для подогрева. После приготовления добавки подают в расходную емкость, снабженную датчиком уровня, и по мере необходимости – через дозатор в бетоносмеситель.
Подогрев заполнителей обычно осуществляют в бункерах, реже непосредственно на крытых складах. Для подогрева используют либо контактный способ подогрева заполнителей с помощью паровых труб и гребенок, размещаемых в бункерах.
2.6.2 Технологические режимы производства продукции
Важным технологическим переделом является дозирование материалов. Для получения бетонной смеси заданного состава необходимо правильно отмеривать (дозировать) количество составляющих (вяжущих, заполнителей, воды, добавок) перед поступлением их в смеситель. Заданное количество составляющих можно измерять по объему или массе, или по объему с корректированием массы. Отклонение от заданного количества содержания дозы того или иного материала называют погрешностью дозирования и измеряют в процентах. Устройства для отмеривания количества составляющих называют дозаторами. На современных бетонных заводах используют в основном весовые дозаторы, т.е. дозирование материалов по массе: цемент, воду и добавки – с точностью до 2 л, песка и щебня с точностью до 10 кг. При этом расход цемента округляют обычно в большую сторону, а воды в меньшую.
Вторым важным технологическим переделом является перемешивание бетонной смеси. В процессе перемешивания материалы равномерно распределяются по всему объему, зерна цемента и заполнителя смачиваются водой, в результате получается однородная масса, свойства которой в любом месте объема одинаковы. Вид и состав бетона оказывают заметное влияние на требования к перемешиванию. Подвижные смеси легче перемешивать, чем жесткие: жирные перемешиваются лучше, чем тощие, крупнозернистые – лучше, чем мелкозернистые или тонкозернистые.
