Проектирование и расчёт конструкций из дереваРефераты >> Строительство >> Проектирование и расчёт конструкций из дерева
Схематический чертеж ограждающей конструкции
1. Фанерная обшивка: g0 = 600 кг/м3; d1 = 10 мм; l1 = 0.18 Вт/(м×С0);
2. Утеплитель – минераловатные плиты на синтетическом связующем (прошивные): g0 = 125 кг/м3; l2 = 0.07 Вт/(м×С0);
3. Пароизоляция d3 = 0.2 мм;
4. Воздушная прослойка d4 = 87 мм; d4 /l4 = 0.19;
5. Фанерная обшивка g0 = 600 кг/м3; d5 = 10 мм; l5 = 0.18 Вт/(м×С0);
6. Рубероид (3 слоя) g0 = 600 кг/м3; d5 = 5 мм; l5 = 0.17 Вт/(м×С0).
Определяем
через ГСОП (градусы сутки отопительного периода):
, отсюда
Принимаем толщину утеплителя равную 8 см.
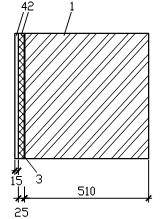
Теплотехнический расчет кирпичной стены:
Схематический чертеж ограждающей конструкции
1. Кладка из силикатного кирпича на цементно-песчаном растворе: g0 = 1800 кг/м3; d1 = 510 мм; l1 = 0.87 Вт/(м×С0);
2. Утеплитель – минераловатные плиты на синтетическом связующем (жесткие): g0 = 125 кг/м3; l2 = 0.07 Вт/(м×С0);
3. Пароизоляция: d3 = 0.2 мм;
4. Штукатурка по сетке: g0 = 1700 кг/м3; d4 = 15 мм; l4 = 0.87 Вт/(м×С0).
Определяем
через ГСОП (градусы сутки отопительного периода):
, отсюда
Принимаем толщину утеплителя равную 25 мм, а толщину стены – 550 мм.
Расчет утепленной клеефанерной панели покрытия
Исходные данные. Размер панели в плане 1,48х5,98 м; обшивки из водостойкой фанеры марки ФСФ сорта В/ВВ по ГОСТ 3916-69*; ребра из сосновых досок второго сорта. Клей марки ФРФ-50. Утеплитель – минераловатные плиты на синтетическом связующем по ГОСТ 9573-82*. Плотность утеплителя 1 кН/м3. Пароизоляция из полиэтиленовой пленки толщиной 0,2 мм. Воздушная прослойка над утеплителем – вентилируемая вдоль панели. Кровля из рулонных материалов (рубероид) трехслойная. Первый слой рубероида наклеивают на заводе с применением мастик повышенной теплостойкости и механизированной прокатки слоя. Оставшиеся два слоя наклеивают после установки панели. Район строительства – Костромская область.
Компоновка рабочего сечения панели. Ширину панели делают равной ширине фанерного листа с учетом обрезки кромок для их выравнивания bп = 1480 мм. Толщину фанеры принимают 10 мм. Направление волокон наружных шпонов фанеры как в верхней, так и в нижней обшивке панели должно быть продольным для обеспечения стыкования листов фанеры “на ус” и для лучшего использования прочности фанеры.
Для дощатого каркаса, связывающего верхние и нижние фанерные обшивки в монолитную склеенную коробчатую панель, применены черновые заготовки по рекомендуемому сортаменту пиломатериалов (применительно к ГОСТ 24454-80*Е) сечением 50х175 мм. После сушки (до 12% влажности) и четырехстороннего фрезирования черновых заготовок на склейку идут чистые доски сечением 42х167 мм. Расчетный пролет панели lр = 0,99l = 0,99×2960 = 2930 мм. Высота принята hп = 187 мм, что составляет 18,7/592 = 1/32 пролета и соответствует рекомендациям, согласно которым высота панели составляет 1/30–1/32 пролета.
Каркас панели состоит из четырех продольных ребер. Шаг ребер принимают из расчета верхней фанерной обшивки на местный изгиб поперек волокон от сосредоточенной силы Р = 1×1,2 = 1,2 кН как балки, заделанной по концам (у ребер) шириной 1000 мм. Расстояние между ребрами в осях с = (1480-2,42)/3 = 492 мм.
Изгибающий момент в обшивке М = Р×с/8 = 1,2×492/8 =73.8 кН×мм. Момент сопротивления обшивки шириной 1000 мм.
.
Напряжение от изгиба сосредоточенной силой
, здесь 1,2 – коэффициент условия работы для монтажной нагрузки.
Для придания каркасу жесткости продольные ребра соединены на клею с поперечными ребрами, расположенными по торцам и в середине панели. Продольные кромки панелей при установке стыкуются с помощью специально устроенного шпунта из трапецевидных брусков, приклееных к крайним продольным ребрам. Полученное таким образом соединение в шпунт предотвращает вертикальный сдвиг в стыке и разницу в прогибах кромок смежных панелей даже под действием сосредоточенной нагрузки, приложенной к краю одной из панелей.
Нагрузки на панель. Панели предназначены для укладки по несущим деревянным конструкциям. Подсчет нормативной и расчетной нагрузок приведен в таблице .
|
№ п/п |
Наименование нагрузки |
Нормативная нагрузка, кН/м2 |
gf |
Расчетная нагрузка, кН/м2 |
|
1 |
Кровля рубероидная трехслойная |
0,12 |
1,3 |
0,156 |
|
2 |
Фанерная обшивка, фанера марки ФСФ |
0,14 |
1,1 |
0,154 |
|
3 |
Продольные и поперечные ребра |
0,128 |
1,1 |
0,1408 |
|
4 |
Утеплитель – минераловатные плиты |
0,075 |
1,1 |
0,09 |
|
5 |
Пароизоляция |
0,02 |
1,3 |
0,026 |
|
6 |
Постоянная |
0,483 |
0,567 | |
|
7 |
Временная |
1,5 |
1,6 |
2,4 |
|
8 |
Полная |
1,983 |
2,967 |
