Проектирование спортивных сооруженийРефераты >> Строительство >> Проектирование спортивных сооружений
При помещениях для физкультурно-оздоровительных занятий для хранения переносного оборудования и инвентаря предусматриваются инвентарные. При помещениях для групповых занятий по общей физической подготовке (включая игры с мячом) размером 24´12 м и 18´12 м площадь инвентарной рекомендуется 18 м2 (6´3 м), а при размере помещения 18´9 м - 15 м2 (6´2,5 м).
В случае применения в этих помещениях пристенного трансформируемого оборудования, а также при остальных помещениях, приведенных в табл. 18 (кроме помещения для настольного тенниса), площадь инвентарной рекомендуется 8 м2.
Наличие помещений медико-восстановительного центра позволяет использовать их населением на основе платных услуг, в связи с чем при объемно-планировочном решении сооружения целесообразно учитывать возможность автономного использования помещений центра населением при удобной связи с остальными основными и вспомогательными помещениями.
Прямое естественное освещение предусматривается во всех основных помещениях для физкультурно-оздоровительных занятий и может быть, как правило, боковым (односторонним или двухсторонним). Расчетная площадь световых проемов принимается в пределах 12-17% площади пола помещения.
Световые проемы вдоль стен для обеспечения равномерности освещения рекомендуется принимать ленточными. При устройстве двухстороннего освещения следует иметь в виду, что площади световых проемов в противоположных стенах могут различаться не более чем вдвое.
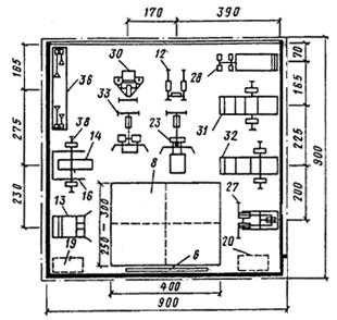
ПРИМЕРЫ СХЕМ ПЛАНОВ РАССТАНОВКИ ОБОРУДОВАНИЯ В ПОМЕЩЕНИЯХ ДЛЯ ФИЗКУЛЬТУРНО-ОЗДОРОВИТЕЛЬНЫХ ЗАНЯТИЙ
На рис. 7-12 приведены примеры схем планов помещений для различных видов физкультурно-оздоровительных занятий с расстановкой необходимого оборудования.
В помещениях размерами 24´12 м и 18´12 м (см. рис. 7) проведение общеразвивающих упражнений предусматривается осуществлять на свободном от гимнастического оборудования пространстве с использованием тренажеров и гимнастических стенок.
В помещениях для групповых занятий элементами борьбы (см. рис. 8) стены, примыкающие к уложенным на полу матам, должны иметь мягкую обивку.
Для занятий ритмической гимнастикой, хореографией и женской оздоровительной гимнастикой наилучшим является помещение размером 12´12 м, приведенное на рис. 9 прил. 3 настоящего Пособия. На рис. 3 настоящего приложения приведен план помещения для этих занятий минимального размера. Помост для тренера может предусматриваться переносным или пристенным (откидным), а зеркала и хореографические станки устанавливаются стационарно.
На рис. 7-9 приведены схемы планов расстановки оборудования в помещениях с тренажерами для развития различных физических качеств. При этом на рис. 7 и 8 в одинаковых по размеру помещениях установлены различные по составу тренажеры.

Рис. 7 - Схемы планов помещений размерами 24´12 м и 18´12 м для групповых занятий по общей физической подготовке на пристенном трансформируемом гимнастическом оборудовании и тренажерах (размеры в сантиметрах)

Рис. 8 - Схемы планов помещений размерами 15´9 м и 12´9 м для групповых занятий элементами борьбы (размеры в сантиметрах)
Рис. 9 - Схема плана помещения размером 9´9 м для групповых занятий по ритмической гимнастике, хореографии и женской оздоровительной гимнастике (размеры в сантиметрах)
Рис. 10 - Планы помещений размерами 12´12 м и 12´9 м с расстановкой в них тренажеров (размеры в сантиметрах)
Рис 11 - План помещения размером 9´9 м с расстановкой в нем тренажеров (размеры в сантиметрах)
Рис. 12 - План помещения размером 9´9 м с расстановкой в нем тренажеров из набора КАП-2 (размеры в сантиметрах)
Крытый конькобежный центр в Крылатском
|
место: |
Москва, Россия |
|
функциональный тип: |
Спортивный, Спорткомплекс |
|
реализация: |
2004 |
|
архитектор: |
Андрей Боков |
|
мастерская: |
ГУП МНИИП "Моспроект-4" |
|
ссылки: |
www.bokov.info |
Главной целью проектирования ККЦ стало создание искусственного ледового поля, позволяющего вести круглогодичную подготовку спортсменов-конькобежцев на уровне высших мировых требований, а также проводить соревнования вплоть до чемпионатов мира или Олимпийских игр по скоростному бегу на коньках. Крытый конькобежный центр (ККЦ) в Крылатском – это первый в России крытый каток с 400-метровой беговой ледовой дорожкой. ККЦ - 2-6-этажное здание полукруглой формы в плане. Такая форма сделала возможным устройство основной трибуны на 6000 зрителей с наиболее зрелищной стороны – у финиша. Большепролетное покрытие над Ареной и трибунами (117 м в радиальном направлении) решено в виде двух рядов веерообразно расходящихся деревометаллических ферм, опирающихся на железобетонный ствол основания главной опоры, на железобетонные колонны по периметру и подвешенных стальными вантами к Л-образному пилону (общая высота 70 м) с заделанными в фундамент оттяжками. Фасады облицованы кассетами «Алюкобонд» серебрянного цвета и панелями из Минерита белого цвета. Навесы над галереями из поликарбоната трех оттенков синего цвета.
Ледовый дворец спорта на Ходынском поле
|
место: |
Москва, Россия |
|
функциональный тип: |
Спортивный, Спорткомплекс |
|
проектирование: |
2004 |
|
реализация: |
2006 |
|
архитектор: |
Андрей Боков |
|
мастерская: |
ГУП МНИИП "Моспроект-4" |
|
ссылки: |
www.bokov.info |
Ледовый дворец спорта располагается в значимом месте Ходынского поля: с одной стороны он завершает левый фланг протяженной панорамы застройки партерной части на юге, а с другой - замыкает перспективу взлетно-посадочной полосы на востоке. Объемно-пространственное решение здания Ледового дворца логично вытекает из общего градостроительного решения квартала - проходы к нему через квартал подхватываются широкими пандусами, спирально опоясывающими цилиндр (диаметром 120 метров и высотой более 40 метров) основного объема здания дворца и поднимающими зрителей на верхние уровни, где, начиная со второго этажа, запроектированы вестибюли и фойе. Направление движения входных пандусов повторяют светопропускающие навесы над ними, в свою очередь, переходящие в навес кровли здания. Основное здание имеет 9 надземных этажей и подвал, Ледовый дворец предназначен для тренировочных занятий и проведения соревнований по хоккею, фигурному катанию, по другим видам спорта (баскетбол, бокс, теннис, гимнастика), а также для проведения эстрадных представлений.
