Расчет и конструирование многопустотной панели покрытия ПК63.15-6Ат800Рефераты >> Строительство >> Расчет и конструирование многопустотной панели покрытия ПК63.15-6Ат800
1. Исходные данные
Для изготовления панели принимаем:
Бетон кл. С12/15 (кл.В15); fск=7,7Мпа; fсtк=0,67Мпа;
. Продольную арматуру – из стали класса S400; Rs=365Мпа; и поперечную арматуру из S240; Rs=225Мпа; армирование – сварными сетками в верхней и нижней полках из проволоки класса Вр-I Rs=365Мпа.
2. Нагрузки , Н/м2.
|
№ п/п |
Вид и расчет нагрузки |
Постоянная |
Коэф. перегрузки |
Расчетная |
|
1 |
Постоянная | |||
|
2 слоя изопласта |
100 |
1,1 |
110 | |
|
Цем.-песчаная стяжка толщ.20мм 0,02х18000= |
360 |
1,3 |
468 | |
|
Утеплитель плиты пенополистирольные Y=35кг/м3 толщ. 300мм 350х0,3= |
105 |
1,1 |
116 | |
|
Ж -бет. пустотная плита т.220мм Вес плиты/площадь =41900/1,49х8,98= |
3130 |
1,1 |
3440 | |
|
Итого |
3695 |
4140 | ||
|
2 |
Временная снег |
800 |
1,5 |
1200 |
|
Всего |
4495 |
5340 |
Полная нагрузка при расчете панелей qн=4495 qр=5340
Определение нагрузок и усилий
1п.м. панели шириной 150см нагрузка равна, Н/м:
qн=4495х1,5=6740Н/м; qр=5340х1,5=8010Н/м.
l0=6280-24/2=6160мм;
Расчетный изгибающий момент от полной нагрузки:
Максимальная поперечная сила на опоре от расчетной нагрузки:
Q=
Расчетная схема
3. Расчетные данные для подбора сечений.
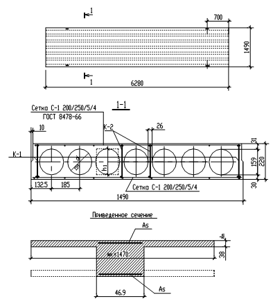
Панель рассчитываем, как балку прямоугольного сечения с заданными размерами bхh=15х22см, где b – номинальная ширина и h- высота панели. В расчете поперечное сечение пустотной панели приводим к эквивалентному двутавровому сечению. Заменяем площадь пустот прямоугольниками той же площади и того же момента инерции. Вычисляем:
h1=0.9d=0.9х15,9=14,3см;
hn=
Приведенная толщина ребер b=147-7
14.3=46.9см
Расчетная ширина сжатой полки
4. Расчет по прочности нормальных сечений.
Предварительно проверяем высоту сечения панели перекрытия из условия обеспечения прочности при соблюдении необходимой жесткости:
h=
где qн=qн+рн=3695+800=4495Н/м2
Принятая высота сечения h=22см достаточна.
Отношение h
=3.8/22=0.173
в расчет вводим всю ширину полки
Вычисляем по формуле:
А0=
где h0=h-a=22-3=19cм
по табл. 2.11 находим
=0,1;
Высота сжатой зоны
нейтральная ось проходит в пределах сжатой зоны полки.
Площадь продольной арматуры.
Аs=
Принимаем 6 Æ10S400 с Аs=4,71см,
а также учитываем сетку 200/250/5/4 ГОСТ 8478-66) Аs.прод.=7
0,116=1,37см2, всего Аs=1.37+4,71=6,08см2, стержни Æ12мм распределяем по 2 в крайних ребрах и по1 в 2х средних ребрах.
5. Расчет по прочности наклонных сечений.
Проверяем условие:
Q≤0.35xfскxγbxbxh0
Q=24600Н<0.35х13.5(100)х0.85х46.9х19=358000Н,
условие удовлетворяется, размеры сечения достаточны.
Проверяем условие необходимости постановки поперечной арматуры для многопустотных панелей по формуле:
Q
Q=24600H<k1
fсtк
y
=0.6
0.67(100)
0.9
46.9
19=32240H,
следовательно количество поперечной арматуры по расчету не требуется.
Поперечную арматуру предусматриваем по конструктивным условиям, располагая ее с шагом не более:
назначаем поперечные стержни диаметром 6мм, класса S240 через 10см у опор на участках длиной ¼ пролета. В конце этих участков, т.е. на расстоянии 5,98/4=1,5м от опоры. В средней части панели для связи продольной арматуры ставим поперечные стержни через 0,5м.
Проверяем прочность наклонного сечения у опоры:
