Технология строительства промышленного здания с использованием железобетонных конструкцийРефераты >> Строительство >> Технология строительства промышленного здания с использованием железобетонных конструкций
где
e = e0η + h/2 – a = 1·1 + 10/2 – 3,5 = 2,5 см;
s0 = 0,5bh2 = 0,5·20·102 = 1000 см3.
Принимаем из конструктивных соображений Æ8 А-III с Аs = 2,01 см2.
m = Аs/А = 2,01/10·20 = 0,01 = 1% > mmin = 0,1%.
Аналогично армируем все остальные сжатые элементы решетки, так как усилия в них меньше чем для рассчитанного раскоса.
6.6 Конструирование элементов фермы
Расчет узлов
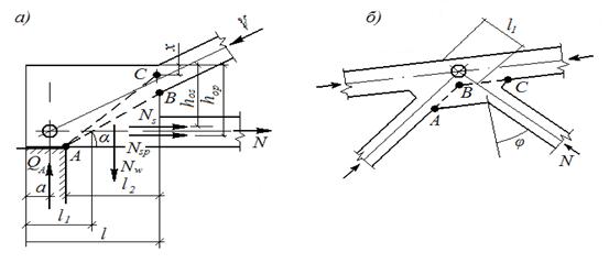
Опорный узел (рис. 8.1, а)
В опорном узле подбираются:
- дополнительная продольная ненапрягаемая арматура, компенсирующая понижение расчетного усилия в напрягаемой арматуре из-за недостаточной анкеровки последней в узле;
- поперечные стержни, обеспечивающие прочность по наклонным сечениям.
Рис. 6.1. К расчёту узлов фермы: а – опорного узла; б – промежуточного узла
Требуемая площадь дополнительной ненапрягаемой арматуры
Принимаем 4Æ12 А-III с Аs = 4,52 см2.
Требуемая длина анкеровки ненапрягаемой арматуры
lan = 35d = 35·12 = 420 мм, меньше ее фактической длины
Расчет на отрыв по наклонному сечению АВ
Принимаем в опорном узле два каркаса, располагая их у противоположных граней узла; шаг поперечных стержней в каркасе 100 мм. Тогда наклонное сечение пересекает
n = 2·8 = 16 стержней
Требуемая площадь сечения одного поперечного стержня
где
Nsp = RspAspl’p/lp = 1080·566·580/1500 = 236,36 кН;
Ns = RsAsl1а/lar = 365·452·1 = 165 кН.
Принимаем Æ6 А-III с Аs = 0,28 см2.
Расчет на изгиб по наклонному сечению АВ
где β – угол наклона приопорной панели верхнего пояса tg β=145/290=0.5 и β=26,36°, sin β=0,448;
l = 1150 мм – длина опорного узла;
zsw = (l2 - 100)/2 = (850 - 100)/2 = 375 мм – расстояние от центра тяжести сжатой зоны до равнодействующей усилий в поперечной арматуре узла;
а = 150 мм – расстояние от торца до центра опорного узла;
l2 = l – 300 = 1150 – 300 = 850 мм;
h0p = hsup – 0,5·h = 800 – 0,5·300 = 650 мм.
.
Принимаем Æ6 А-III с Аs = 0,28 см2.
Промежуточный узел нижнего пояса (рис. 6.1, б)
Фактическая длина заделки
l1 = 280 мм;
Длина линии отрыва
l2 = 645 мм;
Принимаем шаг поперечных стержней 100 мм.
Количество поперечных стержней
n = 645·2/100 – 2 = 12 шт.
Требуемая площадь сечения одного поперечного стержня
где k2 = 1,1 – для данного узла нижнего пояса;
j = 63,24°;
а = 3·d = 3·10 = 30 мм;
lan = 35·d = 35·10 = 350 мм;
.
Объединяем стержни в каркас с помощью цельноугольного окаймляющего стержня площадью сечения
Принимаем окаймляющий стержень Æ10 А-III с Аs = 0,785 см2.
Расчет монтажного узла
Две части фермы соединяются накладками с помощью сварки. Расчет заключается в определении длины накладки из условий размещения сварного шва.
Длина шва
Np = N/n – число сварных швов
Np = 805.44/4 = 201.4 кН.
Принимаем длину накладки 7 см.
Верхний пояс и элементы решётки армируются пространственными каркасами, собранными из плоских с применением контактной точечной сварки. Диаметры продольных стержней принимаются в соответствии с расчётом не менее 10 мм, поперечные и соединительные стержни диаметром мм класса А-I с шагом не более 20d и не менее 500 мм (для сжатых элементов фермы). Узлы ферм армируются пространственными каркасами, которые образуются за счёт перегиба поперечных стержней плоских каркасов. Окаймляющие стержни этих каркасов выполняются цельногнутыми диаметром не менее 10 мм и стыкуются у верхних граней опорного и промежуточных узлов верхнего пояса и нижних граней промежуточных узлов нижнего пояса. В опорных узлах применяется дополнительное армирование в виде анкерных стержней закладных деталей, хомутов и сеток косвенного армирования Ø6 с шагом 100 мм на длине не менее 200 мм от торца фермы. Длина заделки арматуры растянутых элементов решётки в пределы вута и пояса должна быть не менее k1·40d и не менее 300 мм, а сжатых – не менее 15d (K1 = σs/Rs, d – диаметр стержней). Усиленная анкеровка растянутой арматуры решётки достигается приваркой арматурных коротышей длиной 6d или петель. Напрягаемая арматура распределяется по сечению нижнего пояса равномерно с соблюдением минимальных расстояний между осями стержней (60 …80 мм в зависимости от диаметра стержня или каната). По длине нижнего пояса вокруг напрягаемой арматуры устанавливаются замкнутые хомуты с шагом не более 500 мм. Обычно это достигается установкой двух встречных П-образных каркасов. Длина каркасов принимается сравнительно небольшой с тем, чтобы они не препятствовали укорочению нижнего пояса при его обжатии усилием в напрягаемой арматуре.
Список литературы
1. В.Н.Байков, Э.Е.Сигалов Железобетонные конструкции: Общий курс – Учебник для вузов. – изд. 4-е., перераб. М: Стройиздат, 1985. – 728с.
2. Горев В.В. Металлические конструкции – изд.2-е, т.2.М: Высшая школа, 2002. – 527с.
3. СниП 2.01.07-85*. Нагрузки и воздействия.
4. СНиП 2.03.01 -84* Бетонные и железобетонные конструкции
