Электротехника в строительствеРефераты >> Строительство >> Электротехника в строительстве
С целью уменьшения потерь тепла от рассеивания слой опилок уплотняют и накрывают деревянными щитами, матами, толем и пр.
Расход электрической энергии для отогрева грунта с помощью стальных электродов в большой степени определяется влажностью грунта и составляет от 42 до 60 кВт-ч на 1 м3 мороженого грунта при длительности отогрева от 24 до 30 ч. Работы по размораживанию грунта электрическим током должны производиться под надзором квалифицированного персонала, ответственного за соблюдение режима отогрева, обеспечения безопасности работ и исправности оборудования. Указанные требования и сложности их выполнения, естественно, ограничивают возможности применения этого способа. Лучшим и более безопасным методом является применение напряжения до 12 В.
Рис 1 - Конструкция трехфазных нагревателей для отогрева грунта: а - нагреватель; б - схема включения; 1 - стержень стальной диаметром 19 мм, 2 -труба стальная диаметром 25 мм, 3 -втулка стальная диаметром 19-25 мм, 4 - контакты медные сечением 200 мм2, 5 - полоска стальная 30X6 мм2
Электрические трехфазные нагреватели позволяют произвести отогрев грунта при напряжении 10 В. Элемент нагревателя состоит из трех стальных стержней, каждый стержень вставлен в две стальные трубы, общая длина которых на 30 мм меньше длины стержня; концы стержня сварены с концами этих труб. Пространство между стержнем и внутренней поверхностью каждой трубы засыпано кварцевым песком и для герметизации залито жидким стеклом (рис. 15)- Концы трех труб, расположенных в плоскости А-Л, соединены между собой приваренной к ним полоской стали, образуя нейтральную точку звезды нагревателя. Три конца труб, расположенных в плоскости Б-Б, при помощи закрепленных на них медных зажимов присоединяются через специальный понизительный трансформатор мощностью 15 кВ-А к электрической сети. Нагреватель укладывается непосредственно на грунт и засыпается талым песком толщиной 200 мм. Для уменьшения потерь тепла отогреваемый участок дополнительно укрывают сверху матами из стекловолокна.
Расход электрической энергии для отогрева 1 м3 грунта при этом методе составляет 50-55 кВт-ч, а время отогрева 24 ч.
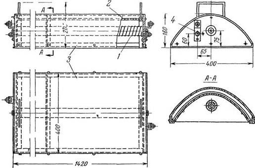
Электрическая рефлекторная печь. Как показал опыт ведения ремонтных работ в условиях городских сетей, наиболее удобным, транспортабельным и быстрым при одних и тех же условиях, определяемых степенью промерзания, характером отогреваемого грунта и качеством покрытия, является метод отогрева электрическими рефлекторными печами. В качестве нагревателя в печи применяется нихромовая или фехралевая проволока диаметром 3,5 мм, навитая спиралью на изолированную асбестом стальную трубу. Рефлектор печи изготовляется из согнутого по оси в параболу с расстоянием от отражающего рефлектора до спирали (фокус) 60 мм алюминиевого, дюралюминиевого или стального хромированного листа толщиной 1 мм. Рефлектор отражает тепловую энергию печи, направляя ее на участок отогреваемого мороженого грунта. Для защиты рефлектора от механических повреждений печь закрывается стальным кожухом. Между кожухом и рефлектором имеется воздушный промежуток, что сокращает потери тепла от рассеивания. Рефлекторная печь присоединяется к электрической сети напряжением 380/220/127 В. При отогреве грунта собирается комплект из трех однофазных рефлекторных печей, которые соединяют в звезду или треугольник соответственно напряжению сети. Площадь отогрева одной печи составляет 0,4X1,5 м2; мощность комплекта печей 18 кВт.
Рис. 2 - Рефлекторная печь для отогрева мороженого грунта. 1 - нагревательный элемент, 2 - рефлектор, 3 - кожух; 4 - контактные зажимы
Расход электроэнергии для отогрева 1 м3 мороженого грунта составляет примерно 50 кВт-ч при продолжительности отогрева от 6 до 10 ч. При пользовании печами необходимо также обеспечить безопасные условия производства работ. Место отогрева должно быть ограждено, контактные зажимы для присоединения проводом закрыты, а спирали течи не должны касаться грунта.
Для отогревания скрытых трубопроводов следует рекомендовать электропрогрев. Постоянный ток вызывает коррозию труб, поэтому применяется только переменный ток. По условиям техники безопасности его напряжение не должно превышать 60 В. Для снижения напряжения обычно используют электросварочные трансформаторы типа СТЗ-22 (11,7 кВт) и СТЗ-32 (23,6 кВт).
Перед отогреванием обогреваемый участок должен быть отсоединен от соседних трубопроводов. Концы труб следует тщательно очистить и к зачищенным поверхностям присоединить провода с помощью специальных зажимов. Сечения проводов подбираются по величине тока из расчета 4 А на 1 мм2 сечения медного провода и 2,5 А на 1 мм2 алюминиевого провода.
6. Электрический отогрев замороженных трубопроводов
Замороженные трубы и нагревательные приборы отогревают горячей водой, паром, электрическим током и паяльной лампой. В деревянных зданиях и при расположении труб или приборов на деревянных стенах или перегородках паяльной лампой пользоваться нельзя. Замерзший участок трубопровода обматывают тряпками и поливают горячей водой. Трубопровод, проложенный в бороздах или подпольных каналах, удобно обогревать, впуская пар внутрь замороженной трубы. Для отогрева скрытых трубопроводов целесообразно применять электрический ток малого напряжения
7. Техника безопасности при эксплуатации электроустановок
электрический прогрев бетон заземление
К обслуживанию электроустановок допускаются только лица, прошедшие обучение и проверку знаний электробезопасности и знающие схему и особенности оборудования, а также должностные и эксплуатационные инструкции.
Лица, не имеющие отношения к обслуживанию данной электроустановки, могут допускаться в помещение электроустановок напряжением ниже 1000 В в сопровождении и под надзором лица из обслуживающего персонала с квалификационной группой не ниже III. Осмотр электроустановок может производиться единолично административно-техническим персоналом с V квалификационной группой (в установках напряжением более 1000 В) и IV (в установках напряжением до 1000 В) и персоналом, обслуживающим данную установку, с квалификационной группой не ниже III. При осмотре распределительных устройств, щитов, шинопроводов, троллеров, сборок напряжением до 1000 В запрещается снимать предупредительные плакаты и ограждения, проникать за них, касаться токоведущих частей и производить их обтирку или чистку, устранять обнаруженные неисправности.
Персоналу, обслуживающему производственное электрооборудование (электродвигатели, генераторы, ванны и др.) и электрическую часть различного технологического оборудования напряжением до 1000 В, разрешается единолично открывать для осмотра щитки пультов управления, пусковых устройств, а также производить работы в порядке текущей эксплуатации. Перечень таких работ должен быть утвержден главным энергетиком предприятия и согласован с технической инспекцией труда профсоюза. Особое внимание следует обратить и на применяемые для ремонтных работ подмостки и лестницы, которые должны быть прочными и надежными. У лестниц, устанавливаемых на гладких поверхностях, основание следует обить резиной, а при установке лестницы на землю на основаниях должны быть острые металлические наконечники. При установке лестниц на подкрановых балках, элементах металлоконструкций необходимо надежно прикреплять верх и низ лестницы.
