Возведение зданий методом надвижки из блочных элементовРефераты >> Строительство >> Возведение зданий методом надвижки из блочных элементов
Подъем блоков с трейлеров осуществляют в два приема: сначала блок приподнимают и отводят в сторону от грузовой платформы трейлера, проверяют его положение в пространстве, надежность строповки и только затем подают к месту установки. Монтажники принимают блок на высоте 30 .50 см от уровня перекрытия и на расстоянии не менее 1,5 .2 м от ранее установленного блока и далее осторожно наводят его в проектное положение. Для удержания от раскачивания при подъеме и установке блока используют оттяжки, которые крепят к пространственной траверсе по диагонали. Самобалансирная траверса представляет собой крестообразную раму с четырьмя независимыми ветвями тросовой подвески (балками). Длину каждой ветви независимо от других можно изменить за счет специальных гидравлических цилиндров, установленных внутри трубчатых шарнирных балок.
Подготовка места установки блока зависит от способа опирания блоков и конструкции горизонтальных стыков между ними. Для блоков с линейным опиранием (опертые по контуру) первоначально устанавливают в углах 4 деревянных маяка, по периметру блока расстилают полосу цементно-песчаного раствора шириной 100 . 120 мм, уровень раствора должен быть на 3 .5 мм выше уровня марок монтажного горизонта. Растворную постель выравнивают рейкой. Деревянные маяки предотвращают выдавливание раствора из-под объемного элемента, обеспечивают необходимую толщину его слоя и расположение блока на определенной отметке.
Для блоков с точечным опиранием по углам устраивают опорные площадки из металлических пластин, набираемых до нужной высоты при нивелировании монтажного горизонта. Цементно-песчаный раствор укладывают вокруг этих опорных площадок. По периметру блоков располагают пакеты плит из минеральной ваты или других изоляционных материалов, обернутых в синтетическую пленку.
Смежные монтажные элементы соединяют между собой путем сварки закладных деталей в углах блоков. Общая жесткость здания достигается за счет жесткости самих блоков и их сварки между собой.
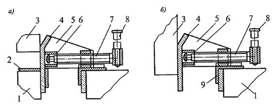
Тонную установку блока в проектное положение осуществляют с применением упорных фиксаторов (рис. 2), которые обеспечивают его горизонтальное перемещение до полного совпадения с разбивочными рисками. Фиксаторы закрепляют в швах ранее смонтированных блоков нижнего ряда, по два на один устанавливаемый элемент и обеспечивают проектный зазор между смежными блоками при их установке в проектное положение. Фиксаторы снабжены механическими домкратами с упорными площадками, что позволяет вручную осуществить совмещение граней монтируемого блока с ранее установленными.
Рис. 13.2. Монтажный фиксатор для объемных элементов:
а — при установке элемента на элемент; б— то же, для объемных элементов первого яруса; 1 — ранее установленные элементы; 2 — подготовленное основание (слой раствора); 3 — устанавливаемый элемент; 4 — фиксирующая плоскость; 5 — упор; 6 — опорная пята; 7 — винт; 8 — вороток; 9 — опорный уголок
Блоки расстроповывают после окончательной их выверки, фиксаторы переставляют для выверки очередного блока. При выверке перемещать блок вручную или с помощью монтажных ломиков невозможно, поэтому для выверки используют только фиксаторы и монтажный кран. Необходимо помнить, что из-за несовпадения центра тяжести блока с его геометрическим центром даже при применении специальных траверс не всегда удается избежать перекоса подаваемого на монтаж блока.
Доборные стеновые элементы, применяемые в основном для жилых зданий, плиты балконов, лоджий, монтируют после окончания монтажа объемных блоков на этаже. Очередной этаж возводят после сварки узлов, соединения коммуникаций, заделки стыков нижнего этажа.
Герметизация стыков наружных панелей включает заводку (забивку) пористых жгутов или заполнение их быстротвердеющей строительной пеной, нанесение герметизирующей мастики и сверху защитного покрытия, предохраняющего ее от старения. В связи с опиранием блоков друг на друга только по контуру образуются значительные вертикальные и горизонтальные прослойки воздуха между соседними объемными элементами, которые обеспечивают высокие звукоизолирующие свойства внутренних ограждающих конструкций.
Для заделки стыков между объемными элементами могут быть использованы подвесные люльки или специальные монтажные контейнеры, устанавливаемые сверху на блоки. На блоки могут подвешиваться площадки для заделки стыков и швов.
Целесообразность метода. Трудоемкость работ на строительной площадке за счет максимальной механизации всех работ в заводских условиях по сравнению с крупнопанельными зданиями сокращается в 3 .4 раза, в заводские условия переносится до 80% трудозатрат на возведение здания. Снижаются общая трудоемкость и себестоимость работ. Продолжительность возведения зданий из объемных элементов сокращается в 2 .3 раза по сравнению с крупнопанельными. Среди недостатков метода следует отметить значительное увеличение грузоподъемности используемых механизмов и транспорта, сложность транспортировки, особенно в городских условиях, объемных элементов. Все это может привести к удорожанию строительства здания методом объемных элементов по сравнению с другими. Однако в случаях использования при строительстве объекта сложного технического оборудования, монтаж которого на строительной площадке провести невозможно, безусловно, целесообразно применять метод монтажа зданий из объемных элементов со встроенным на заводе технологическом оборудованием.
История. В СССР предвестниками грядущего массового строительства на основе индустриальных блоков и панелей стали шлакоблочные «сталинки». Шлакоблочные «сталинки» нередко имеют унылый вид. Архитектура утилитарна, отсутствуют украшения, неоштукатуренный силикатный кирпич для наружных стен, почти плоские фасады со стандартным лепным декором. Первый в СССР четырёхэтажный каркасно-панельный дом сооружён в 1948 году в Москве на 5-й ул. Соколиной горы (Г. Кузнецов, Б. Смирнов). В настоящее время его адрес — Проспект Будённого,43. В это время руководством страны перед строителями была поставлена задача создать максимально дешёвый проект жилого дома с возможностью посемейного заселения (то есть с отдельными, а не коммунальными квартирами). Первым этапом выполнения этой задачи было внедрение идеи индустриального панельного домостроения с несущим каркасом. В 1948—1951 году М.В. Посохин, А.А. Мндоянц и В.П. Лагутенко застроили 10-этажными каркасно-панельными домами квартал в Москве (улицы Куусинена, Зорге). В том же году разработан проект бескаркасного панельного дома (строятся с 1950 года в Магнитогорске). В 1954 году в Москве на 6-й ул. Октябрьского поля сооружён 7-этажный бескаркасный панельный дом (Г. Кузнецов, Б. Смирнов, Л. Врангель, З. Нестерова, Н.А. Остерман). Хрущёвки, проектирование которых велось с конца 1940-х, пошли в серию после исторического постановления 1955 года «Об устранении излишеств в проектировании и строительстве» («внешне-показная сторона архитектуры, изобилующая большими излишествами», характерная для сталинской эпохи, теперь «не соответствует линии Партии и Правительства в архитектурно-строительном деле. … Советской архитектуре должна быть свойственна простота, строгость форм и экономичность решений»).
