Исследование температурного поля наружного угла методом электрического моделированияРефераты >> Строительство >> Исследование температурного поля наружного угла методом электрического моделирования
Описание экспериментальной установки
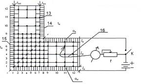
Установка выполнена из электропроводной графитовой бумаги с соблюдением принципов аналогии модели и натуры. Тепловое поле модели разбито на квадраты, размер которых в области сгиба стены уменьшен в два раза. Ширина полосы отражает в некотором масштабе толщину ограждений δ = k · lм; сопротивление тепловосприятию и теплоотдаче имитируют полоски бумаги шириной lви lн, расположенные по периметру модели. В вершинах квадратов установлены клеммы 13 для измерения тока гальванометра, пропорционального их потенциалам. Температуру окружающей среды имитируют электрические потенциалы, подаваемые на ширине 14 и 15 от источника постоянного тока через выключатель К, переменный резистор r и гальванометр G к шине 15 подключен свободный щуп 16. выключатель К и переменный резистор сблокированы. Электрическая модель имеет ось симметрии, которая на рисунке показана пунктирной линией.
Показания гальванометра
|
. |
1 |
2 |
3 |
4 |
5 |
6 |
7 |
8 |
9 |
10 |
11 |
12 |
|
1 |
123 |
112 |
84 |
58 |
44 | |||||||
|
2 |
134 |
115 |
86 |
64 |
44 | |||||||
|
3 |
121 |
116 |
96 |
67 |
53 | |||||||
|
4 |
124 |
119 |
114 |
108 |
96 |
92 |
64 | |||||
|
5 |
136 |
129 |
120 |
113 |
103 |
91 |
80 | |||||
|
6 |
101 |
135 |
122 |
120 |
112 |
104 |
97 |
85 |
90 |
76 |
63 |
43 |
|
7 |
142 |
139 |
133 |
125 |
119 |
113 |
109 |
102 |
95 |
93 |
51 |
63 |
|
8 |
147 |
143 |
140 |
134 |
130 |
125 |
110 |
109 |
106 | |||
|
9 |
151 |
147 |
143 |
140 |
134 |
134 |
125 |
117 |
110 |
113 |
106 |
104 |
|
10 |
157 |
155 |
151 |
149 |
142 |
141 |
132 |
134 |
122 | |||
|
11 |
158 |
160 |
159 |
156 |
152 |
149 |
145 |
146 |
144 |
137 |
139 |
139 |
|
12 |
155 |
164 |
163 |
161 |
159 |
157 |
155 |
154 |
150 |
149 |
150 |
157 |
