Монтаж железобетонных конструкций одноэтажного промышленного зданияРефераты >> Строительство >> Монтаж железобетонных конструкций одноэтажного промышленного здания
4. Габариты здания
5. Высотные отметки
6. Определение исходных данных для выбора монтажных машин
Выбор кранов и других монтажных машин производится на основании требуемых рабочих параметров, которые в свою очередь определяют на основе монтажных характеристик элементов сборных конструкций. К монтажным характеристикам относятся:
ü qм - монтажная масса, т.;
ü Нм - монтажная высота, м.;
ü Zм - монтажный вылет крюка, м.
Монтажную массу определяют как сумму масс монтируемого элемента и приспособлений (стропов, траверс, захватов, хомутов, элементов подмостей и т.д.):
qм = Q + Sqi,.где
Q - масса монтируемого элемента, т.;
Sqi - масса монтажных приспособлений, устанавливаемых на монтируемом
элементе и поднимаемых вместе с ним, а так же масса полиспаста при максимальном приближении крюка крана к стреле (в расчетах принимается 100кг).
Монтажная высота определяется технологией подъема или опускания конструкции над проектной отметкой для безопасности и удобства монтажа:
Нм = h1 + h2 + h3 + h4, где
h1 - высота от уровня расположения, монтажного крана до опоры, на которую устанавливаются элементы, м.;
h2 - высота подъема элемента над опорой (принимают для безопасности и удобства монтажа равной 0,5- 1,0 м);
h3 - высота (толщина) устанавливаемого элемента, м.;
h4 - высота захватного приспособления над устанавливаемым элементом (от верха элемента до низа крюка), м.
Монтажный вылет крюка описывается радиусом ее действия, т.е. расстоянием от центра тяжести монтируемого элемента до оси вращения крана:
Zм = l1 + l2 + l3, где
l1 - расстояние от оси вращения крана до шарнира крепления стрелы для стреловых кранов (принимается 1,5м);
l2 - расстояние от шарнира крепления стрелы до наружной поверхности сооружения;
l3 - половина ширины (длины) монтируемого элемента.
6.1 Определение монтажных характеристик для монтажа колонн
Нм = h1 + h2 + h3 + h4 = 0+0,5+9,3+1,0 = 10,8 (м)
Q = 5,8 (т)
Sqi = ттрав + тполис = 0,122+0,1 = 0,222 (т)
qм = Q + Sqi = 5,8+0,222 =6,022 » 6 (т)
Zм = l1 + l2 + l3 = 1,5+6,48+0,25 = 8,23 (м);
Lcmp = 12,73 (м).
На основании полученных данных, монтажных характеристик устанавливаемого элемента выбираем кран, отвечающий требованиям по грузоподъемности, длине и вылету стрелы (крюка), высоте подъема крюка.
Вывод: Выбираем гусеничный кран СКГ-40БС:
грузоподъемностью Q =18т,
длиной стрелы Lcmp = 20м
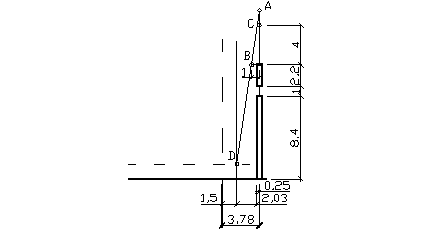
6.2 Определение монтажных характеристик для монтажа ферм покрытия
Нм = h1 + h2 + h3 + h4 = 8,4+1,0+2,2+4,0 = 15,6 (м)
Q = 4,5 (т)
Sqi = ттрав + тполис = 1,106+0,1 =1,206 (т)
qм = Q + Sqi = 4,5+1,206 = 5,706 » 6 (т)
Zм = l1 + l2 + l3 = 1,5+2,03+0,25 = 3,78 (м); Lcmp = 15,77 (м).
На основании полученных данных, монтажных характеристик устанавливаемого элемента выбираем кран, отвечающий требованиям по грузоподъемности, длине и вылету стрелы (крюка), высоте подъема крюка
Вывод:Выбираем гусеничный кран СКГ-40:
грузоподъемностью Q = 40т,
длиной стрелы Lcmp = 20м.
6.3 Определение монтажных характеристик для монтажа плит покрытия
Нм = h1 + hф +h2 + h3 + h4 =(8,4+2,2)+1+0,12+2,1 = 13,82 (м)
Q = 2,3 (т)
Sqi = ттрав + тполис = 0,205+0,1 = 0,305 (т)
qм = Q + Sqi = 2,3+0,305 = 2,605 » 3,0 (т)
Zм = l1 + l2 + l3 = 1,5+11,3+3,25 =16,05 (м); Lcmp = 20,14 (м).
На основании полученных данных, монтажных характеристик устанавливаемого элемента выбираем кран, отвечающий требованиям по грузоподъемности, длине и вылету стрелы (крюка), высоте подъема крюка.
Вывод: Выбираем гусеничный кран МКГ-40:
грузоподъемностью Q =40 т,
длиной стрелы Lcmp = 20,8 м.
7. Выбор оптимального варианта производства монтажных работ
Оценка и сравнение вариантов при выборе кранов производится по себестоимости монтажных работ:
С =
, где
Э - эксплуатационные расходы на выполнение заданного объема работ, руб.;
V - объем работ, т.
Эксплуатационные расходы:
Эр = n Cм-см + Зр + Нр, где
См-см - стоимость машино-смены крана, руб. за смену;
n - число смен работы;
Зр - заработная плата рабочих, участвующих в ручных механизированных работах, исключая машинистов, руб.;
Нр - накладные расходы, принимаемые в размере 10 - 15% общей суммы всех других расходов.
Стоимость машино-смены крана находится через стоимость машино-часа крана по формуле:
См-см =
,
CМ-Ч =
, где
М - инвентарно-расчетная стоимость машины, руб.;
А - амортизационные отчисления, %;
Д - количество дней работы машины в году;
т - количество смен работы машины в сутки;
Мд - стоимость монтажа и демонтажа крана, руб.;
Стр - стоимость транспортирования машины с одного объекта на другой;
Др - количество часов работы машины на данном объекте;
Р - затраты на техническое обслуживание и текущие ремонты, руб.;
В - затраты на эксплуатацию вспомогательного оборудования (грузовые
устройства, стропы, приспособления), руб.,
Э - затраты на энергоматериалы (электроэнергию, топливо), руб.;
Сс - затраты на смазочные материалы, руб.;
3 - заработная плата машиниста и помощника, руб.
Исходные данные для расчетов:
1) Гусеничный кран СКГ-40:
М = 51000 руб.; До =22×4×2×8,2=1443,2 час
А = 12,5%; Р= 3 руб.;
Д = 264 дня; В =0,2 руб.;
т = 2 смены; Э=0,45 руб.;
МД= 930 руб.; Сс=0,09 руб.;
Стр. = 53 руб.; 3=1,36 руб.
См-см =
n = 2 – число смен работы;
Зр=7036,19 руб. (см. калькуляция трудовых затрат и заработной платы);
Нр = (n×См-см + Зр) × 0,15
Нр = (2×59,479 +7036,19)×0,15 =1073,27 руб.
V =1822, 255 м3 – см. табл. 1 ПЗ;
Эр = n × См-см+Зр+Нр,
Эр =2×59,479 +7036,19 + 1073,27 = 8228,42 руб.
Себестоимость монтажных работ крана СКГ-40:
2} Гусеничный кран МКГ-40:
М = 59200 руб.; До =22×4×2×8,2=1443,2 час
А = 12,5%; Р= 3 руб.;
Д = 264 дня; В =0,2 руб.;
т = 2 смены; Э=0,5 руб.;
МД= 890 руб.; Сс=0,1 руб.;
Стр. = 53 руб.; 3=1,36 руб.
