Расчет сопротивления ограждающей конструкцииРефераты >> Строительство >> Расчет сопротивления ограждающей конструкции
Содержание
1. Расчет сопротивления теплопередаче ограждающей конструкции
2. Расчет сопротивления паропроницанию ограждающей конструкции
3. Расчет сопротивления воздухопроницанию ограждающей конструкции
4. Список литературы
1. Расчет сопротивления теплопередаче ограждающей конструкции
1) Выписываем характеристики района строительства:
-расчетная температура наружного воздуха холодного времени года-
text=- 40 0С (определяем по приложению 1 источника [1]);
-средняя температура воздуха периода со среднесуточной температурой воздуха меньшей 8 0С – tht=-6.2 0С (определяем по приложению 1 источника [1]);
-продолжительность периода со среднесуточной температурой воздуха меньшей 8 0С – zht=264 сут (определяем по приложению 1 источника [1]);
-зона влажности – нормальная (определяем по приложению 1 источника [1]);
2) Назначение помещения – клуб:
- температура внутреннего воздуха – tint=18 0С (определяем по таблице 1.2 источника [1]);
-влажность воздуха в указанном помещении – φ=55% (определяем по таблице 1.3 источника [1]);
3) Влажностный режим помещения – нормальный (определяем по таблице 1.1 источника [1]);
4) Условия эксплуатации ограждающей конструкции – Б (определяем по таблице 1.4 источника [2]);
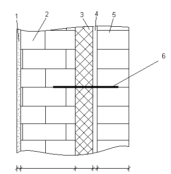
5) Конструкция стены:
0,015 0,250 0,020 0,120
|
Теплотехнические характеристики материала стены | |||
|
Материал |
Наименование характеристик | ||
|
δ, м. |
ρ, кг/м3 |
λ, Вт/м. 0С | |
|
1. Мрамор |
0,015 |
800 |
0,91 |
|
2. Кирпичная кладка из силикатного четырнадцатипустотного кирпича на цементно-песчаном растворе |
0,25 |
1400 |
0,52 |
|
3. Пенополистирол Стиропор PS30 |
x |
225 |
0,0072 |
|
4. Воздушная прослойка |
0,020 |
0,15 | |
|
5. Кирпичная кладка из силикатного четырнадцатипустотного кирпича на цементно-песчаном растворе |
0,120 |
1400 |
0,52 |
|
6. Стальной анкер |
0,004 |
7850 |
58 |
2) Расчет кирпичной стены:
· Определяем градуса-сутки отопительного периода:
(0С. сут);
· Определяем нормируемое сопротивление теплопередаче:
;
где
;
;
Коэффициенты a и b определяем по таблице 4 из распечаток к заданию по значению
;
(м2 . 0С/Вт);
(м2 . 0С/Вт);
· Определяем необходимую толщину утепляющего слоя – Rо:
(м2 . 0С/Вт)
(м) – по конструктивным соображениям принимаем
(м);
(м2 . 0С/Вт);
(м2 . 0С/Вт) <
(м2 . 0С/Вт) – условие выполняется.
· Определяем расчетный температурный перепад
, показывающий разницу между t внутренней поверхности стены и tint :
;
(определяем по таблице 2.1 источника [1]);
температурный перепад допустим, конструкция удовлетворяет требованиям СНиП.
· Проверяем возможность выпадения конденсата на внутренней поверхности стены:
- температура поверхности ограждающей конструкции должна быть не ниже температуры точки росы:
- температура внутренней поверхности без теплопроводного включения определяется по формуле:
;
- температура внутренней поверхности по металлическому тепловому включению определяется по формуле:

;
;
;
По таблице определяем
tint=180С;
Eв=2064 Па по приложению 3 таблице 1 источника [1];
%;
· определяем действующую упругость водяного пара воздуха в помещении:
(Па);
по приложению 3 таблице 1 источника [1] по
;
выпадение конденсата на внутреннюю поверхность стены и по тепловому включению не произойдет.
· подбор оконного заполнения:
Требуемое приведенное сопротивление для окна
принимаем по таблице 4 из распечаток
;
(0С.сут);
(м2. 0С/Вт);
Для заданных климатических условий можно применить обычное стекло и однокамерный стеклопакет в раздельных переплетах из стекла с мягким селективным покрытием.
