Технология высококачественного оштукатуривания кирпичных поверхностейРефераты >> Строительство >> Технология высококачественного оштукатуривания кирпичных поверхностей
6. Организация труда и рабочего места
При производстве штукатурных работ необходимо применять поточный способ, расчленяя процесс на отдельные технологические операции, характер и количество которых зависят от вида штукатурки и материала оштукатуриваемых поверхностей. Однако, при незначительных объёмах весь их комплекс (подготовка поверхностей, нанесение и разравнивание растворов, затирка, вытягивание тяг, отделка откосов и т.д.) выполняет одно звено. Выполнение штукатурных работ связывается с ведущим технологическим процессом - возведением надземной части здания. Для повышения производительности труда и квалификации, рабочих внутренние штукатурные работы производят поточно-расчлененным методом. Одной из прогрессивных форм организации труда при штукатурных работах является работа экипажами штукатурных станций. Экипажи оснащаются полным комплектом средств механизации, приспособлений и инвентаря, включающим штукатурный агрегат для приема привозного раствора, сопла, затирочные машинки и др. Основная форма организации труда экипажей - звеньевая. Обычно бригады и экипажи состоят из 18-23 человек (4-5 звеньев).
Схема организации рабочего места звена № 1.
Двое штукатуров (Ш3 - 3 разряда, Ш 2 - 4 разряда) визуально и при помощи рейки определяют отклонения основания от вертикали, затем они очищают поверхность. Вдоль стен штукатур (Ш 5) 2-го разряда устанавливает подборники. После этого штукатур (Ш3) подает сигнал машинисту станции о включении растворонасоса. Движением сопла слева направо и сверху вниз под углом 60° - 90° к поверхности штукатур (Ш1) наносит слой обрызга. Штукатур (Ш4) поддерживает рукав, обеспечивая первому штукатуру свободное перемещение по фронту работ, а штукатур (Ш5) следит за состоянием напорных рукавов, предотвращая их скручивание и перегибы.
Одновременно по мере нанесения обрызга на поверхность штукатуры (Ш2; Ш3) правилами разравнивают образовавшиеся наплывы. Излишки раствора сбрасывают в подборники. При разравнивании слоя грунта один из штукатуров (Ш3) перемещает полутерок снизу вверх зигзагообразными движениями вправо и влево, прижимая его к стене параллельно полу так, чтобы между нижней частью полутерка и стеной образовался острый угол. Другой штукатур (Ш2) контрольным правилом проверяет во всех направлениях поверхность огрунтованной стены. При необходимости подмазывает оставшиеся крупные раковины, пропуски. Раствор при этом подается штукатурной лопаткой и разравнивается полутерками.
В заключении штукатуры (Ш1; Ш4) движениями правил сверху вниз и снизу вверх производят разделку углов. Линии лузг и усенков после отделки должны быть прямыми и вертикальными.
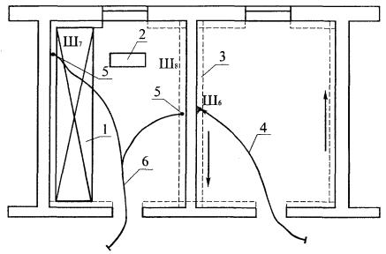
Второе звено бригады наносит накрывочный слой на поверхности стен и производит затирку накрывочного слоя механизированным способом. Вначале штукатур (Ш6), подав сигнал о включении накрывочного агрегата, при помощи универсальной удочки круговыми движениями слева направо и сверху вниз наносит накрывочный слой на поверхности стен.
Схема организации рабочего места звена № 2 приведена на рисунке 11 Одновременно по мере нанесения накрывочного слоя два штукатура (Ш7; Ш8) производят подтягивание и разравнивание накрывочного слоя полутёрком, перемещая его в разных направлениях. При этом верхняя кромка полутерка приподнята во избежание срезания раствора. Излишки раствора подают в подборники.
Рисунок 11 - Схема организации рабочего места звена № 2.
Ш6, Ш7, Ш8 - места нахождения штукатуров
1 - столик-подмости; 2 - ящик для инструмента; 3 - подборники для раствора; 4 - гибкий шланг растворонасоса; 5 - затирочные машинки; 6 - электрокабель, идущий от преобразователя тока.
Стрелкой указано направление движения штукатура (Ш6)
Штукатуры звена (Ш 6; Ш7; Ш8) выполняют затирку накрывочного слоя, прижимая вращающиеся диски затирочных машин к обрабатываемой поверхности стен и перемещая их.
Затирают накрывочный слой до исчезновения царапин, раковин, бугров. Подача воды регулируется клапанами, находящимися на корпусах затирочных машин. Места, недоступные для механизированной затирки, обрабатываются вручную терками.
Схема организации рабочего места звена № 3 дана на рисунке 12.
Штукатуры (Ш9; Ш 10; Ш11; Ш12; Ш13; Ш14), стоя на столике-подмостях, при помощи кисти смачивают водой поверхность откосов для лучшего сцепления раствора и с сокола наносят кельмой слой обрызга и грунта с промежутком во времени, зависящим от марки применяемого раствора и температурных условий.
Грунт разравнивают с помощью деревянных малок и полутерков по направляющим рейкам.
Рисунок 12 - Схема организации рабочего места звена № 3
Ш9 - Ш 14 - рабочие места штукатуров;
1 - столик-подмости; 2 - ящик для раствора; 3 - ведро; 4 - направляющая рейка; 5 - ящик для инструмента
Накрывочный слой наносят кельмами, выравнивают малками и затирают терками, периодически смачивая поверхность водой. Вертикальность и горизонтальность поверхности штукатурки проверяют при помощи отвеса, угольника и уровня.
Затем снимают направляющие рейки, выравнивают углы пересечения откосов, отделывают лузги и усенки.
7. Техника безопасности
При выполнении простого, улучшенного и высококачественного оштукатуривания внутренних поверхностей могут возникнуть следующие опасные и вредные производственные факторы, связанные с характером работы:
повышенная запыленность и загазованность воздуха рабочей зоны;
расположение рабочего места вблизи перепада по высоте 1,3 м и более;
острые кромки, заусенцы и шероховатость на поверхностях отделочных материалов и конструкций;
недостаточная освещенность рабочей зоны.
Для предупреждения воздействия на работников опасных и вредных производственных факторов безопасность штукатурных работ должна быть обеспечена соблюдением следующих мероприятий:
организация рабочих мест с указанием методов и средств для обеспечения вентиляции, пожаротушения, защиты от термических ожогов, освещения, выполнения работ на высоте, с использованием средств подмащивания и использованием других средств малой механизации;
способы и средства подачи материалов на рабочие места должны обеспечивать безопасность труда.
К устройству внутренних штукатурных работ с использованием средств подмащивания допускаются лица не моложе 18 лет, имеющие профессиональные навыки, прошедшие медицинское освидетельствование и признанные годными, получившие знания по безопасным методам и приемам труда согласно ГОСТ 12.0.004-90 "ССБТ. Организация обучения безопасности труда. Общие положения", сдавшие экзамены квалификационной комиссии в установленном порядке и получившие соответствующее удостоверение.
Внеочередной инструктаж по технике безопасности проводится при переводе рабочих-отделочников с одного объекта на другой, при изменении условий производства работ, нарушении бригадой правил и инструкций по безопасности труда.
