Улучшение теплового и гидравлического режима системы теплоснабжения п. Победа г. ХабаровскаРефераты >> Строительство >> Улучшение теплового и гидравлического режима системы теплоснабжения п. Победа г. Хабаровска
Заболевания, вызванные вредными условиями труда, называют профессиональными. Факторы, отрицательно влияющие на условия труда, можно разделить на три группы, связанные:
с производственным процессом;
с недостатками в организации труда;
с недостатками в создании санитарно-гигиенических условиях труда.
Вредные производственные факторы по природе действия на организм человека подразделяются на следующие группы: физические, химические, биологические и психофизические.
Группа физических вредных производственных факторов включает повышенную запыленность и загазованность воздуха рабочей зоны, повышенную или пониженную температуру, давление, влажность, скорость движения воздуха, освещенность рабочей зоны, повышенный уровень шума, вибрации, инфразвуковых и ультразвуковых колебаний.
Группа химических вредных производственных факторов по характеру воздействия на организм человека подразделяется на подгруппы: общетоксичные, раздражающие, канцерогенные.
Группа биологических вредных производственных факторов включает биологические объекты, воздействие которых на работающих вызывает заболевание.
Группа психофизических вредных производственных факторов по характеру воздействия подразделяются на подгруппы: физические перегрузки и нервно-психические перегрузки. Физические перегрузки включают статические, динамические и гиподинамию. Нервно-психические перегрузки подразделяют на умственное перенапряжение, монотонность труда и эмоциональные перегрузки.
Перед началом строительства должны проводиться инженерные подготовительные работы, включающие мероприятия производственной санитарии. Одним из важных требований, предъявляемых к строительной площадке с санитарно-гигиенической точки зрения, является оборудование ее санитарно-бытовыми помещениями, пунктами питания, медпунктами, а также правильное расположение их в соответствии со строительным генеральным планом. На территории строительной площадки устанавливают указатели проходов и проездов; в темное время суток площадку следует обеспечивать электрическим освещением. Для защиты работающих на открытом воздухе от неблагоприятных метеорологических условий должны быть предусмотрены, помимо соответствующей спецодежды и защитных приспособлений, помещения для обогрева, тенты, палатки.
В проектах производства работ необходимо предусматривать применение таких технологических процессов, машин и производственного оборудования, которые обеспечивают отсутствие или минимальное выделение в атмосферу и в сточные воды вредных веществ, минимальное образование пыли, шума, вибрации.
6.3 Пожарная безопасность
Мероприятия, при которых исключается возможность пожара и взрыва, а в случае их возникновения предотвращается воздействие на людей опасных и вредных факторов пожара и взрыва и обеспечивается защита материальных ценностей, называют пожарной безопасностью. Возникновение пожаров связано с нарушением противопожарного режима и неосторожным обращением с огнем, что может явиться следствием нарушения мер пожарной безопасности при проектировании и строительстве зданий и сооружений. Нередко причиной пожаров и взрывов бывает неправильная оценка категории взрывопожароопасности производства из-за недостаточной изученности свойств сырья, полуфабрикатов, готовой продукции, определяющих их взрыво и пожароопасные характеристики.
Пожары, как правило, возникают в каком-либо одном месте и в дальнейшем распространяются по горючим материалам и конструкциям. Исключение составляют случаи взрывов производственного оборудования, в результате которых пожары могут возникнуть в нескольких местах.
При разработке генеральных планов промышленных предприятий необходимо: обеспечить безопасное расстояние от границ промышленных предприятий до жилых и общественных зданий; выдержать требуемые нормами противопожарные разрывы между зданиями и сооружениями; сгруппировать в отдельные комплексы родственные по функциональному назначению или признаку взрывопожарной опасности производственные здания и сооружения; расположить здания с учетом местности и направления господствующих ветров; обеспечить территорию предприятия дорогами и необходимым количеством въездом.
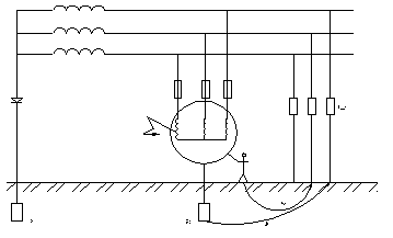
6.4 Контроль защитного заземления
Защитное заземление – преднамеренное соединение с землей частей оборудования, не находящихся под напряжением в нормальных условиях эксплуатации, но которые могут оказаться под напряжением в результате нарушения изоляции электроустановки.
Согласно «Правилам устройства электроустановок» сопротивление защитного заземления в любое время года не должно превышать: 10 Ом при мощности трансформатора (генератора) Nтр < 100 кВт × А; 4 Ом при Nтр > 100 кВт × А; 0,5 Ом – в установках напряжением выше 1000 В с большими токами замыкания на землю (более 500А).
Необходимо рассчитать заземляющее устройство для заземления электродвигателя серии 4А напряжением U = 380 В в трехфазной сети с изолированной нейтралью при следующих исходных данных: грунт – суглинок с удельным сопротивлением r = 100 Ом × м; в качестве заземлителей приняты стальные трубы диаметром d = 0,02 м и длиной l = 1,5 м, располагаемые вертикально и соединенные на сварке стальной полосой 40*4 мм; мощность электродвигателя серии А4200М2 U = 30 кВт, n = 3000 мин-1; мощность трансформатора принята 250 кВ × А, требуемое по нормам допускаемое сопротивление заземляющего устройства [r3] £ 4 Ом.
Рисунок 6.1 - Принципиальная схема защитного заземления
По схеме защитного заземления показанного на рисунке 4.1 определяем сопротивление одиночного вертикального заземлителя RB, Ом, по формуле:
где: t – расстояние от середины заземлителя до поверхности грунта, м;
l, d – длина и диаметр стержневого заземлителя, м.
Расчетное удельное сопротивление грунта рассчитывается по формуле:
где: y - коэффициент сезонности, учитывающий возможность повышения сопротивления грунта в течении года
Согласно [11] принимаем y = 1,7 для I климатической зоны. Тогда:
Определяем сопротивление стальной полосы, соединяющей стержневые заземлители:
где: l – длина полосы, м;
t – расстояние от полосы до поверхности земли, м
Определяем расчетное удельное сопротивление грунта r’расч при использовании соединительной полосы в виде горизонтального электрода длиной 50м. При длине полосы в 50м [11], y’ = 5,9. Тогда:
Определяем ориентировочное число n одиночных стержневых заземлителей по формуле:
