Основные пути снижения издержек при осуществлении процесса хранения продукции
В аппаратах на электрическом обогреве используют чаще всего греющие элементы (нагреватели) резистивного типа, которые, будучи включенными в электрическую цепь и являясь электрическим сопротивлением, нагреваются. [2, с.186]
Приложение 1
Тестомесильная машина МБТМ-140:
а — общий вид; 6 — кинематическая схема; 1 — тележка; 2 — дежа; 3 — рабочий орган; 4 — крышка; 5 — рабочий вал; 6 — корпус траверсы; 7, 16 — червячное колесо; 8, 10, 17 — червяк; 9 — червячный сектор; 11 — червячная передача; 12 — клиноременная передача; 13 — реверсивный электродвигатель; 14, 18, 20, 21 — шкивы; 15 — фрикционное колесо; 19 — клиновой ремень; 22 — электродвигатель
Приложение 2
Тестомесильная машина ТММ-1М
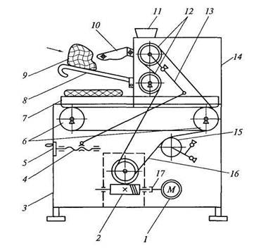
Приложение 3
Принципиальная и кинематическая схема тестораскаточной машины МРТ-60М:
1— электродвигатель; 2— червячный редуктор; 3 — каркас; 4— винтовая пара; 5 — маховик; 6 — валок транспортера; 7 — транспортер; 8 — загрузочный лоток; 9 — продукт; 10 — предохранительная решетка; 11 — бункер для муки; 12 — раскаточные валки; 13 — поворотный кронштейн; 14 — рама; 15 — натяжной валок; 16 — цепная передача; 17 — кулачковая муфта
Список использованной литературы
1. Барановский В.А. Повар-технолог: Учебное пособие – 2-е изд – Ростов-на-Дону: Феникс, 2005. - 414 с.
2. Ботов М.И. Тепловое и механическое оборудование предприятий торговли и общественного питания: Учеб. для нач. проф. образования / М. И. Ботов, В. Д. Елхина, О. М. Голованов. — М.: Издательский центр «Академия», 2002. — 464 с.
3. Дубцов Г.Г Технология приготовления пищи: Учебное пособие – М.: Мастерство, 2001. -272 с.
4. Фурс И.Н. Технология производства продукции общественного питания: Учеб. пособие / И.Н. Фуре. — Мн.: Новое знание, 2002. — 799 с: ил.
5. Шатун Л.Г. Повар: Учебное пособие для учащихся профессиональных училищ, лицеев – 2-е изд. – М.: Издательско-торговая корпорация «Дашков и Ко», 2006 – 320 с.
