Банковские информационные системыРефераты >> Банковское дело >> Банковские информационные системы
Таким образом, принципы разработки систем автоматизации банковской деятельности вытекают из подходов и требований, предъявляемых к программному продукту заказчиком
(банком). Эти требования содержат в себе требование банка к системе в целом как к продукту, который будет обслуживать специфическую сферу ( банковское дело), а также специальные требования, отражающие специфику используемых в банке операций и технологий их выполнения.
С другой стороны, существует ряд требований, которые предъявляются к разработке исполнителем (разработчиком). Эти требования могут совпадать с требованиями банка, но могут и конфликтовать. Хотя большинство из перечисленных требований, предъявляемых проектировщиком, не являются конфликтными по отношению к требованиям банков.
Следует запомнить
При проектировании интегрированных БИС необходимо учитывать требования банковской среды: возможность отката на определенную дату и технологического отката; однократный ввод информации; блокирование ввода платежных документов при дебетовых сальдо; выполнение проводок в реальном масштабе времени; анализ ситуации - открытый (закрытый) счет; информационная безопасность, а также общие требования разработки информационных систем: сокращение документооборота; автоматизация рутинных задач: адаптивность финансовых информационных систем (ФИС) (параметризованность); возможность расширения систем; единая информационная база; мобильность; ведение архива системы; восстановление архивной копии базы данных системы.
Как правило, информационная система является внешней по отношению к совокупности банковских технологий, поскольку зачастую машинная обработка банковской информации используется на заключительных стадиях технологического процесса выполнения банковских операций, которые характеризуются наибольшей концентрацией вычислений. На практике все банковские операции связаны некоторой единой технологией, состоящей из множества макро - и микротехнологий, наличие которых обусловлено специализацией отдельных групп работников и составом их обязанностей.
Возможной структурой построения интегрированной БИС может служить структура (рис.2), включающая в себя наиболее распространенные в наших программных продуктах АРМ и блоки.
![]() |
На основе проведенного аналитического обзора рынка Российских БИС был выделен и скомпонован состав АРМ и определены их функции для условной интегрированной БИС. В реальной интегрированной БИС такое выделение зависит от структуры управления, разделения управленческих функций и целей, а также от выбранного подхода к проектированию системы и многих других факторов. В структуре БИС в процессе ее разработки выделяют перемещаемые блоки, которые обеспечивают выполнение некоторых стандартных банковских технологий: обслуживание договоров (кредитного, депозитного, трастового, договора на расчетно-кассовое обслуживание и др.), обслуживание процентов по различным договорам, обслуживание штрафных процентов и др. Перемещаемые блоки после соответствующей
настройки и функционально специализированные программы образуют АРМ конкретных рабочих мест.
Здесь (см. рис. 2) имеется ряд АРМ, которые необходимы относительно полноценности управления, но отсутствуют как самостоятельные в большинстве БИС: АРМ специалиста по маркетингу, АРМ сотрудника по управлению активами и пассивами, АРМ аналитика, АРМ планировщика, АРМ сотрудника по управлению ликвидностью и др.
Блок информационного обеспечения руководства предназначается для поддержки и принятия решений руководства банка и формирует аналитическую информацию по результатам деятельности банка. Обычно этот блок выполняется в виде АРМ, который реализует получение сведений о ликвидности банка и другой стратегической информации, а также данных о состоянии счетов, архивных справок и пр.
Если банк обладает филиалами, то в его структуре предусматривается отдел, обеспечивающий обмен информацией с ними в режиме on-line с использованием телекоммуникационных каналов через АРМ коммуникаций либо в режиме off-line на основе электронной почты, дискетой или бумажной технологии. АРМ по работе с филиалами дает сотруднику возможность ввода информации о финансовых операциях филиалов, учета их деятельности при формировании консолидированного баланса, анализа деятельности филиалов и расчета для них нормативных коэффициентов.
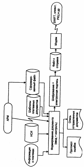
Работа с, внешней средой осуществляется по каналам телекоммуникаций через АРМ коммуникаций. АРМ обеспечивает экспорт-импорт информации, т.е. двусторонний обмен данными с внешними абонентами: ЦБ РФ, филиалами, системой межбанковских расчетов, процессинговым центром (Union Card, STB-Card и др.), пунктом обмена валюты, клиентами, биржей и пр. При использовании телекоммуникационной среды происходят трансформация передаваемой информации в определенный стандарт, ее шифрование (обычным способом и с применением электронной подписи) и установление связи: либо напрямую с использованием телефонных и других каналов, либо через какую-либо компьютерную сеть (рис.3.)
Для обеспечения взаимодействия по схеме клиент-банк у клиента устанавливается программный комплекс АРМ клиента, который позволяет:
вводить, редактировать платежные документы с использованием типового набора бланков, печатать подготовленные документы, шифровать и дешифровать информацию и обеспечивать авторизацию через механизм электронной подписи, отправлять и принимать документы, файлы и сообщения. В банке внутри базового блока устанавливается для взаи
модействия с клиентом АРМ банка. Этот комплекс обеспечивает через АРМ коммуникаций аналогичные функции по взаимодействию с клиентом, поддерживает архивы взаимодействия с клиентом и отправляет поступившие платежные документы по ЛВС на обработку в нужный АРМ.
Рисунок 3 Схема работы АРМ коммуникаций по экспорту данных
АРМ сотрудника межбанковских расчетов (МБР) обеспечивает ведение расчетов с другими коммерческими банками через сеть клиринговых центров и через взаимное откры
тие корреспондентских счетов. При работе на основе прямых межбанковских расчетов АРМ позволяет осуществлять контроль, корректировку и отмену текущих операций МБР и формирование начальных авизо, реестров и соответствующих платежных документов. При работе с ответными авизо АРМ проводит весь комплекс работ с входным документом: ввод, корректировку, отмену текущих документов (с одновременным контролем сумм авизо и платежных документов); выполнение квитовки ответных авизо, ведение соответствующего журнала и документов по квитовке; открытие, ведение и закрытие заключительных оборотов.
Для проведения электронных взаимодействий с другими банками, клиентами, процессинговым центром или биржами информация пересылается по ЛВС на АРМ коммуникаций, через которое реализуются телекоммуникационные взаимодействия.

