Производство подового хлеба
Продукция хлебопекарного производства выпускается в законченном товарном и потребительском виде. Срок хранения хлеба без специальной упаковки не превышает 1 .2 суток, поэтому его производство организуют в местах непосредственного потребления. Для транспортирования хлеб укладывают на деревянные лотки, размещают последние на стеллажах или тележках и перевозят специализированными автомобилями.
Список литературы
1. Введение в специальность. / Под ред. Панфилова В.А. –М., 2007.
2. Егоров, Г.А. Технология и оборудование мукомольно-крупяного и комбикормового производства [Электронный ресурс]: [текст] Учебник/ Г.А. Егоров, Е.М. Мельников, В.Ф. Журавлев. - Электрон. дан - М.: Колос, 1979.
3. Машины и аппараты пищевых производств. В 2 кн. Кн. 1. / Под ред. Антипова С.Т. и др. –М., 2001.
4. Чеботарев, О.Н. Технология муки, крупы и комбикормов [Электронный ресурс]: [текст] Учеб. пособие/ О.Н. Чеботарев, А.Ю. Шаззо, Я.Ф. Мартыненко. - Электрон. дан - Ростов н/Д: МарТ, 2004
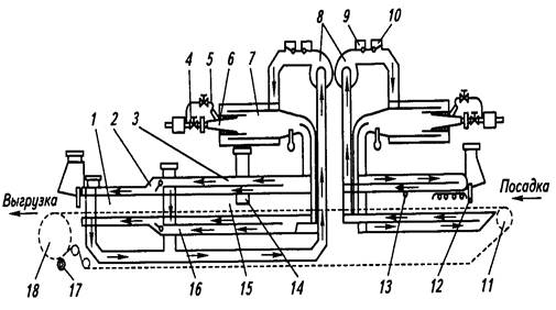
Приложение 1
Рис. 1. Машинно-аппаратурная схема линии производства хлеба из пшеничной муки
Рис. 2. Тестоприготовительный агрегат И8-ХТА-12
Рис. 3. Принципиальная схема печи ПХС-25
