Технология производства яблочного сока на малых предприятиях
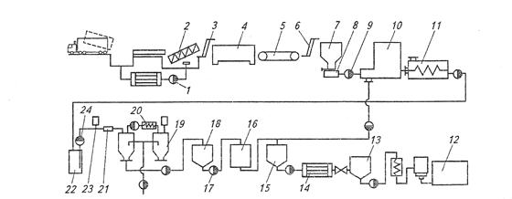
Машино-аппаратурная схема комплекса технологического оборудования для производства осветленных фруктовых соков представлена на рис.2.
Рис.2. Машино-аппаратурная схема комплекса технологического оборудования для производства осветленного яблочного сока
Она состоит из насосов 1, 9, 17 и 24, шнекового отделителя 2, элеваторов 3 и 6, моечной машины 4, инспекционного конвейера 5, сборников 7, 13, 15, 18, 19 и 22, дробилки 8, пресса 10, пастеризатора-охладителя 11, пастеризатора 12, фильтров 14 и 16, охладителя 20, трубчатого статического смесителя 21 и дозатора 23 пектолитических препаратов.
Поступившие на переработку плоды засыпают в бетонные ванны, откуда гидротранспортером по подземным каналам они направляются в цех.
Здесь с помощью шнекового отделителя 2, расположенного в бетонной ванне (яме), плоды отделяют от воды и с помощью элеватора 3 с душевым устройством поднимают к машине для окончательной мойки 4.
Вода, поступающая со шнекового отделителя и содержащая крупные загрязнения (камни, ветки, листья и т. п.), попадает на загрузочную воронку наклонного шнекового конвейера с перфорированным дном, задерживающим и удаляющим загрязнения.
Очищенная вода стекает в ванну (яму), откуда с помощью погружного насоса 1 подается обратно в бетонные ванны с плодами для повторного ее использования.
Промытые плоды инспектируют на конвейере 5, удаляя негодные для переработки плоды, и элеватором 6 поднимают к приемному сборнику 7, ополаскивая плоды струей чистой воды. Яблоки из сборника в необходимом количестве (в зависимости от производительности пресса) подают на дробилку 8. Измельченная плодовая масса немедленно направляется насосом 9 на прессование 10. Полученный сок в установке для прессования очищают от возможных крупных частиц и после пастеризатора-охладителя 11 направляют в одну из емкостей для депектинизации. Выжимки от прессования измельчают на мешалке при возможной добавке воды и направляют в емкости для брожения.
Сок после пастеризации и охлаждения (45 .50 °С) сначала направляют в промежуточный сборник 22, откуда дозировочным насосом 24 он засасывается в емкости для депектинизации. По пути в трубопровод вводят пектолитический препарат при помощи дозатора 23 и перемешивают его в трубчатом статическом смесителе 21. Процессы депектинизации и осветления протекают в зависимости от вида применяемого препарата. Если препарат для осветления требует охлаждения сока, то его после депектинизации через охладитель 20 перекачивают в емкости для осветления 19 и добавляют препарат вручную. Если охлаждения не требуется, сок в этом случае не перекачивают, а препарат для осветления вводят в емкость для депектинизации.
По окончании депектинизации и осветления образовавшийся на дне емкости осадок перекачивают в сборник для приемки осадка 18, откуда его направляют насосом 17 в фильтр 16.
Полученный таким образом сок с помощью насоса перекачивают в сборник 19, куда добавляют сок, полученный от фильтрации осадка. Смесь соков еще раз направляют на фильтр 14 для получения полностью осветленного сока, готового к фасованию в бутылки.
Этот сок собирают в приемном сборнике 13, а потом направляют на линию фасования в бутылки, где он предварительно деаэрируется и пастеризуется.
Фасование сока в бутылки происходит при 80 °С с последующей дополнительной пастеризацией и охлаждением в туннельном пастеризаторе-охладителе.
Техническая характеристика комплекса технологического оборудования для производства осветленного яблочного сока
Производительность по сырью, кг/ч 3000
Общая установленная мощность оборудования, кВт 106,85
Общий расход:
воды, м3/ч .12
пара, т/ч ……… 500
Численность обслуживающего персонала, чел 12
3. Сырьевая потребность
Сырьё – яблоки Антоновка.
Готовый продукт- яблочный сок.
Производительность- 1т / сутки
Режим работы- 12 часов,1 смена, 7 раз в неделю.
Таблица 2. Нормы выхода
|
Характеристика сырья |
в % и массе сырья |
коэффициент расхода сырья на единицу продукции | |
|
всего отходов и потерь |
выход готовой продукции | ||
|
Яблоки |
57,6 |
40 |
4,3 |
где Q1 – расход сырья, кг;
Q2 – масса готового продукта, кг;
р – сумма отходов и потерь по технологическим операциям, % к массе исходного сырья.
р1, р2, р3…рn – отходы и потери по технологическим операциям, % к массе сырья или п/ф, поступившего на данную операцию;
n – число технологических операций.
Таблица 3. Выход полуфабриката по технологическим операциям
|
Технологическая операция |
Отходы и потери, % |
Движение сырья и полуфабрикатов, кг | |||||
|
на 100 кг |
в смену (сутки) |
в час | |||||
|
поступает |
отходы и потери |
поступает |
отходы и потери |
поступает |
отходы и потери | ||
|
1. Прием сырья |
- |
1119 |
- |
G3 |
- |
|
- |
|
2. Мойка |
2 |
1119 |
G3 |
G3 | |||
|
3. Дробление |
4 | ||||||
|
4. Измельчение |
5 |
П |
| ||||
4. Аппаратное оснащение
Подбор и расчет технологического оборудования (на примере производства яблочного сока)
Необходимое количество оборудования непрерывного действия определяем по формуле
где:
N – производительность на данной операции;
М – часовая производительность машины;
μ – коэффициент использования оборудования (0,8 – 0,9).
