Виды космических аппаратовРефераты >> Авиация и космонавтика >> Виды космических аппаратов
План
КОСМИЧЕСКИЕ АППАРАТЫ ИССЛЕДОВАНИЯ ПРИРОДНЫХ РЕСУРСОВ ЗЕМЛИ И КОНТРОЛЯ ОКРУЖАЮЩЕЙ СРЕДЫ СЕРИИ РЕСУРС-Ф
КОСМИЧЕСКИЕ АППАРАТЫ КОСМИЧЕСКОЙ ТЕХНОЛОГИИ И МАТЕРИАЛОВЕДЕНИЯ ФОТОН
КОСМИЧЕСКИЕ АППАРАТЫ КОСМИЧЕСКОЙ МЕДИЦИНЫ И БИОЛОГИИ БИОН
СПИСОК ИСПОЛЬЗОВАННЫХ ИСТОЧНИКОВ
КОСМИЧЕСКИЕ АППАРАТЫ ИССЛЕДОВАНИЯ ПРИРОДНЫХ РЕСУРСОВ ЗЕМЛИ И КОНТРОЛЯ ОКРУЖАЮЩЕЙ СРЕДЫ СЕРИИ РЕСУРС-Ф
Для исследования природных ресурсов Земли и контроля окружающей среды разработана космическая система Ресурс-Ф, которая включает в себя КА Ресурс-Ф1 и Ресурс-Ф2, являющиеся КА серии Зенит третьего поколения.
Общий вид КА Ресурс-Ф1 приведен на рис. 1. Аппарат периодически запускается с 1981г. РН Союз. Масса КА 6300 кг, масса научной аппаратуры 800 кг.
Вначале КА Ресурс-Ф1 выводится РН на промежуточную орбиту. Далее с использованием КДУ формируется рабочая орбита в диапазоне высот 250 - 400 км и наклонением к плоскости экватора 63…83°. Параметры рабочих орбит выбираются из условия обеспечения сплошного покрытия поверхности Земли полосами захвата фотоаппаратуры с необходимым поперечным перекрытием на заданной географической широте. Поддержание заданного значения поперечного перекрытия в процессе полета КА осуществляется за счет проведения соответствующих маневров на орбите.
КА Ресурс-Ф1 может находиться на орбите до 25 суток. Из них 11 суток аппарат находится в дежурном режиме, т.е. с выключенными системой ориентации и некоторыми другими бортовыми системами. Наличие дежурного режима позволяет увеличить срок существования КА на орбите и обеспечивает 2-х кратное покрытие части межвиткового интервала, используемое для повторного фотографирования.
Наряду с выполнением основной задачи полета - проведения фотосъемок поверхности Земли, КА типа Ресурс-Ф способен выводить на орбиту научную аппаратуру для проведения различных экспериментов в условиях космического пространства.
Научная аппаратура может находиться в спускаемом аппарате и в контейнере научной аппаратуры, установленном на поверхности СА. Научная аппаратура работает в космосе при открытой крышке контейнера. Перед спуском крышка закрывается, и научная аппаратура доставляется на Землю. Установленная снаружи КА научная аппаратура не возвращается на Землю, информация с нее может передаваться только по радиотелеметрической системе.
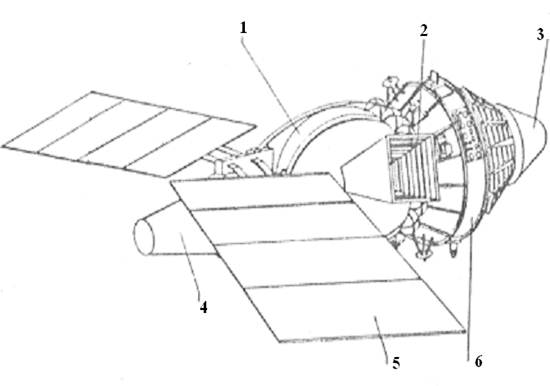
Рис.1 Общий вид КА Ресурс – Ф1
1 – бленда звездного фотоаппарата; 2 – спускаемый аппарат; 3 – тормозная двигательная установка; 4 – корректирующая двигательная установка; 5 – приборный отсек
Рис. 2 Схема фотографирования КА Ресурс-Ф1
В комплекс исследовательской аппаратуры КА зондирования включены:
- три широкоформатных топографических аппарата КАТЭ-200 с размером кадра 180х180 мм и фокусным расстоянием 200 мм для съемок в спектральных диапазонах 510 ‑ 600, 600 ‑ 700, 700 ‑ 850 нм, позволяющие получать синхронные снимки территорий с разрешением до 15 ‑ 20 м (в каждом аппарате по 1800 кадров);
- два длиннофокусных широкоформатных аппарата КФА-1000 с размером кадра 300х300 мм и фокусным расстоянием 1000 мм, ведущие съемку в спектральном диапазоне 570 ‑ 800 нм, позволяющие получать спектрозональные снимки (в каждом аппарате по 1200 кадров) с разрешением до 6 - 8 м, которое последующей обработкой может быть улучшено до 2 - 4 м.
В составе фотоаппаратуры КА имеется звездный аппарат для определения элементов внешнего ориентирования КА (фотографирование звезд до 5 звездной величины) с целью координатной привязки осей космического аппарата в пространстве в момент выполнения съемки и анализа особенностей его перемещения- Точность определения углового положения составляет 40 - 60.
Бортовой комплекс управления КА обеспечивает проведение многозональной (КАТЭ-200) и спектрозональной (КФА-1000) съемок совместно и по отдельности (предусмотренно шесть различных режимов работы, отличающихся друг от друга числом одновременно включаемых фотокамер).
Ширина полосы фотографирования и фотографируемая площадь с высоты 250 км составляет соответственно 225 км и 27 млн. км2 при многозональной съемке и 147 км и 16 млн. км2 при спектрозональной съемке.
Следует отметить, что диапазон широт наблюдения (±83°) обеспечивает практически глобальный обзор территории земного шара. Во время полета с наземных пунктов осуществляется управление и телеметрический контроль работы космического аппарата.
С помощью КА типа Ресурс-Ф1 обеспечивается получение высококачественной картографической информации в масштабах 1: 1000000 и 1: 200000.
Основные технические характеристики КА Ресурс-Ф1 и фотоаппаратуры приведены в табл.1 и 2.
Схема фотографирования КА Ресурс-Ф1 показана на рис.2.
Космический аппарат Ресурс-Ф2, общий вид которого показан на рис. 3, запускается с 1988г. РН Союз и обеспечивает синхронную многозональную и спектрозональную (или цветную) фотосъемку поверхности Земли с высоким разрешением. Аппарат функционирует на околокруговых орбитах в диапазоне высот 210…450 км с наклонением орбиты к плоскости экватора 63°…83° Масса КА Ресурс-Ф2 6300…6450 кг.
В отличие от КА Ресурс-Ф1 в космическом аппарате Ресурс-Ф2 используется система электропитания на базе солнечной энергетической установки, что позволяет увеличить время активного существования до 30 суток. В КА установлена высокоинформативная многозональная фотокамера МК-4, которая обеспечивает фотографирование в четырех зонах спектра из шести возможных (см. табл.1). МК-4 позволяет получать многозональные снимки с разрешением 5-8 м, спектрозональные снимки с разрешением 8-12 м. В каждый кадр снимка впечатывается необходимая информация: номер кадра, код бортового времени, значение фактической выдержки, координатные кресты, фотометрический клин (устройство для ослабления светового потока).
В составе фотоаппаратуры КА Ресурс-Ф2 имеется звездная камера для определения элементов внешнего ориентирования КА. Фотоаппаратура позволяет при необходимости проводить многозональную съемку в сочетании со спектрозональной и цветной фотосъемкой.
Время активного существования (до 30 суток) дает возможность осуществить двух - трехкратное покрытие всего межвиткового интервала, поэтому здесь не предусматривается дежурный режим.
Основные технические характеристики КА Ресурс-Ф2 и фотокамеры МК-4 приведены в таблицах 3.1 и 3.2.
С помощью КА Ресурс-Ф2 возможно картографирование земной поверхности в масштабе 1: 50 000. Проведение фотосъемок с заданным продольным перекрытием обеспечивает стереоскопичность снимков.
Доставка информации на Землю осуществляется, как и в КА Ресурс-Ф1 в спускаемом аппарате.
На КА Ресурс-Ф2 может устанавливаться дополнительная исследовательская аппаратура.
