Описание экспериментальных стендов СВС-2 и Т-131Б для моделирования условий полетаРефераты >> Авиация и космонавтика >> Описание экспериментальных стендов СВС-2 и Т-131Б для моделирования условий полета
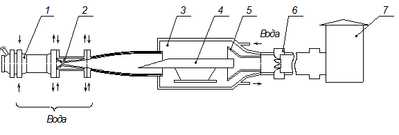
Воздух, через трубопровод высокого давления, обогащаясь в смесителе газообразным кислородом, поступает через отверстия в топливном коллекторе в камеру сгорания. Через форсунки топливного коллектора в камеру сгорания подается керосин, который смешивается с воздухом. Образующаяся керосин - кислород - воздушная горючая смесь поджигается от факела пламени из пускового блока и сгорает в камере сгорания.
Область работы воздухоподогревателя представлена на рис. 6. Верхняя граница области работы по давлению Pt и температуре Тt газа в воздухоподогревателе в настоящее время ограничена максимальным располагаемым давлением в топливной системе Рт=10 МПа. Нижняя граница определяется минимально возможным перепадом давления на топливных форсунках Рт=0.2 МПа, при котором сохраняется устойчивая работа воздухоподогревателя. Правая граница -Тt=2350 К - определяется предельным расходом кислорода 1.5 кг/с, а левая Tt=850 К - пределами воспламенения и стабилизации горения керосина в воздухоподогревателе.
При проведении испытаний на Т-131В необходимо учитывать, что термодинамические свойства и состав продуктов воздухоподогревателя отличаются от чистого воздуха.
2.1.2 Аэродинамические сопла
Изменение числа М потока на стенде Т-131Б осуществляется за счет установки различных аэродинамических сопел. Для стенда разработаны осесимметричные профилированные охлаждаемые сопла, рассчитанные на числа М=5; 6; 7; 8; 9; 10. Диаметр выходного сечения всех сопел одинаков и составляет 400мм.
Техника расчета сверхзвуковых сопел при
хорошо разработана. Однако следует иметь в виду, что число М потока на выходе из сопла для того рода установок зависит не только от геометрии сопла, но и от режима воздухоподогревателя по коэффициенту избытка воздуха или окислителя и температуры потока.
2.1.3 Рабочая камера
Рабочая камера представляет собой камеру Эйфеля телескопического типа с оптическим отсеком для наблюдения за потоком. Такая конструкция камеры позволяет обеспечить установку и проведение испытаний крупногабаритных моделей.
Испытуемые модели устанавливаются в рабочей части стенда на специальном охлаждаемом поддоне. При испытаниях осесимметричных или плоских моделей ГПВРД на нулевом угле атаки можно использовать модели с условным диаметром входа Dm=140¸220мм и длиной Lm£2300мм. Если необходимо проводить весовые испытания модели, то на поддон устанавливается динамометрическая платформа, на которую устанавливается модель. Динамометрическая платформа представляет собой шестикомпонентные статически определимые тензовесы. Весы рассчитаны на измерение сил, действующих на испытуемый объект при запуске трубы и в стационарном режиме. Весы содержат шесть динамометров, на которых закреплена платформа с испытуемым объектом. Модель при весовых испытаниях закрывается кожухом, чтобы исключить влияние на весы внешнего потока.
Модель в рабочей части стенда устанавливается таким образом, чтобы сечение входа в воздухозаборник полностью находилась в зоне равномерных скоростей на выходе из сопла даже при нерасчетном истечении из сопла.
2.2 Стендовый диффузор и система эксгаустирования
Энергетические характеристики эксгаустерной системы, обеспечивающей работу стенда Т-131Б, зависит как от восстановления давления в стендовом диффузоре, так и от характеристик эжектора.
Диффузор стенда работает по схеме разделения потоков на внешний, обтекающий модель ГПВРД и внутренний, проходящий через модель. Оба потока тормозятся в отдельных каналах. Диффузор, тормозящий внешний поток, представляет собой сначала сужающийся, а затем постоянного сечения кольцевой канал с площадью сечения 0,16м2 и длиной 4м. внутренний диффузор представляет собой цилиндрический канал с постоянной площадью сечения 0.035м2 и длиной 3м, который непосредственно примыкает к выходу модели ГПВРД.
Такая схема диффузора позволяет не только обеспечить эффективное восстановление давления в потоке на стенде, но и обеспечить расчетное истечение на выходе из модели ГПВРД.
Эжектор состоит из четырех ступеней. В каждой ступени по радиусу трубы равномерно по окружности расположены в два ряда плоские сопла. Корпус выхлопного диффузора трубы, предшествующий эжектору, и первая ступень камеры смешения эжектора охлаждаются водой, что обеспечивает его надежную работу.
Запуск аэродинамической трубы с различными числами М определяется располагаемым перепадом давления, который может быть обеспечен на сопле. Давление на входе определяется возможностями воздухоподогревателя Ро£11МПа. Давление на выходе зависит как от эффективности работы диффузора, так и от эффективности работы эжектора.
ЛИТЕРАТУРА
1. Щетинков Е.С. Исследование характеристик и условий работы идеального ПВРД при сверхзвуковых скоростях полета. Научно-технический сборник пионеры ракетной техники. Вып. 2. Москва. 2000.
2. Бондарюк М.М., Ильяшенко С.М. Прямоточные воздушно-реактивные двигатели. Оборонгиз. Москва. 1958.
3. Курзинер Р.И. Реактивные двигатели для больших сверхзвуковых скоростей полета. Москва. Машиностроение. 1989.
4. Ремеев Н.Х. Аэродинамика воздухозаборников сверхзвуковых самолетов. Издательский отдел центрального аэрогидродинамического института имени проф. Н.Е. Жуковского (ЦАГИ), 2002
5. Мещеряков Е.А. Характеристики огневого воздухоподогревателя гиперзвуковой аэродинамической трубы. Труды ЦАГИ. Выпуск № 2491. 1990.
6. Физические измерения в газовой динамике и при горении. под. ред. Ланденбурга. М. Иностранная литература. 1957.
7. Поуп А., Гойн К. Аэродинамические трубы больших скоростей. Изд. “Мир”, 1968г.
ПРИЛОЖЕНИЕ
Рис.1. Принципиальная схема АДТ СВС-2
Рис. 2. Рабочие диапазоны полного давления и числа Re АДТ СВС-2 переменной плотности
Рис. 3. Режимы течения в рабочей части СВС-2
Рис.4. Принципиальная схема АДТ Т-131Б
Рис. 5. Схема воздухоподогревателя
Рис. 6. Область работы подогревателя
