Комбикормовый цех на базе оборудования ОЦКРефераты >> Ботаника и сельское хоз-во >> Комбикормовый цех на базе оборудования ОЦК
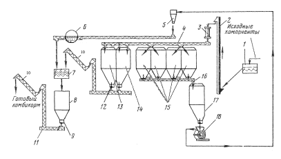
Зерновые компоненты и промышленное белково-витаминные добавки подаются со склада на вибросепаратор, где очищаются от посторонних включений, норией и загрузочным шнеком через магнитную колонку загружаются в бункера размольно-смесительного отделения. Четыре бункера предназначены для зерновых компонентов, один — для готовых БВД и один — для травяной муки в рассыпном виде. При помощи пневматической управляющей машины в соответствии с заданным рецептом осуществляются последовательное дозирование каждого компонента и подача пневмотранспортером на порционные весы.
Сформированная порция зернового компонента через распределитель поступает в промежуточный бункер, а из него в дробилку ДБ-5. Дерть подается в бункер над порционным смесителем. В освободившиеся порционные весы в соответствии с заданным рационом последовательно подаются и взвешиваются порции БВД и травяной муки, которые также подаются в бункер над порционным смесителем. Подготовленная последовательно порция кормов массой до 500 кг засыпается в порционный смеситель для перемешивания. Затем цикл повторяется. Приготовленная смесь кормов выгружается из смесителя и подается на склад или в блок гранулирования, если в комбикорма добавляют жир, мочевину или мелассу, то смесь кормов подается в другой смеситель, в который дозированное загружаются перечисленные жидкие компоненты. При этом мелассу подогревают и при необходимости смешивают с карбамидом. После этого готовый комбикорм норией подается на склад или в блок гранулирования.
Оператор управляет работой ОЦК-4 с пульта управления. Производительность цеха 4 т/ч, установленная мощность 220 кВт.
Механизация приготовления кормолекарственных смесей при помощи передвижной установки УКС-1 на месте вспыхнувшего заболевания позволяет быстро ликвидировать его.
1-вибросепаратор; 2-нория; 3-магнитная колонка; 4-загрузочный шнек; 5-циклон; 6- просеивающее устройство;7-порционные весы; 8-бункер; 9-порциальный смеситель; 10 - наклонный шнек; 11 - нижний шнек; 12 - шнековый дозатор; 13-бункер для готовых БВД; 14 – бункер для травяной муки; 15 - зерновой бункер; 16 - дозирующий шнек; 17 –промежуточный бункер;18- дробилка.
Рисунок 3. Технологическая схема комбикормовый цех ОЦК-4
3. Выбор конкретной схемы
1-вибросепаратор; 2-нория; 3-магнитная колонка; 4-загрузочный шнек; 5-циклон; 6- просеивающее устройство;7-порционные весы; 8-бункер; 9-порциальный смеситель; 10 - наклонный шнек; 11 - нижний шнек; 12 - шнековый дозатор; 13-бункер для готовых БВД; 14 – бункер для травяной муки; 15 - зерновой бункер; 16 - дозирующий шнек; 17 –промежуточный бункер;18 - дробилкаДБ-5.
Рисунок 4. Технологическая схема комбикормовый цех ОЦК-4
Из перечисленных существующих схем кормоцехов для приготовления комбикормов по данным задания нам подходит комбикормовый цех ОЦК-4, схема которого представлена на рисунке 4.
4. Технологический расчет и подбор оборудования
В задании дано:
1- производительность цеха 20тонн в смену,
2- камбикорм идет на корм различным видам животным и птицы,
3- работа в 2 смены.
Производительность оборудования ОЦК-4 тонны в час, тогда одна смена работает 5 часов, то есть первая работает с 8 часов до 13 часов, вторая с 14 часов до 19 часов.
5. Энергетический расчет
W=tосв *Pосв+ tоцк *Pоцк,
где tосв- время работы освещения, ч.; tосв=11часов (с8 часов до 19часов),
Pосв- производительная мощность освещения, кВт.; Pосв=7кВт,
tоцк - время работы оборудования ОЦК-4, ч.;
tоцк= tоцк(1 смена)+ tоцк(2 смена),
где tоцк(1 смена)- время работы оборудования ОЦК-4 за первую смену, tоцк(1 смена)=5часов,
tоцк(2 смена)- время работы оборудования ОЦК-4 за вторую смену, tоцк(2 смена)=5часов
Тогда
tоцк=5+5=10часов
Pоцк- производительная мощность оборудования ОЦК-4, кВт.; Pоцк=220кВт
Тогда
W=11*7+10*220=2277кВт*ч
6. График работы оборудования и график установленных мощностей
Для построения графика оборудования и график установленных мощностей, нам потребуется мощность двигателей всего технологического процесса:
Мощность оборудования ОЦК-4, Pоцк=220кВт
Перед построением графиков, занесем имеющиеся данные в таблицы 1 и 2.
Таблица 1- Время работы оборудования
|
Оборудование (марка) |
Время работы, ч | |
|
начало |
конец | |
|
1 |
2 |
3 |
|
1 |
2 |
3 |
|
освещение |
8ч. |
19ч. |
|
ОЦК-4(1) |
8ч. |
13ч. |
|
ОЦК-4(2) |
14ч. |
19ч. |
Таблица 2- Данные к графику установленных мощностей
|
Обозначение позиций |
Марка машины |
Общее время работы t, ч и мин |
Мощность Р, кВт |
|
І |
лампы |
11 ч. или 660 мин. |
7 |
|
ІІ |
ОЦК-4(1) |
5 ч. или 300 мин. |
220 |
|
ІІІ |
ОЦК-4(2) |
5 ч. или 300 мин. |
220 |
По данным таблиц 1 и 2 строим график работы оборудования и график установленных мощностей.
7. Технико-экономические показатели, техника безопасности и противопожарные мероприятия
Технико-экономические показатели
При оценке мероприятиях связанных с внедрением средств механизации в животноводство используются количественные и качественные показатели.
1)Количественные показатели характеризуют уровень оснащения производственных процессов машинами и другим:
а) объем механизированных работ;
б) уровень механизации производственных процессов. Этот уровень характеризуется отношением поголовья скота, которое обслуживается при помощи машин к общему поголовью скота;
