Машины и оборудование для механизации малых животноводческих фермРефераты >> Ботаника и сельское хоз-во >> Машины и оборудование для механизации малых животноводческих ферм
Доильная аппаратура имеет 9 комплектов, каждый из которых включает в себя двухтактный аппарат АДУ-1 и ведро вместимостью 19 л. Число пульсов в минуту 65±5, соотношение длительности тактов сосания и сжатия 2:1. Вакуум-провод выполнен из водогазопро-водных труб диаметром 25,4 мм. Устройство промывки — циркуляционного типа с поступательно-возвратным движением жидкости, промывает молокопроводящие пути доильного аппарата, крышку и доильное ведро. Число импульсов в минуту 0,5—2. Каждый оператор может промывать свою доильную аппаратуру независимо от других, которые в это время продолжают доить коров.
Приготовленный моюще-дезинфицирующий раствор из пластмассового промывочного ведра, входящего в комплект устройства, засасывается в такте сосания через доильный аппарат в доильное ведро, а в такте слива через вырезы в центральном штуцере крышки доильного ведра вытекает по шлангу обратно. Так промывается доильная аппаратура, а затем по той же схеме ополаскивается чистой водой.
При обслуживании стада до 100 коров на агрегате ДАС-2В работают три оператора машинного доения, до 30 коров — один.
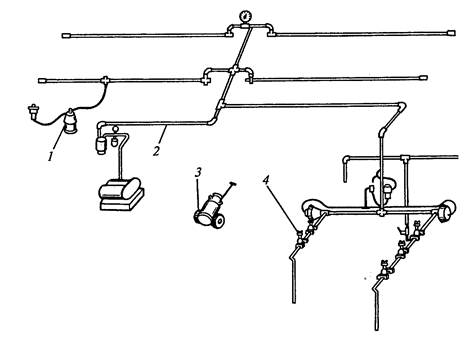
Рис. 2. Доильный агрегат стационарный ДАС-2В:
1 — доильная аппаратура ДПР.31.000; 2 — вакуум-провод ДПР.32.000; 3 — тележка для перевозки фляг ДПР.03.000; 4 — устройство промывки ДПР.35.000
2. МАЛОГАБАРИТНОЕ ОБОРУДОВАНИЕ ДЛЯ ПЕРЕРАБОТКИ И ХРАНЕНИЯ ПРОДУКЦИИ
Для сохранения качества первичной животноводческой продукции (молока, мяса) в любое время года ее подвергают температурному воздействию (пастеризации, копчению, охлаждению и др.) или перерабатывают на более устойчивый для хранения продукт (масло, сыр, копчености, колбасы и др.).
Охладитель молока ОМВ-Ф-8. Для хранения в специальной среде в течение 20 ч свежевыдоенного молока в стандартных бидонах используют охладитель. Он выполнен в виде открытой водяной ванны 1 (рис. 3), подключенной к электрической сети. В конце ванны расположен холодильный агрегат, соединенный посредством терморегулирующего вентиля с испарителем-аккумулятором трубчатого типа. Ванна имеет слой теплоизоляции 4 и облицована ударопрочным покрытием 5 из полистирола.
Автоматический режим работы охладителя задается с пульта управления через реле температуры и датчики, установленные в водяной ванне. Реле температуры контролирует величину наморозки льда, а также включение и выключение насоса для перемешивания хладоносителя. Холодильный агрегат защищен ограждением. Решетка, размещенная над аккумулятором льда, предназначена для установки бидонов.
Охладитель работоспособен в условиях температуры окружающей среды 10—35 °С и относительной влажности не более 85 %.
На животноводческой ферме до 100 коров достаточно иметь один охладитель, он гарантирует сохранность и качество молока.
Работает охладитель в автоматическом режиме. Через 3—4 ч на испарителе образуется достаточное количество льда для охлаждения 200 м3 молока, и холодильный агрегат автоматически отключается. С этого момента можно устанавливать в водяную ванну бидоны с молоком, после чего автоматически включается электронасос хладоносителя (хладагент Р22), который работает в заданном режиме охлаждения молока. По истечении 2—2,2 ч процесс охлаждения заканчивается, и молоко готово к отправке. Охладитель продолжает работу в автоматическом режиме, и следующая остановка холодильного агрегата указывает на его готовность к новому циклу охлаждения.
Рис. 3. Охладитель молока ОМВ-Ф-8:
1 — водяная ванна; 2 — испаритель-аккумулятор льда; 3 — решетка для установки бидонов; 4 — слой теплоизоляции; 5 — ударопрочное покрытие; 6 — охлаждение холодильного агрегата; 7 — бидон с молоком; 8 — холодильный агрегат; 9 — пульт управления; 10 — электронасос
Универсальный молочный бидон-охладитель АДМ-18-000. Отечественная промышленность выпускает его в комплекте оборудования молочной.
Устройство бидона-охладителя показано на рис. 4. Назначение универсального бидона-охладителя — сбор, фильтрация и охлаждение молока. При доении в молокопровод учитывается молоко от группы коров с помощью мерной линейки. Молоко охлаждается холодной водой из любого источника. Вместимость бидона 185 л. Масса 42 кг.
Рис. 4. Бидон-охладитель
1 — металлический каркас; 2 — комбинированный корпус; 3 — крышка с патрубками
Молоко, поступающее под вакуумом из молокопровода, собирается в приемном бачке в верхней части бидона-охладителя. Из приемного бачка оно самотеком тонкими струйками распределяется по всей внутренней поверхности, охлаждаясь на стенках бидона. Охлаждающая вода омывает стенки снаружи, собирается в емкости под бидоном и возвращается в резервуар для охлаждения или технологических нужд.
Молоко охлаждается до температуры на 5—6 °С выше температуры охлаждаемой воды при трехкратном ее расходе.
Сепараторы-сливкоотделители. Их используют для разделения 1 молока (цельного) на сливки и обрат (обезжиренное молоко). Аппараты состоят из трех основных частей: привода, барабана, приемно-выводного устройства.
Электрические сепараторы-сливкоотделители в качестве привода имеют мотор-редуктор или один электродвигатель, на ручных сепараторах используется редуктор с рукояткой.
Для фермерских хозяйств, которые не специализируются на молочном скотоводстве, повышенный интерес представляют сепараторы с ручным приводом. Работа на них не требует больших усилий, и достаточно безопасна, в ней могут принимать участие и дети.
Небольшие по размерам и массе, простые в эксплуатации и надежные в работе, эти машины — незаменимые помощники в хозяйстве: за 30 мин работы можно получить от 3 до 6 кг сливок различной жирности и 18—22 кг обезжиренного до 0,05 %-ной жирности молока (обрата). В процессе сепарирования сливки и обрат очищаются и от механических примесей, оставшихся в молоке после процеживания.
Краткие технические данные ручных сепараторов приведены в табл. 1.
Таблица 1
Технические характеристики ручных сепараторов-сливкоотделителей
|
Характеристика |
«Зорька» |
«Плава» |
«Урал» |
«Сатурн» |
«Волга» |
|
Производительность, л/ч |
30 |
50 |
50 |
50 |
100 |
|
Частота вращения барабана, мин-1 Масса, кг |
1140 6,5 |
9500 8 |
9700 8 |
10000 5-10 |
9200 22 |
